TOP
|
特許
|
意匠
|
商標
特許ウォッチ
Twitter
他の特許を見る
公開番号
2025130648
公報種別
公開特許公報(A)
公開日
2025-09-08
出願番号
2024040531
出願日
2024-02-27
発明の名称
折りたたみ工具
出願人
個人
代理人
主分類
B25F
1/04 20060101AFI20250901BHJP(手工具;可搬型動力工具;手工具用の柄;作業場設備;マニプレータ)
要約
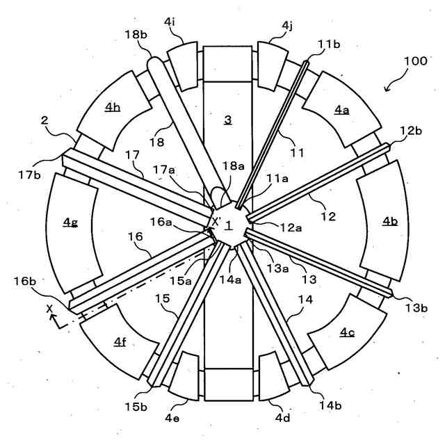
【課題】使用する工具を簡単に取り出すことができる折りたたみ工具を提供する。
【解決手段】折りたたみ工具100は、一端11aに刃先を有する六角レンチ11と、六角レンチ11の刃先を着脱可能に保持する保持部1と、鉛直方向からの平面視において保持部1を取り囲み、かつ保持部1を支持する支持部3を有する棒状の枠体2と、を備える。六角レンチ11の他端11bは、枠体2を軸として鉛直方向に刃先が回動可能に枠体2に取り付けられている。六角レンチ11の収納状態では刃先が保持部1に保持され、六角レンチ11の展開状態では刃先が保持部1から離れる。
【選択図】図1
特許請求の範囲
【請求項1】
一端に刃先を有する工具と、
前記工具の刃先を着脱可能に保持する保持部と、
鉛直方向からの平面視において前記保持部を取り囲み、かつ前記保持部を支持する支持部を有する棒状の枠体と、
を備え、
前記工具の他端は、前記枠体を軸として鉛直方向に前記刃先が回動可能に前記枠体に取り付けられており、
前記工具の収納状態では前記刃先が前記保持部に保持され、前記工具の展開状態では前記刃先が前記保持部から離れる、
折りたたみ工具。
続きを表示(約 440 文字)
【請求項2】
前記枠体は、鉛直方向からの平面視において輪環型である、
請求項1に記載の折りたたみ工具。
【請求項3】
前記刃先は、強磁性体であって、
前記保持部は、磁石である、
請求項1に記載の折りたたみ工具。
【請求項4】
前記枠体における前記工具の他端の位置を決める位置決め部をさらに備える、
請求項1に記載の折りたたみ具。
【請求項5】
前記工具は、刃先の種類又は刃先のサイズが互いに異なる複数である、
請求項1から4のいずれか一項に記載の折りたたみ工具。
【請求項6】
複数の前記工具は、マイナスドライバー及び互いに2面幅が異なる複数の六角レンチである、
請求項5に記載の折りたたみ工具。
【請求項7】
複数の前記六角レンチは、7本であって、
前記マイナスドライバーは、1本である、
請求項6に記載の折りたたみ工具。
発明の詳細な説明
【技術分野】
【0001】
本発明は、折りたたみ工具に関する。
続きを表示(約 1,200 文字)
【背景技術】
【0002】
折りたたみポケットナイフのように、複数の工具が折りたたまれ、一個で複数の機能を有する折りたたみ工具が知られている。折りたたみ工具は、複数の工具をコンパクトに収納できるため、持ち運びやすいうえ、多機能であるため、利便性が非常に高い。
【0003】
特許文献1には、自転車用の折りたたみ工具が開示されている。特許文献1に開示された自転車用の折りたたみ工具は、基部分及びこの基部分から延びている一対の細長い平行の間隔を隔てた脚部分を有するU字形の本体と、脚部分の間の空間に横方向にかかった軸と、複数の異なる細長い工具と、本体に取り付けられた取っ手と、を備える。当該工具は、本体の脚部分の間に受け入れられる保管位置と本体から離れる方向に延びる展開位置との間で軸を中心に選択的にそれぞれ回動できるように軸に取り付けられている。
【0004】
特開平05-212684号公報
【発明の概要】
【発明が解決しようとする課題】
【0005】
上記特許文献1に開示された折りたたみ工具は、取っ手が保管位置を覆うように本体に取り付けられている。このため、工具が保管位置に収納されている状態では、工具の刃先が視認しづらく刃先を判別しにくいという不都合がある。また、複数の工具が保管位置に平行に配置されるため、使用したい工具のみを取り出すのが煩雑になり、時間がかかる点で改善の余地がある。
【0006】
本発明は、上記実情に鑑みてなされたものであり、使用する工具を簡単に取り出すことができる折りたたみ工具を提供することを目的とする。
【課題を解決するための手段】
【0007】
本発明に係る折りたたみ工具は、
一端に刃先を有する工具と、
前記工具の刃先を着脱可能に保持する保持部と、
鉛直方向からの平面視において前記保持部を取り囲み、かつ前記保持部を支持する支持部を有する棒状の枠体と、
を備え、
前記工具の他端は、前記枠体を軸として鉛直方向に前記刃先が回動可能に前記枠体に取り付けられており、
前記工具の収納状態では前記刃先が前記保持部に保持され、前記工具の展開状態では前記刃先が前記保持部から離れる。
【0008】
前記枠体は、鉛直方向からの平面視において輪環型である、
こととしてもよい。
【0009】
前記刃先は、強磁性体であって、
前記保持部は、磁石である、
こととしてもよい。
【0010】
上記本発明に係る折りたたみ工具は、
前記枠体における前記工具の他端の位置を決める位置決め部をさらに備える、
こととしてもよい。
(【0011】以降は省略されています)
この特許をJ-PlatPat(特許庁公式サイト)で参照する
関連特許
個人
フラワーホッチキス。
27日前
個人
手持ち挟持具
5日前
川崎重工業株式会社
ロボット
1か月前
株式会社不二越
ロボット
1か月前
株式会社竹中工務店
補助セット
1か月前
川崎重工業株式会社
ハンド
1か月前
株式会社マキタ
ハンマドリル
14日前
株式会社マキタ
ハンマドリル
14日前
株式会社不二越
移動ロボットシステム
1か月前
トヨタ自動車株式会社
ロボット
1か月前
工機ホールディングス株式会社
作業機
1か月前
株式会社不二越
エッジ仕上げ装置
1か月前
本田技研工業株式会社
装置
1か月前
川崎重工業株式会社
塗装システム
1か月前
株式会社安川電機
ロボット
11日前
株式会社三共コーポレーション
工具保持具
5日前
株式会社不二越
垂直多関節ロボット
1か月前
トヨタ自動車株式会社
軌道生成装置
1か月前
トヨタ自動車株式会社
ロボットハンド
11日前
工機ホールディングス株式会社
作業機
1か月前
アネックスツール株式会社
ドライバービット
1か月前
ライオン株式会社
移載システム
1か月前
シンフォニアテクノロジー株式会社
搬送装置
1か月前
株式会社不二越
ロボットに用いる伝送路
24日前
株式会社マキタ
現場用作業機
20日前
ワールド技研株式会社
ロボットセル装置
1か月前
川崎重工業株式会社
ワーク搬送ロボット
1か月前
株式会社マキタ
回転打撃工具
1か月前
セイコーエプソン株式会社
ロボット
1か月前
NTN株式会社
ハンド
1か月前
倉敷紡績株式会社
ハンドおよびコネクタ接続方法
1か月前
トヨタ自動車株式会社
ロボットの制御装置
1か月前
山九株式会社
レンチ保持治具
1か月前
NTN株式会社
作業装置
1か月前
川崎重工業株式会社
ロボット
1か月前
株式会社マキタ
作業機
17日前
続きを見る
他の特許を見る