TOP
|
特許
|
意匠
|
商標
特許ウォッチ
Twitter
他の特許を見る
公開番号
2025132291
公報種別
公開特許公報(A)
公開日
2025-09-10
出願番号
2024029731
出願日
2024-02-29
発明の名称
製函機
出願人
株式会社三協システム
代理人
個人
主分類
B25J
15/06 20060101AFI20250903BHJP(手工具;可搬型動力工具;手工具用の柄;作業場設備;マニプレータ)
要約
【課題】組立前の紙製収納箱シートの吸着面がフラットでない場合であっても良好に吸着保持して製函工程を行うことのできる製函機を提供する。
【解決手段】組立前の紙製収納箱シート7から紙製収納箱8を組み立てる製函機10は、ロボットアーム15と、ロボットアーム15の先端に装着される、紙製収納箱シート7を吸着保持する吸着ヘッド20であって、吸着方向に移動しないように位置が固定された固定吸着パッド25と、吸着方向に移動可能なバッファ付き吸着パッド30と、を有する吸着ヘッド20と、固定吸着パッド25及びバッファ付き吸着パッド30に接続されて負圧を供給する真空ポンプライン37と、を備える。また、真空ポンプライン37は、固定吸着パッド25とバッファ付き吸着パッド30に選択的に負圧を供給するための切換バルブ38を備える。
【選択図】図1
特許請求の範囲
【請求項1】
組立前の紙製収納箱シートから紙製収納箱を組み立てる製函機において、
ロボットアームと、
前記ロボットアームの先端に装着される、前記紙製収納箱シートを吸着保持する吸着ヘッドであって、
吸着方向に移動しないように位置が固定された固定吸着パッドと、
吸着方向に移動可能なバッファ付き吸着パッドと、
を有する吸着ヘッドと、
前記固定吸着パッド及び前記バッファ付き吸着パッドに接続された負圧を供給する真空ポンプラインと、
を備えることを特徴とする製函機。
続きを表示(約 450 文字)
【請求項2】
前記真空ポンプラインは、前記固定吸着パッドと前記バッファ付き吸着パッドに選択的に負圧を供給するための切換バルブを備えることを特徴とする請求項1記載の製函機。
【請求項3】
前記バッファ付き吸着パッドは自重によりスライド軸に沿って両方向に移動可能に構成されていることを特徴とする請求項1記載の製函機。
【請求項4】
前記バッファ付き吸着パッドが先端まで移動した際に、
前記バッファ付き吸着パッドが先端まで移動した際には、前記バッファ付き吸着パッドのパッド本体は、前記固定吸着パッドのパッド本体よりも先端側に突出するように構成されていることを特徴とする請求項3記載の製函機。
【請求項5】
前期吸着ヘッドにより吸着した前記紙製収納箱シートを前記ロボットアームにより移動させながら製函工程を行う際には、前記吸着ヘッドは、前記固定吸着パッドにより前記紙製収納箱シートを本吸着して保持していることを特徴とする請求項2記載の製函機。
発明の詳細な説明
【技術分野】
【0001】
本発明は、紙製収納箱を組み立てる製函機に関する。
続きを表示(約 1,600 文字)
【背景技術】
【0002】
従来から、組立前の段ボール箱シート(紙製収納箱シート)をロボットアームの先端に装着された吸着ヘッドにより吸着保持した状態で製函処理を行う製函機が開示されており、例えば、下記特許文献1,2に開示されている。
【先行技術文献】
【特許文献】
【0003】
特開2005-1304号公報
特開2021-10971号公報
【発明の概要】
【発明が解決しようとする課題】
【0004】
しかし、上記特許文献1,2に開示された製函機では、吸着ヘッドに設置された複数の吸着パッドの吸着面が同一平面上に位置するように固定されているため、段ボール箱シートの被吸着面がフラットでない場合には、全ての吸着パッドを被吸着面に同時に接触させて吸着することができず、段ボール箱シートの吸着保持が不安定となってしまうおそれがある。
【0005】
例えば、製函装置で使用する組立前の段ボール箱シートが積層された場所から供給される際には、多数の段ボール箱シートが正確に揃えて積み上げられているのはまれであり、吸着対象となる最上段の段ボール箱シートは全体がフラットでない場合も多く、従来の吸着ヘッドでは、良好な吸着保持が実現できない場合があった。
【0006】
本発明は、このような課題に鑑みてなされたものであり、組立前の紙製収納箱シートの吸着面がフラットでない場合であっても良好に吸着保持して製函工程を行うことのできる製函機を提供することを目的とする。
【課題を解決するための手段】
【0007】
上記課題を解決するために、本発明に係る製函機は、組立前の紙製収納箱シートから紙製収納箱を組み立てる製函機において、ロボットアームと、前記ロボットアームの先端に装着される、前記紙製収納箱シートを吸着保持する吸着ヘッドであって、吸着方向に移動しないように位置が固定された固定吸着パッドと、吸着方向に移動可能なバッファ付き吸着パッドと、を有する吸着ヘッドと、前記固定吸着パッド及び前記バッファ付き吸着パッドに接続されて負圧を供給する真空ポンプラインと、を備えることを特徴とする。
【発明の効果】
【0008】
本発明に係る製函機によれば、吸着方向に移動しないように位置が固定された固定吸着パッドと、吸着方向に移動可能なバッファ付き吸着パッドとを備えることで、組立前の紙製収納箱シートの吸着面がフラットでない場合にも良好な吸着保持を実現することができる。
【図面の簡単な説明】
【0009】
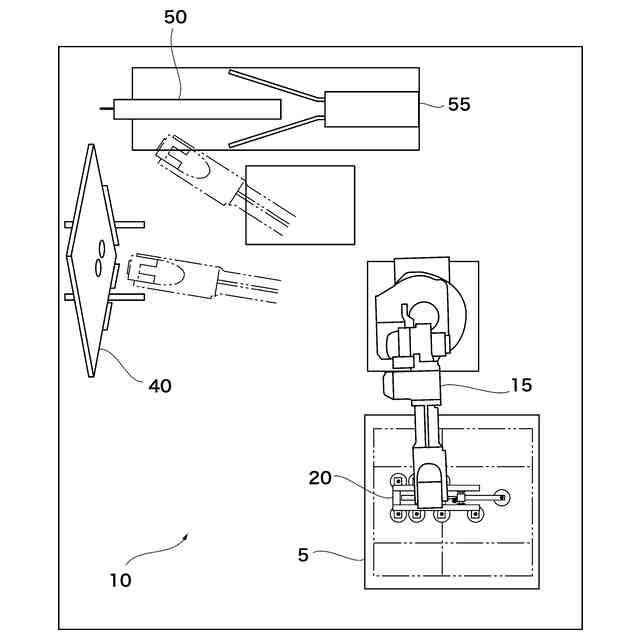
図1は、本発明の実施形態に係る製函機の構成を示す図である。
図2は、本発明の実施形態に係る吸着ヘッドの構成を示す図である。
図3は、本発明の実施形態に係る仮置き部の構成を示す図である。
図4は、本発明の実施形態に係る仮置き部の機能を説明するための図である。
図5は、本発明の実施形態に係る段ボール箱シート供給部の段ボール箱シートを吸着保持する処理を説明するための図である。
図6は、本発明の実施形態に係る仮置き部における段ボール箱シートの側面を起こす処理を説明するための図である。
図7は、本発明の実施形態に係る仮置き部における段ボール箱シートの側面を起こす処理を説明するための図である。
【発明を実施するための形態】
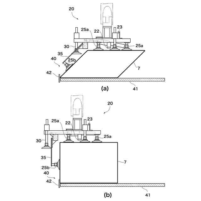
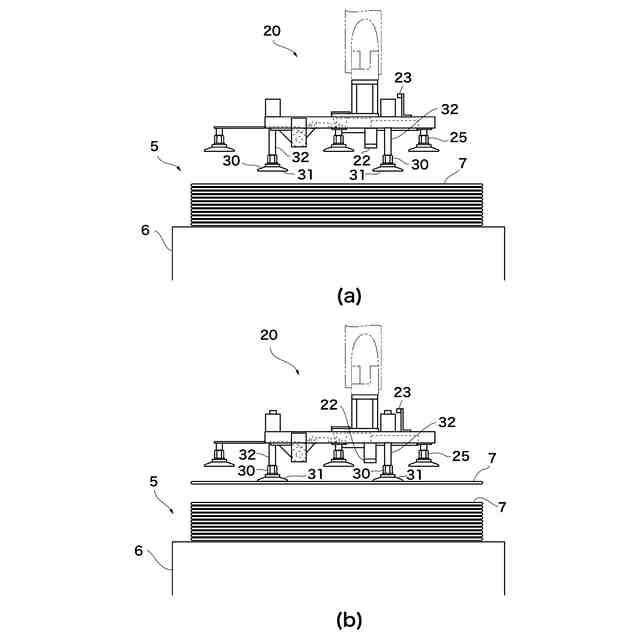
【0010】
以下、図面を参照しながら、本実施形態に係る製函機10について説明する。本実施形態では、吸着される段ボール箱シート7の表面が多少斜めになっていたり凹凸があったりしても、吸着ヘッド20により良好に吸着して製函工程を行うことができることを特徴とする。
(【0011】以降は省略されています)
この特許をJ-PlatPat(特許庁公式サイト)で参照する
関連特許
個人
手持ち挟持具
1か月前
CKD株式会社
把持装置
3日前
トヨタ自動車株式会社
学習装置
18日前
ダイセイ株式会社
ロボット自動刻印装置
3日前
株式会社マキタ
ハンマドリル
1か月前
株式会社マキタ
ハンマドリル
1か月前
瓜生製作株式会社
電動締付工具
11日前
株式会社安川電機
ロボット
1か月前
株式会社三共コーポレーション
工具保持具
1か月前
株式会社不二越
垂直多関節ロボット
18日前
株式会社マキタ
集塵アタッチメント
10日前
トヨタ自動車株式会社
ロボットハンド
1か月前
株式会社マキタ
現場用作業機
1か月前
株式会社不二越
ロボットに用いる伝送路
1か月前
学校法人立命館
ロボットハンド制御システム
1か月前
株式会社マキタ
作業機
1か月前
NTN株式会社
把持装置
3日前
ニデックインスツルメンツ株式会社
産業用ロボット
1か月前
株式会社マキタ
電動工具
18日前
トヨタ自動車株式会社
モバイルマニピュレータ
1か月前
国立大学法人東京科学大学
多自由度入力装置用制御装置
10日前
ファナック株式会社
経路データセット生成
1か月前
株式会社人機一体
有脚ロボット
1か月前
株式会社ケイズベルテック
物品定量取り分け装置
1か月前
株式会社田村製作所
エンドエフェクタ及びロボット装置
1か月前
積水ハウス株式会社
固定ピン保持用アタッチメント
1か月前
株式会社マキタ
インパクト工具
1か月前
ダイハツ工業株式会社
ロボット制御システム
3日前
株式会社秦製作所
ジャック差込口ナット締め用の供回り防止レンチ
19日前
泰芳機械股分有限公司
コレット収納装置
1か月前
株式会社デンソー
ワーク投入装置
1か月前
カツデン株式会社
回転工具用治具
1か月前
日本発條株式会社
ケーブルユニット及びその製造方法
1か月前
パナソニック株式会社
インパクト工具
3日前
久維科技(蘇州)有限公司
締結部材打込み機
1か月前
パナソニック株式会社
インパクト回転工具
18日前
続きを見る
他の特許を見る