TOP
|
特許
|
意匠
|
商標
特許ウォッチ
Twitter
他の特許を見る
公開番号
2025170728
公報種別
公開特許公報(A)
公開日
2025-11-19
出願番号
2024084396
出願日
2024-05-07
発明の名称
ジャック差込口ナット締め用の供回り防止レンチ
出願人
株式会社秦製作所
代理人
主分類
B25B
13/00 20060101AFI20251112BHJP(手工具;可搬型動力工具;手工具用の柄;作業場設備;マニプレータ)
要約
【課題】ジャック差込口ナット締め用の供回り防止レンチを提供する。
【解決手段】レンチ本体内部のナットの供回りを防ぐ先端がシールド形状の回り止めピンとナットに嵌って緩みを締めるソケットとを備え、その2つの部品の可動を確保しつつ一体化して片手での操作を可能にするジョイント部からなる。
【選択図】図5
特許請求の範囲
【請求項1】
ジャック差込口のナット締めレンチであって、レンチ本体内部のナットの供回りを防ぐ先端がシールド形状の回り止めピンとナットに嵌って緩みを締めるソケットとを備え、その2つの部品の可動を確保しつつ一体化して片手での操作を可能にするジョイント部からなるジャック差込口ナット締め用の供回り防止レンチ。
発明の詳細な説明
【技術分野】
【0001】
エレキギターなどの楽器をはじめ、アンプやイヤホンなど通電するワイヤーのジョイント部であるジャック差込口のナットが緩んだ時にジャック差込口ナット締め用の供回り防止レンチ(以下本レンチという)内部の回り止めピンが本体差込口内側ナットの板バネにフィットして供回りを防止しつつ、本体を分解せずに外側から片手で1つの道具で締めなおすことを可能にした一体型ソケットレンチである。
続きを表示(約 2,300 文字)
【背景技術】
【0002】
ジャック差込口のナットが緩んだ場合、これまでは片手で締めなおすことができず、両手を使って一方の手でジャックを押さえながら供回りを防ぎ、もう一方の手でナットを回して緩みを締める作業が必要であった。または本体を分解して内部のナットを一方の手で押さえて供回りを防ぎながらもう一方の手でレンチ等を用いて差込口外側のナットの緩みを締めなおす必要があった。
【先行技術文献】
【非特許文献】
【0003】
ギターワークスのBLG「ジャックの種類と交換方法」 https://www.guitarworks.jp/blog/%E3%83%91%E3%83%BC%/E3%83%84-863
【発明の概要】
【】
エレキギター等の表面に取り付けられたジャック差込口のナットが緩んだ場合に、差込口外側から回り止めピンを差し込んで本体内側のナットと一体化している板バネの形状に回り止めピンの先のシールド形状をフィットさせることで本体内側のナットの供回りを防ぎ、本体を分解することなく且つ片手でその緩みを締めなおす仕組みの道具。
【発明が解決しようとする課題】
【0004】
エレキギターなどの楽器をはじめ、アンプやイヤホンなど通電するワイヤーのジョイント部である本体表面に取り付けられたジャック差込口のナットが緩んだ場合に、差込口外側から回り止めピンを差し込んで本体内側のナットと一体化している板バネの形状に回り止めピンの先のシールド形状をフィットさせることで本体内側のナットの供回りを防ぐため、本体を分解することなく且つ片手でその緩みを締めなおすことができる一体型レンチを提供することにある。
【課題を解決するための手段】
【0005】
本発明はジャック差込口のナット締めレンチであって、レンチ本体内部のナットの供回りを防ぐために先端がシールド形状に加工した回り止めピンとジャック差込口外側のナットに嵌って緩みを締めるソケットとを備え、その2つの部品の可動を確保しつつ一体化して片手での操作を可能にするジョイント部からなるジャック差込口ナット締め用の供回り防止レンチである。
【発明の効果】
【0006】
エレキギターなどの楽器をはじめ、アンプやイヤホンなど通電するワイヤーのジョイント部であるジャック差込口のナットの緩みを締めなおす場合、これまでは片方の手で本体内側のナットの供回りを防ぐためにペンチなどを用いてネジ部を押さえながらもう片方の手で本体外側のナットの緩みを締めなおす必要があった。または本体を分解して一方の手でジャック差込口本体の内部のナットを固定しながらもう一方の手でナットを締める必要があった。いずれにしても両方の手が必要であったが、この一体型レンチは外側から回り止めピンを差し込んで本体内側ナットと一体化した板バネに回り止めピン先端のシールド形状をフィットさせることによって、本体を分解することなく本体内側のナットの供回りを防止しつつ片手で且1つの道具によってナットの緩みを矯正することを可能にした。
【図面の簡単な説明】
【0007】
ジャック差込口ナット締め用の供回り防止レンチの全体図
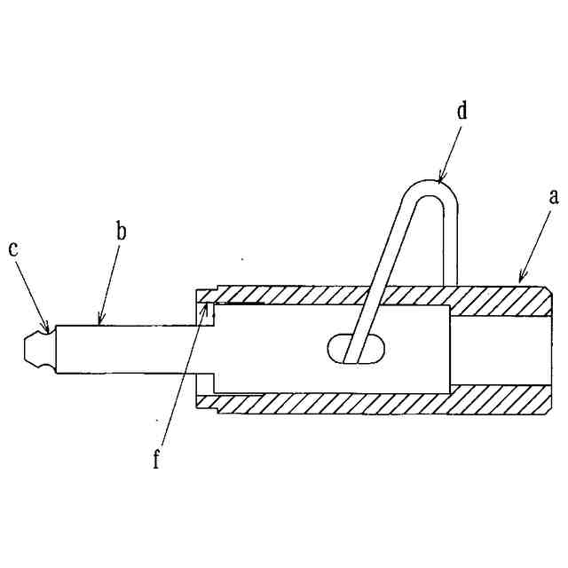
ジャック差込口ナット締め用の供回り防止レンチの分解図 a.ソケット部(12ポイント) b.回り止めピン(先端がシールド形状) c.回り止めピン先端シールド形状部分の拡大図 d.a.とb.をつなぐジョイントリング e.a.とb.をジョイントリングを接続後に切れ目を塞ぐビニールパイプ o.ソケット切り掛け部(ナット胴体の切込み止まり部分)
ジャック差込口 g.本体内側ナット h.本体外側ナット i.ジャック差込口本体ネジ部 j.板バネ k.板バネ突起部 l.ジャック差込口の本体プレート内側 m.ジャック差込口の本体プレート外側 n.ジャック差込口の本体プレート
ジャック差込口ナット締め用供回り防止レンチのソケット部を切断した図 Fはソケット内側締め付け用12ポイントを指す
実施図(ソケットを外側ナットに嵌めて回す図)
実施図(ソケットを外側ナットからいったん外してソケットを回し戻す図)
完了図(ソケットを再度外側ナットに嵌めて回して締めた図)
【 実施例】
【0008】
図1はジャック差込口ナット締め用の供回り防止レンチの全体図を表している。
図2は図1の分解図を表し5部品で構成されている。
図3はジャック差込口本体を表す。
図4ジャック差込口ナット締め用の供回り防止レンチのソケット部を切断した図で、図5から図7は実施するにあたり説明用の資料として下記に展開する。
【0009】
本体プレート(n)と本体外側のナット(h)が緩んで隙間ができたとき、図5のようにジャック差込口ナット締め用の供回り防止レンチをジャックに差し込み、回り止めピン
(b)の先端シールド部(c)と板バネ突起部(k)をフィットさせる。
【0010】
図5はソケット(a)内側12ポイント(f)と本体外側のナット(h)を勘合させソケットを時計回りに回しジョイントリング(d)にソケット(a)の切り掛け部(o)が当たるまでソケット(a)を回すとソケット(a)が回った分だけナットは締まる。当たった状態ではソケット(a)は回らない。
(【0011】以降は省略されています)
この特許をJ-PlatPat(特許庁公式サイト)で参照する
関連特許
株式会社秦製作所
ジャック差込口ナット締め用の供回り防止レンチ
22日前
個人
フラワーホッチキス。
1か月前
個人
手持ち挟持具
1か月前
トヨタ自動車株式会社
学習装置
21日前
CKD株式会社
把持装置
6日前
ダイセイ株式会社
ロボット自動刻印装置
6日前
株式会社マキタ
ハンマドリル
1か月前
株式会社マキタ
ハンマドリル
1か月前
瓜生製作株式会社
電動締付工具
14日前
株式会社安川電機
ロボット
1か月前
株式会社やまびこ
電動作業機
今日
株式会社不二越
垂直多関節ロボット
21日前
株式会社マキタ
集塵アタッチメント
13日前
株式会社三共コーポレーション
工具保持具
1か月前
新電元工業株式会社
インピーダンス制御装置
今日
トヨタ自動車株式会社
ロボットハンド
1か月前
株式会社マキタ
現場用作業機
1か月前
株式会社不二越
ロボットに用いる伝送路
1か月前
住友重機械工業株式会社
ロボット教示装置
1日前
パナソニック株式会社
工具
今日
NTN株式会社
把持装置
6日前
株式会社マキタ
電動工具
21日前
学校法人立命館
ロボットハンド制御システム
1か月前
ニデックインスツルメンツ株式会社
産業用ロボット
1か月前
株式会社マキタ
作業機
1か月前
トヨタ自動車株式会社
モバイルマニピュレータ
1か月前
株式会社マキタ
電動作業機
1日前
国立大学法人東京科学大学
多自由度入力装置用制御装置
13日前
株式会社人機一体
有脚ロボット
1か月前
株式会社田村製作所
エンドエフェクタ及びロボット装置
1か月前
ファナック株式会社
経路データセット生成
1か月前
株式会社ケイズベルテック
物品定量取り分け装置
1か月前
株式会社マキタ
インパクト工具
1か月前
ダイハツ工業株式会社
ロボット制御システム
6日前
積水ハウス株式会社
固定ピン保持用アタッチメント
1か月前
日本発條株式会社
ケーブルユニット及びその製造方法
1か月前
続きを見る
他の特許を見る