TOP
|
特許
|
意匠
|
商標
特許ウォッチ
Twitter
他の特許を見る
公開番号
2025181023
公報種別
公開特許公報(A)
公開日
2025-12-11
出願番号
2024088757
出願日
2024-05-31
発明の名称
電動作業機
出願人
株式会社やまびこ
代理人
弁理士法人IPX
主分類
B25F
5/00 20060101AFI20251204BHJP(手工具;可搬型動力工具;手工具用の柄;作業場設備;マニプレータ)
要約
【課題】傾けながら作業する際の操作性及び視認性の双方を向上可能な電動作業機等を提供する。
【解決手段】電動作業機は、本体ケースと、作業工具と、モータと、バッテリと、ハンドルと、トリガーレバーと、スイッチパネルとを備える。作業工具は、本体ケースの前部から前方に突出して構成される。モータは、本体ケースに収容され、作業工具を駆動させるように構成される。ハンドルは、本体ケースから突出し、把持されることが可能に形成される。トリガーレバーは、ハンドルの下面に配置され、引かれることでバッテリからモータに電力を供給可能となり、スイッチパネルは、ハンドルの上面に配置され、電源スイッチを含む。電源スイッチは、オンの状態でモータを駆動可能となり、オフの状態でモータの駆動を停止させるように構成される。スイッチパネルは、右側から左側、又は左側から右側に向けて、斜め下向きに傾斜して構成される。
【選択図】図1
特許請求の範囲
【請求項1】
電動作業機であって、
本体ケースと、作業工具と、モータと、バッテリと、ハンドルと、トリガーレバーと、スイッチパネルとを備え、
前記作業工具は、前記本体ケースの前部から前方に突出して構成され、
前記モータは、前記本体ケースに収容され、前記作業工具を駆動させるように構成され、
前記バッテリは、前記本体ケースに着脱可能に配置され、前記モータに電力を供給するように構成され、
前記ハンドルは、前記本体ケースから突出し、把持されることが可能に形成され、
前記トリガーレバーは、前記ハンドルの下面に配置され、引かれることで前記バッテリから前記モータに電力を供給可能となり、
前記スイッチパネルは、前記ハンドルの上面に配置され、電源スイッチを含み、
前記電源スイッチは、オンの状態で前記モータを駆動可能となり、オフの状態で前記モータの駆動を停止させるように構成され、
前記スイッチパネルは、右側から左側、又は左側から右側に向けて、斜め下向きに傾斜して構成される、
電動作業機。
続きを表示(約 910 文字)
【請求項2】
請求項1に記載の電動作業機において、
さらに、横ハンドルを備え、
前記横ハンドルは、前記本体ケースの側面に取り付けられ、前記本体ケースの外周において延びるように形成され、
前記スイッチパネルは、前記横ハンドルが取り付けられていない側から前記横ハンドルが取り付けられている側に向けて、又は、前記横ハンドルにおける把持されることが不可能な側から前記横ハンドルにおける把持されることが可能な側に向けて、斜め下向きに傾斜して構成される、
電動作業機。
【請求項3】
請求項2に記載の電動作業機において、
前記スイッチパネルは、さらに、表示灯を含み、
前記表示灯は、前記電源スイッチのオンオフの状態を表示し、
前記表示灯は、前記電源スイッチに対して、前記横ハンドルが取り付けられていない側、又は、前記横ハンドルにおける把持されることが不可能な側に配置される、
電動作業機。
【請求項4】
請求項2に記載の電動作業機において、
前記電源スイッチは、前記ハンドルの左右方向における中央を通過している前後方向の軸線に対して、前記横ハンドルが取り付けられている側、又は、前記横ハンドルにおける把持されることが可能な側に配置される、
電動作業機。
【請求項5】
請求項1に記載の電動作業機において、
前記電源スイッチは、前記ハンドルの左右方向における中央を通過している前後方向の軸線上に配置される、
電動作業機。
【請求項6】
請求項1に記載の電動作業機において、
前記電源スイッチは、平面視において、前記トリガーレバーの位置に重ならない位置に配置される、
電動作業機。
【請求項7】
請求項1に記載の電動作業機において、
前記スイッチパネルは、曲面状に形成される、
電動作業機。
【請求項8】
請求項1に記載の電動作業機において、
前記電動作業機は、チェンソーである、
電動作業機。
発明の詳細な説明
【技術分野】
【0001】
本発明は、電動作業機に関する。
続きを表示(約 1,400 文字)
【背景技術】
【0002】
特許文献1には、作業機が開示されている。
【0003】
刈払機(作業機)は、電動モータによって駆動される作業工具を備え、作業者がグリップを把持して作業工具によって作業をするものであり、グリップには、電動モータを操作する操作ボタンを操作用基板に配設した操作パネルと、操作ボタンによる電動モータの操作状態を表示する表示ランプを表示用基板に配設した表示パネルとを設け、操作パネルと表示パネルとを互いに近接する位置にて分離して配置した。当該刈払機は、当該刈払機の通常の使用状態にて作業者がグリップを把持したときに、表示パネルの表示面を作業者の顔を向く方向に配置したことを特徴とする。
【先行技術文献】
【特許文献】
【0004】
特開2016-096752号公報
【発明の概要】
【発明が解決しようとする課題】
【0005】
しかしながら、特許文献1に開示された作業機は、通常の使用状態での表示パネルの視認性は向上し得るが、例えば作業機を傾けながら作業する際の操作性や視認性を向上させるものではない。
【0006】
本発明では上記事情を鑑み、傾けながら作業する際の操作性及び視認性の双方を向上可能な電動作業機等を提供することとした。
【課題を解決するための手段】
【0007】
本発明の一態様によれば、電動作業機が提供される。この電動作業機は、本体ケースと、作業工具と、モータと、バッテリと、ハンドルと、トリガーレバーと、スイッチパネルとを備える。作業工具は、本体ケースの前部から前方に突出して構成される。モータは、本体ケースに収容され、作業工具を駆動させるように構成される。バッテリは、本体ケースに着脱可能に配置され、モータに電力を供給するように構成される。ハンドルは、本体ケースから突出し、把持されることが可能に形成される。トリガーレバーは、ハンドルの下面に配置され、引かれることでバッテリからモータに電力を供給可能となり、スイッチパネルは、ハンドルの上面に配置され、電源スイッチを含む。電源スイッチは、オンの状態でモータを駆動可能となり、オフの状態でモータの駆動を停止させるように構成される。スイッチパネルは、右側から左側、又は左側から右側に向けて、斜め下向きに傾斜して構成される。
【0008】
このような態様によれば、傾けながら作業する際の操作性及び視認性の双方を向上させることができる。
【図面の簡単な説明】
【0009】
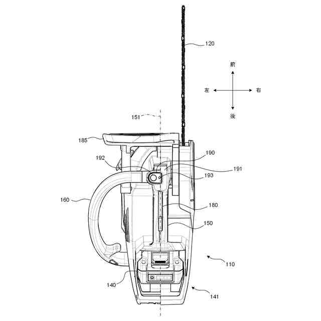
チェンソー100の斜視図である。
チェンソー100の斜視図である。
チェンソー100の背面からスイッチパネル190を見た図である。
スイッチパネル190の各部と軸線151との配置関係を示す平面図である。
スイッチパネル290の各部と軸線151との配置関係を示す平面図である。
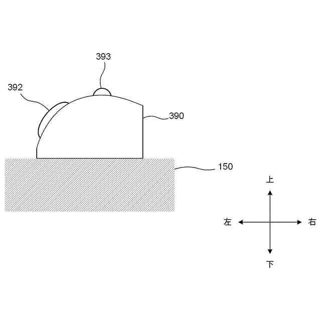
チェンソー100の背面からスイッチパネル390を見た図である。
【発明を実施するための形態】
【0010】
以下、図面を用いて本発明の実施形態について説明する。以下に示す実施形態中で示した各種特徴事項は、互いに組み合わせ可能である。
(【0011】以降は省略されています)
この特許をJ-PlatPat(特許庁公式サイト)で参照する
関連特許
株式会社やまびこ
電動作業機
今日
株式会社やまびこ
作業機及び吊り下げプレート
1か月前
株式会社やまびこ
吊り下げプレート及び作業機
1か月前
個人
フラワーホッチキス。
1か月前
個人
手持ち挟持具
1か月前
CKD株式会社
把持装置
6日前
トヨタ自動車株式会社
学習装置
21日前
川崎重工業株式会社
ハンド
2か月前
ダイセイ株式会社
ロボット自動刻印装置
6日前
株式会社マキタ
ハンマドリル
1か月前
株式会社マキタ
ハンマドリル
1か月前
瓜生製作株式会社
電動締付工具
14日前
トヨタ自動車株式会社
ロボット
2か月前
工機ホールディングス株式会社
作業機
2か月前
株式会社安川電機
ロボット
1か月前
川崎重工業株式会社
塗装システム
2か月前
トヨタ自動車株式会社
軌道生成装置
2か月前
株式会社やまびこ
電動作業機
今日
株式会社不二越
垂直多関節ロボット
21日前
株式会社三共コーポレーション
工具保持具
1か月前
株式会社マキタ
集塵アタッチメント
13日前
新電元工業株式会社
インピーダンス制御装置
今日
工機ホールディングス株式会社
作業機
2か月前
トヨタ自動車株式会社
ロボットハンド
1か月前
株式会社マキタ
回転打撃工具
2か月前
株式会社マキタ
現場用作業機
1か月前
川崎重工業株式会社
ワーク搬送ロボット
2か月前
株式会社不二越
ロボットに用いる伝送路
1か月前
住友重機械工業株式会社
ロボット教示装置
1日前
パナソニック株式会社
工具
今日
山九株式会社
レンチ保持治具
2か月前
ニデックインスツルメンツ株式会社
産業用ロボット
1か月前
株式会社マキタ
電動工具
21日前
NTN株式会社
把持装置
6日前
株式会社マキタ
作業機
1か月前
学校法人立命館
ロボットハンド制御システム
1か月前
続きを見る
他の特許を見る