TOP
|
特許
|
意匠
|
商標
特許ウォッチ
Twitter
他の特許を見る
10個以上の画像は省略されています。
公開番号
2025166865
公報種別
公開特許公報(A)
公開日
2025-11-07
出願番号
2024071023
出願日
2024-04-25
発明の名称
ワーク投入装置
出願人
株式会社デンソー
代理人
弁理士法人服部国際特許事務所
主分類
B25J
15/08 20060101AFI20251030BHJP(手工具;可搬型動力工具;手工具用の柄;作業場設備;マニプレータ)
要約
【課題】 物の隙間を通してワークを投入するとき、物を損傷することなしに、物の隙間にワークを通過させるワーク投入装置を提供する。
【解決手段】リール投入装置1は、薄板円筒状のリール2を両面側から把持可能な第1ハンド4及び第2ハンド5を備える。ロボット41のアームは、アクチュエータ32を所定位置へ搬送し、第1ハンド4と第2ハンド5で把持するリール2を投入位置へ搬送する。搬送途中にテープや他のリールなどの物が混雑した状態であるとき、第1ハンド4と第2ハンド5の先端部9と平坦面12が当該物を掻き分け、当該物の隙間を通過した後の投入位置に至る。これにより、当該物の隙間を通して、当該物に損傷を与えることなしに、先端部9を当該物間の空間に入り込み、投入位置にリールを送り込む。その投入位置で第1ハンド4と第2ハンド5の把持を解除すると、それまで把持されていたリール2を解放し、リール2は自重で目的地に転がり移動する。
【選択図】図1
特許請求の範囲
【請求項1】
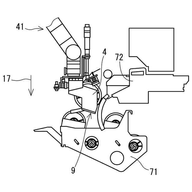
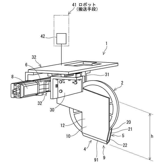
薄板円筒状のワーク(2)を両面側から把持可能な第1ハンド(4)及び第2ハンド(5)と、
ワークを把持した状態で前記第1ハンドと前記第2ハンドが生成する先端部(9、1
4、24)と、
前記第1ハンドと前記第2ハンドの把持と解除を切り替えるアクチュエータ(32)と、
前記アクチュエータを駆動する駆動部(8)と、
前記駆動部を所定位置に搬送する搬送手段(41)と、を備えたワーク投入装置。
続きを表示(約 810 文字)
【請求項2】
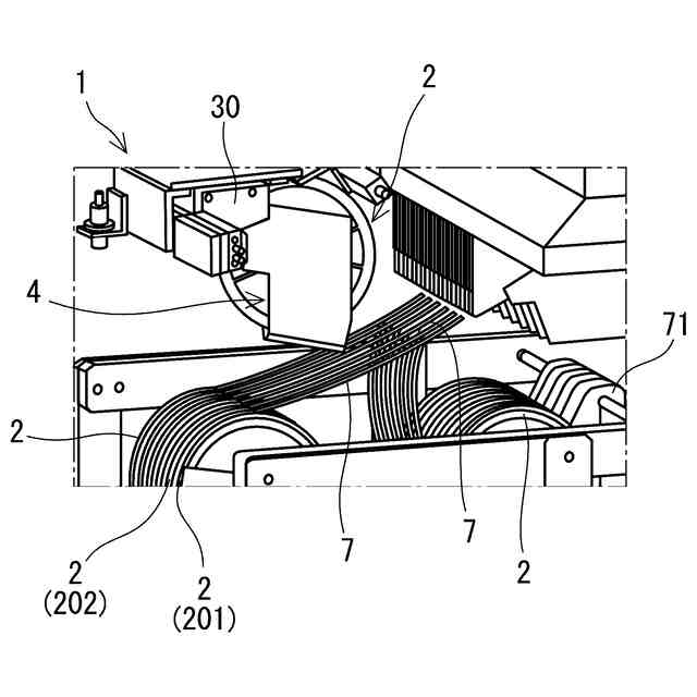
前記第1ハンド及び前記第2ハンドは、内壁でワークを把持可能な把持面(11、21)と、障害物(2、7、201、202)を掻き分ける前記先端部を有する請求項1に記載のワーク投入装置。
【請求項3】
前記第1ハンド及び前記第2ハンドは、前記先端部に連なる互いに平行な平坦面(12、22)を有する請求項1又は2に記載のワーク投入装置。
【請求項4】
前記先端部は、外形が尖った形状部(91)を有し、当該形状部は直線状に延びている請求項1又は2に記載のワーク投入装置。
【請求項5】
前記第1ハンドと前記第2ハンドは、把持状態から解除状態に切替えたときワークを転動可能に支持可能な転がり支持部(13、23)を有する請求項1又は2に記載のワーク投入装置。
【請求項6】
前記転がり支持部は、内壁に平坦状に形成され、前記第1ハンド及び前記第2ハンドの解除状態時にワークを転動可能に支持可能な傾斜面である請求項5に記載のワーク投入装置。
【請求項7】
前記第1ハンド又は前記第2ハンドの内壁はフッ素樹脂層を有する請求項1又は2に記載のワーク投入装置。
【請求項8】
前記第1ハンド又は前記第2ハンドのハンド本体はスティール製である請求項1又は2に記載のワーク投入装置。
【請求項9】
前記搬送手段は、3次元の任意の位置に移動可能なアーム(43)を有するロボット(41)である請求項1又は2に記載のワーク投入装置。
【請求項10】
第1ハンド及び第2ハンドでワークを把持する工程と、
ワークを把持した状態で把持部を目的地の前位置に移動する工程と、
目的地の前記前位置で前記ハンドによるワークの把持を解除し、解放されたワークを転がし、目的地へ搬入する工程と、を含むワーク投入方法。
発明の詳細な説明
【技術分野】
【0001】
ワーク投入装置及びワーク投入方法に関する。
続きを表示(約 1,700 文字)
【背景技術】
【0002】
特許文献1に示す部品供給装置は、電子部品を保持したテープを所定長さずつ送る複数の部品供給装置を小ピッチ間隔で配置するため、テープを巻回したリールを取り付けるリールスタンドの位置を上下に違えることができることを開示している。ここに、リールスタンドがフレームに対して複数位置間で移動可能に連結されているので、複数台の部品供給装置をベースに取り付ける際、リールスタンドを移動させてその位置を異ならせ、それら位置の異なる部品供給装置を交互に配置することにより、リールの幅寸法よりも小さなピッチで取り付けることができる。
【先行技術文献】
【特許文献】
【0003】
特開平8-204385号公報
【発明の概要】
【発明が解決しようとする課題】
【0004】
特許文献1では、リールスタンドが上下方向に回動可能に設けられているので、1種類の部品供給装置で上側リールの部品供給装置と下側リールの部品供給装置とを構成できる。従って、部品供給装置をリールの幅寸法Wよりも小なるピッチで配置するために、1種類の部品供給装置だけで済んでいる。
【0005】
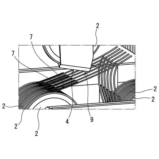
従来の部品供給装置は、複数のリールが小ピッチで配置されると、複数のリールから引き出されるテープが混雑し、複数のテープの隙間の奥にリールを入れるのが困難になる。リールの中心軸の軸方向に複数のリールが並ぶ状態では、各リールから引き出された複数のテープが混雑した状態では、複数のテープ間の隙間が狭いため、リールの交換時に、複数のテープの隙間にリール又は当該リールを保持する保持具を通過させることが困難であった。
【0006】
リールが当該隙間を通過したとしても、その隙間を通過した後の空間(通路)を通してリールを目的地に到達させるまでの道のりに干渉物が多く、リール又は当該リールの保持具がテープを損傷させてしまうという問題がある。
【0007】
本発明は、上述に鑑みてなされたものであり、その目的は、物の隙間を通してワークを投入するとき、物を損傷することなしに、物の隙間にワークを通過させるワーク投入装置を提供することにある。
【課題を解決するための手段】
【0008】
本発明のワーク投入装置は、薄板円筒状のワーク(2)を両面側から把持可能な第1ハンド(4)及び第2ハンド(5)と、
ワークを把持した状態で前記第1ハンドと前記第2ハンドが生成する先端部(9、1
4、24)と、
前記第1ハンドと前記第2ハンドの把持と解除を切り替えるアクチュエータ(32)と、
前記アクチュエータを駆動する駆動部(8)と、
前記駆動部を所定位置に搬送する搬送手段(41)とを備えた構成を採用する。
【0009】
本発明によると、搬送手段により駆動部を搬送し、搬送途中にテープや他のワークなどの物があっても、当該物の隙間を通して、当該物に損傷を与えることなしに、先端部を当該物間の空間に入り込み、投入位置にワークを送り込むことができる。
【0010】
したがって、本ワーク投入装置によれば、ワークを投入するとき、当該物に相当する例えば複数のテープが二次元又は三次元に混雑する空間にあっても、両ハンドの外壁で形成される面間距離に相当する厚さL2の薄い両ハンドは、複数のテープ隙間を通過することができる。
このため、テープ等の当該物の隙間を掻き分け、当該物の少ない空間で投入位置までワークを搬送することができる。その投入位置で第1ハンドと第2ハンドの把持を解除すると、それまで把持されていたワークを解放し、ワークは自重で低位置に転がり移動する。
当該物の存在する空間で当該物に損傷を与えることなしに、両ハンドを投入位置で把持状態から解除状態に移行すると、投入位置から解放された円筒状のワークは、自重で転がり、目的地に到達することができる。
【図面の簡単な説明】
(【0011】以降は省略されています)
この特許をJ-PlatPat(特許庁公式サイト)で参照する
関連特許
株式会社デンソー
分離体
14日前
株式会社デンソー
端子台
8日前
株式会社デンソー
ロータ
1日前
株式会社デンソー
ロータ
1日前
株式会社デンソー
電動機
6日前
株式会社デンソー
トランス
6日前
株式会社デンソー
光学部材
14日前
株式会社デンソー
光学部材
14日前
株式会社デンソー
光学部材
6日前
株式会社デンソー
電子装置
6日前
株式会社デンソー
半導体装置
14日前
株式会社デンソーエレクトロニクス
電磁継電器
今日
株式会社デンソー
レーダ装置
今日
株式会社デンソー
電磁継電器
6日前
株式会社デンソー
電力変換装置
6日前
株式会社デンソー
電子制御装置
6日前
株式会社デンソー
燃料噴射装置
7日前
株式会社デンソー
給電システム
14日前
株式会社デンソー
電気化学セル
7日前
株式会社デンソー
形状検査方法
8日前
株式会社デンソー
表面加工方法
7日前
株式会社デンソー
端末及び基地局
15日前
株式会社デンソー
車両用空調装置
14日前
株式会社デンソー
電磁弁駆動装置
6日前
株式会社デンソー
エレクトレット
14日前
株式会社デンソー
液体分離システム
14日前
株式会社デンソー
電気化学反応装置
8日前
株式会社デンソー
運転評価支援装置
6日前
株式会社デンソー
冷凍サイクル装置
15日前
株式会社デンソー
差動リングオシレータ
14日前
株式会社デンソー
コンデンサモジュール
16日前
株式会社デンソー
コアシートの製造方法
15日前
株式会社デンソー
ダクトおよび電池装置
8日前
株式会社デンソー
ステアリング制御装置
14日前
株式会社デンソー
分離体及びその設計方法
14日前
株式会社デンソー
電気化学反応モジュール
14日前
続きを見る
他の特許を見る