TOP
|
特許
|
意匠
|
商標
特許ウォッチ
Twitter
他の特許を見る
10個以上の画像は省略されています。
公開番号
2025171114
公報種別
公開特許公報(A)
公開日
2025-11-20
出願番号
2024076118
出願日
2024-05-08
発明の名称
電気化学反応モジュール
出願人
株式会社デンソー
代理人
弁理士法人ゆうあい特許事務所
主分類
H01M
8/04007 20160101AFI20251113BHJP(基本的電気素子)
要約
【課題】反応機器の保護しつつ、反応機器を暖機可能な電気化学反応モジュールを提供する。
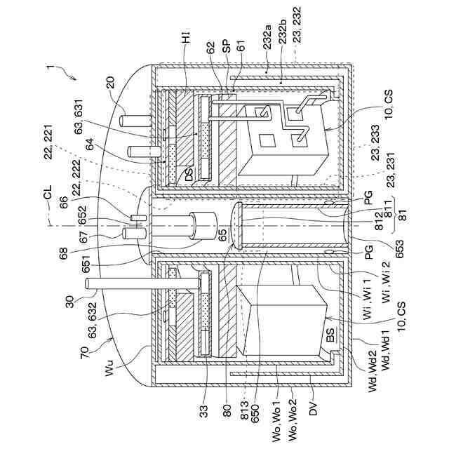
【解決手段】燃料電池モジュール1は、燃料電池10と、燃料電池10に供給される前の空気が流れる空気経路20と、燃料電池10の暖機に利用される高温の温調ガスを生成するガスバーナ68と、を備える。ガスバーナ68は、収容空間BSの外部に配置されている。空気経路20は、燃料電池10と熱交換可能なように燃料電池10と所定の間隔をあけて対向して配置されるスタック温調器23を含み、スタック温調器23を流れる空気と温調ガスとが熱交換可能なように温調ガスが流れる温調経路65に隣り合って配置されている。収容空間BSは、スタック温調器23を流れる空気と熱交換した後の温調ガスが導入されるように温調経路65が接続されている。温調経路65には、温調ガスと空気との熱交換を促進させる促進部材80が設けられている。
【選択図】図2
特許請求の範囲
【請求項1】
電気化学反応モジュール(1、1A)であって、
酸化剤となる第1ガスと還元剤となる第2ガスとの電気化学反応により電気エネルギを出力する、若しくは、還元剤となる第1ガスおよび酸化剤となる第2ガスを入力として第2ガスの電気分解により燃料を出力する反応機器(10、10A)と、
前記反応機器に供給される前の第1ガスが流れる第1供給流路部(20、20A)と、
前記反応機器の暖機に利用される高温の熱媒体を生成する暖機部(68)と、を備え、
前記暖機部は、前記反応機器が収容される収容空間(BS)の外部に配置されており、
前記第1供給流路部は、前記反応機器と熱交換可能なように前記反応機器と所定の間隔をあけて対向して配置される熱交換部(23)を含み、前記熱交換部を流れる第1ガスと熱媒体とが熱交換可能なように熱媒体が流れる熱媒体流路部(65)に隣り合って配置されており、
前記収容空間は、前記熱媒体流路部を流れる熱媒体のうち、第1ガスと熱交換した後の熱媒体が導入されるように前記熱媒体流路部が接続されており、
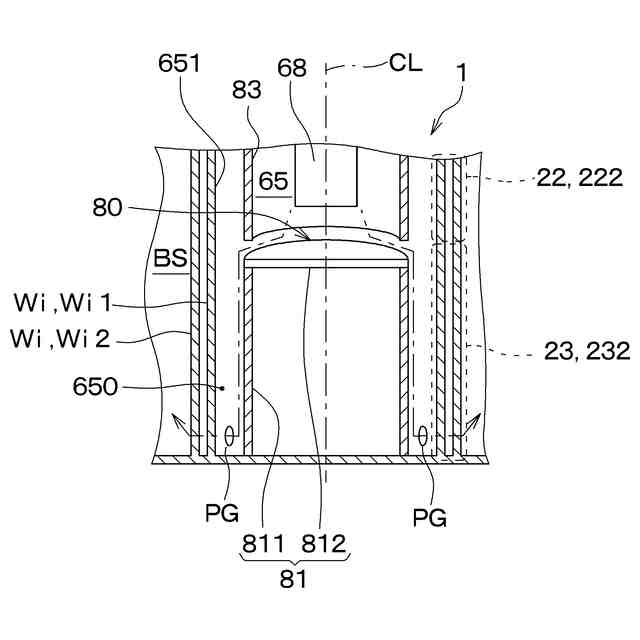
前記熱媒体流路部には、熱媒体と前記第1供給流路部を流れる第1ガスとの熱交換を促進させる促進部材(80)が設けられている、電気化学反応モジュール。
続きを表示(約 690 文字)
【請求項2】
前記促進部材は、前記熱媒体流路部のうち、熱媒体と第1ガスとを熱交換させる部位の少なくとも一部の流路幅を狭めることによって熱媒体と第1ガスとの熱交換を促進させる、請求項1に記載の電気化学反応モジュール。
【請求項3】
前記熱媒体流路部を形成する流路形成部(651、652、653)を備え、
前記促進部材は、前記熱媒体流路部における熱媒体流れ下流側に対応する部位および上流側に対応する部位の一方が前記流路形成部に対して固定され、他方が前記流路形成部に対して固定されていない、請求項1または2に記載の電気化学反応モジュール。
【請求項4】
前記収容空間には、複数の前記反応機器が放射状に配置され、
前記促進部材は、前記熱交換部のうち、複数の前記反応機器を放射状に配置したときの前記反応機器の内側部分に対向する部位と所定間隔をあけた状態で配置されている、請求項1または2に記載の電気化学反応モジュール。
【請求項5】
前記熱媒体流路部には、前記暖機部の熱が前記反応機器に伝わることを抑制する過熱抑制部(813、814、83)が設けられている、請求項1または2に記載の電気化学反応モジュール。
【請求項6】
前記反応機器は、前記電気化学反応により電気エネルギを出力する燃料電池(FC)である、請求項1または2に記載の電気化学反応モジュール。
【請求項7】
前記反応機器は、前記電気分解により燃料を出力する電解装置(EC)である、請求項1または2に記載の電気化学反応モジュール。
発明の詳細な説明
【技術分野】
【0001】
本開示は、電気化学反応モジュールに関する。
続きを表示(約 2,100 文字)
【背景技術】
【0002】
従来、反応機器である燃料電池の暖機時における外部と内部との温度差を抑制するために、燃料電池の収容空間の外部に暖機用バーナを配置した燃料電池モジュールが知られている(例えば、特許文献1参照)。
【先行技術文献】
【特許文献】
【0003】
特開2022-87798号公報
【発明の概要】
【発明が解決しようとする課題】
【0004】
本発明者の検討によると、特許文献1に記載の燃料電池モジュールには、暖機用バーナによる燃料電池の局所的な過熱に対する保護について依然として改善の余地があることが判った。なお、居所的な過熱に関する課題は、燃料電池を反応機器として備える燃料電池モジュールだけでなく、水蒸気を含むガスの電気分解によって燃料を生成する電解装置を反応機器として備える電解モジュールにおいても同様に生じ得る。
【0005】
本開示は、反応機器の保護しつつ、反応機器を暖機可能な電気化学反応モジュールを提供することを目的とする。
【課題を解決するための手段】
【0006】
請求項1に記載の発明は、
電気化学反応モジュール(1、1A)であって、
酸化剤となる第1ガスと還元剤となる第2ガスとの電気化学反応により電気エネルギを出力する、若しくは、還元剤となる第1ガスおよび酸化剤となる第2ガスを入力として第2ガスの電気分解により燃料を出力する反応機器(10、10A)と、
反応機器に供給される前の第1ガスが流れる第1供給流路部(20、20A)と、
反応機器の暖機に利用される高温の熱媒体を生成する暖機部(68)と、を備え、
暖機部は、反応機器が収容される収容空間(BS)の外部に配置されており、
第1供給流路部は、反応機器と熱交換可能なように反応機器と所定の間隔をあけて対向して配置される熱交換部(23)を含み、熱交換部を流れる第1ガスと熱媒体とが熱交換可能なように熱媒体が流れる熱媒体流路部(65)に隣り合って配置されており、
収容空間は、熱媒体流路部を流れる熱媒体のうち、第1ガスと熱交換した後の熱媒体が導入されるように熱媒体流路部が接続されており、
熱媒体流路部には、熱媒体と第1供給流路部を流れ第1ガスとの熱交換を促進させる促進部材(80)が設けられている。
【0007】
これによると、反応機器は、第1供給流路部からの輻射伝熱、熱媒体から受熱して昇温した第1ガスの導入による内部対流伝熱、収容空間に導入される熱媒体による外部対流伝熱によって、適温に暖機される。特に、本開示では、第1供給流路部が反応機器に対して所定の間隔をあけて配置されるとともに、第1ガスと熱媒体との熱交換を促進させる促進部材を備える構成となっている。これによると、暖機部で生成された熱媒体が反応機器の収容空間に導入される前に第1ガスへ放熱されるので、熱媒体の熱による反応機器の過熱を抑制することができる。しがって、本開示の電気化学反応モジュールによれば、反応機器を保護しつつ、反応機器を適切に暖機することができる。
【0008】
なお、各構成要素等に付された括弧付きの参照符号は、その構成要素等と後述する実施形態に記載の具体的な構成要素等との対応関係の一例を示すものである。
【図面の簡単な説明】
【0009】
第1実施形態に係る燃料電池モジュールを含む電気化学反応システムの概略構成図である。
燃料電池モジュールの模式的な縦断面図である。
燃料電池モジュールの容器内でのセルスタックの配置態様を示す模式的な横断面図である。
温調経路の流路幅を説明するための説明図である。
燃料電池の暖機時における燃料電池への熱の伝わり方を説明するための説明図である。
第1実施形態の第1変形例となる燃料電池モジュールの模式的な縦断面図である。
第1実施形態の第2変形例となる燃料電池モジュールの模式的な縦断面図である。
第1実施形態の第3変形例となる燃料電池モジュールの模式的な縦断面図である。
第2実施形態に係る燃料電池モジュールを含む電気化学反応システムの概略構成図である。
【発明を実施するための形態】
【0010】
以下、本開示の実施形態について図面を参照して説明する。なお、以下の実施形態において、先行する実施形態で説明した事項と同一もしくは均等である部分には、同一の参照符号を付し、その説明を省略する場合がある。また、実施形態において、構成要素の一部だけを説明している場合、構成要素の他の部分に関しては、先行する実施形態において説明した構成要素を適用することができる。以下の実施形態は、特に組み合わせに支障が生じない範囲であれば、特に明示していない場合であっても、各実施形態同士を部分的に組み合わせることができる。
(【0011】以降は省略されています)
この特許をJ-PlatPat(特許庁公式サイト)で参照する
関連特許
株式会社デンソーウェーブ
筐体
1か月前
株式会社デンソー
電動弁
14日前
株式会社デンソー
回転機
1か月前
株式会社デンソー
分離体
今日
株式会社デンソー
撮像装置
13日前
株式会社デンソー
制御装置
16日前
株式会社デンソー
電子装置
24日前
株式会社デンソー
電解装置
15日前
株式会社デンソー
光学部材
今日
株式会社デンソー
光学部材
今日
株式会社デンソー
電子装置
14日前
株式会社デンソー
撮像装置
13日前
株式会社デンソー
熱交換器
13日前
株式会社デンソー
摺動機構
13日前
株式会社デンソー
摺動機構
13日前
株式会社デンソー
検出装置
1か月前
株式会社デンソー
電気回路
8日前
株式会社デンソー
半導体装置
13日前
株式会社デンソー
熱交換部材
15日前
株式会社デンソー
半導体装置
15日前
株式会社デンソー
半導体装置
今日
株式会社デンソー
センサ装置
21日前
株式会社デンソー
センサ装置
21日前
株式会社デンソー
ヒータ装置
22日前
株式会社デンソー
半導体装置
1か月前
株式会社デンソートリム
鞍乗り車両
22日前
株式会社デンソー
半導体装置
23日前
株式会社デンソー
電流センサ
1か月前
株式会社デンソー
熱交換装置
28日前
株式会社デンソー
画像処理装置
1か月前
株式会社デンソー
圧電デバイス
21日前
株式会社デンソー
電気化学セル
13日前
株式会社デンソー
電圧検出回路
28日前
株式会社デンソー
電力変換装置
28日前
株式会社デンソー
給電システム
今日
株式会社デンソー
電気化学セル
13日前
続きを見る
他の特許を見る