TOP
|
特許
|
意匠
|
商標
特許ウォッチ
Twitter
他の特許を見る
公開番号
2025174690
公報種別
公開特許公報(A)
公開日
2025-11-28
出願番号
2024081199
出願日
2024-05-17
発明の名称
電磁弁駆動装置
出願人
株式会社デンソー
代理人
個人
,
個人
主分類
F16K
31/06 20060101AFI20251120BHJP(機械要素または単位;機械または装置の効果的機能を生じ維持するための一般的手段)
要約
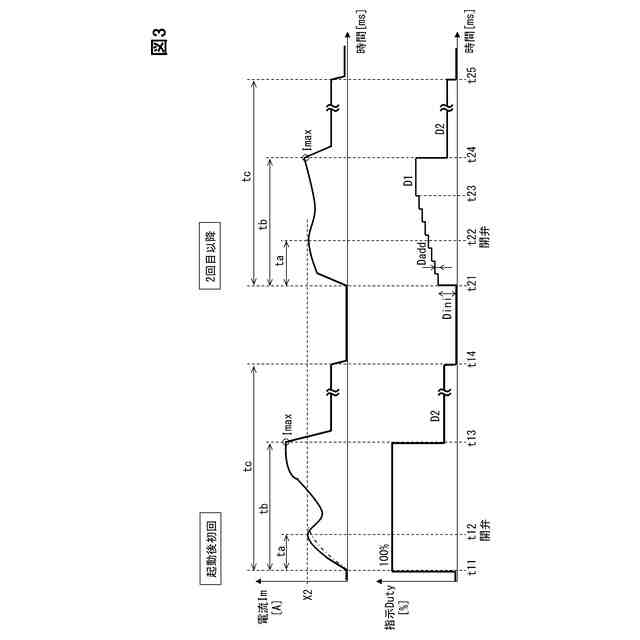
【課題】開弁時の衝突抑制と開弁応答性の両立を図った電磁弁駆動装置を提供する。
【解決手段】電磁弁駆動装置としてのECUは、開弁電流取得部と、第1デューティ制御部と、第2デューティ制御部と、を備える。開弁電流取得部は、開弁時の電磁コイルへの通電量である開弁電流値(開弁時電流X2)を取得する。第1デューティ制御部は、通電開始から開弁前までの初期期間に、初期デューティ値Diniでデューティ制御を実行する。第2デューティ制御部は、初期期間の後の開弁タイミングt22を含む開弁期間に、初期デューティ値Diniから所定の追加量Daddずつ徐々にデューティ値を増加させる。そして、取得された開弁時電流X2が大きいほど、初期デューティ値Diniは大きい値に変更される。追加量Daddは、初期デューティ値Diniより小さい値に設定される。
【選択図】図3
特許請求の範囲
【請求項1】
流体通路(16)を開閉する弁体(17a)と、前記弁体を開弁作動させる電磁力を発揮させる電磁コイル(17b)と、を備える電磁弁(17)に適用され、前記電磁コイルへの通電量をデューティ制御することで開弁作動させる電磁弁駆動装置において、
開弁時の前記電磁コイルへの通電量である開弁電流値を取得する開弁電流取得部(S16)と、
通電開始から開弁前までの初期期間に、初期デューティ値(Dini)で前記デューティ制御を実行する第1デューティ制御部(S33)と、
前記初期期間の後の開弁タイミングを含む開弁期間に、前記初期デューティ値から所定の追加量(Dadd)ずつ徐々にデューティ値を増加させるよう、前記デューティ制御を実行する第2デューティ制御部(S34)と、
を備え、
取得された前記開弁電流値が大きいほど、前記初期デューティ値は大きい値に変更され、
前記追加量は、前記初期デューティ値より小さい値に設定される電磁弁駆動装置。
続きを表示(約 770 文字)
【請求項2】
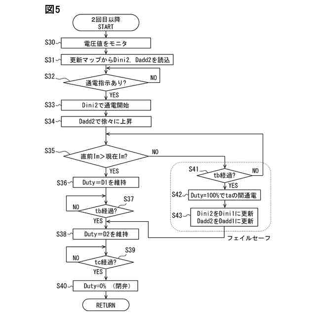
前記開弁電流値を取得した時の開弁作動の際に、通電開始から開弁までの所要時間(ta)を取得する開弁時間取得部(S17)と、
前記初期デューティ値から前記追加量ずつ徐々にデューティ値を増加させているにも拘わらず、上限時間を経過しても開弁しない場合に、デューティ100%で前記所要時間を継続させるフェイルセーフ制御部(S42)と、
を備える、請求項1に記載の電磁弁駆動装置。
【請求項3】
開弁後の前記電磁コイルへの安定化した通電量である安定電流値、および前記電磁コイルへ印加される電圧値に基づき、系全体の抵抗値を算出する抵抗算出部(S20)を備え、
算出された抵抗値が大きいほど、前記初期デューティ値は大きい値に変更される、請求項1または2に記載の電磁弁駆動装置。
【請求項4】
前記安定電流値を取得した時の温度に応じて前記抵抗値は補正される、請求項3に記載の電磁弁駆動装置。
【請求項5】
前記開弁電流取得部は、前記電磁コイルへの通電量が増加から減少に切り替わった時の電流値を、前記開弁電流値として取得する、請求項1または2のいずれか1つに記載の電磁弁駆動装置。
【請求項6】
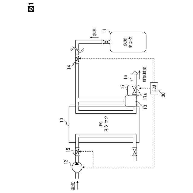
前記流体通路は、燃料電池スタック(10)の排出通路であり、
前記燃料電池スタックを含む燃料電池システムが起動してから初回の開弁作動時に、前記開弁電流値は取得され、
次回以降の開弁作動時には、初回に取得した前記開弁電流値を用いて前記初期デューティ値は設定される、請求項1または2に記載の電磁弁駆動装置。
【請求項7】
取得された前記開弁電流値が大きいほど、前記追加量は大きい値に設定される、請求項1または2に記載の電磁弁駆動装置。
発明の詳細な説明
【技術分野】
【0001】
この明細書における開示は、電磁弁駆動装置に関する。
続きを表示(約 1,800 文字)
【背景技術】
【0002】
特許文献1に記載の電磁弁駆動装置は、電磁コイルへの通電量をデューティ制御している。具体的には、弁体を閉弁させる際に、デューティ比をいきなりゼロにせず、徐々にデューティ比を小さくしている。これによれば、閉弁時に弁体が弁座へ勢いよく衝突することを抑制でき、弁体の長寿命化が図られる。
【先行技術文献】
【特許文献】
【0003】
特開2016-156305号公報
【発明の概要】
【発明が解決しようとする課題】
【0004】
ここで、デューティ比を徐々に変化させる上記制御を開弁時にも適用させて、開弁時の衝突抑制を図ろうとすると以下の課題が生じる。すなわち、開弁時には、電磁コイルへの通電開始から、実際に弁体が開弁作動を開始するまでのタイムラグが課題となる。すなわち、通電開始から、開弁開始に必要な電流値まで通電電流が上昇するのに時間を要する。この時間が長いと開弁の応答性が悪くなる。そのため、デューティ比を徐々に上昇させて開弁時の衝突抑制を図ろうとすると、開弁の応答性が損なわれる。
【0005】
開示される1つの目的は、開弁時の衝突抑制と開弁応答性の両立を図った電磁弁駆動装置を提供することである。
【課題を解決するための手段】
【0006】
上記目的を達成するため、本開示の一態様による電磁弁駆動装置は、
流体通路(16)を開閉する弁体(17a)と、弁体を開弁作動させる電磁力を発揮させる電磁コイル(17b)と、を備える電磁弁(17)に適用され、電磁コイルへの通電量をデューティ制御することで開弁作動させる電磁弁駆動装置において、
開弁時の電磁コイルへの通電量である開弁電流値を取得する開弁電流取得部(S16)と、
通電開始から開弁前までの初期期間に、初期デューティ値(Dini)でデューティ制御を実行する第1デューティ制御部(S33)と、
初期期間の後の開弁タイミングを含む開弁期間に、初期デューティ値から所定の追加量(Dadd)ずつ徐々にデューティ値を増加させるよう、デューティ制御を実行する第2デューティ制御部(S34)と、を備える。
そして、取得された開弁電流値が大きいほど、初期デューティ値は大きい値に変更され、
追加量は、初期デューティ値より小さい値に設定される。
【0007】
上述の電磁弁駆動装置によれば、取得された開弁電流値が大きいほど、初期デューティ値Diniは大きい値に変更される。そのため、初期デューティ値Diniを、開弁させない程度にできるだけ大きいデューティ値に設定することができる。これにより、通電量の上昇傾きを大きくさせて、開弁に要する時間の短縮を図ることができる。つまり、開弁の応答性を向上できる。
【0008】
さらに、追加量Daddは、初期デューティ値Diniより小さい値に設定される。そのため、追加量Daddずつ徐々にデューティ値を増加させることで、通電量の上昇傾きを小さくできる。これにより、開弁時に弁体が強く衝突することを抑制できる。よって、電磁弁の長寿命化を図ることができる。要するに、応答性を損なうことなく開弁時の衝撃を軽減でき、電磁弁の応答性向上と長寿命化の両立を実現できる。
【0009】
尚、上記括弧内の参照番号は、後述する実施形態における具体的な構成との対応関係の一例を示すものにすぎず、技術的範囲を何ら制限するものではない。
【図面の簡単な説明】
【0010】
第1実施形態に係る電磁弁駆動装置が適用される、燃料電池システムの概要図である。
図1に示す電磁弁駆動装置の概要図である。
指示デューティと電流の時間推移を示す図である。
プライマリチェックを兼ねた初回の開弁制御の手順を示すフローチャートである。
2回目以降の開弁制御の手順を示すフローチャートである。
開弁制御に用いる電圧毎のデューティ値が記憶されたマップである。
第2実施形態に係る電磁弁駆動装置の概要図である。
【発明を実施するための形態】
(【0011】以降は省略されています)
この特許をJ-PlatPat(特許庁公式サイト)で参照する
関連特許
株式会社デンソーウェーブ
筐体
1か月前
株式会社デンソー
回転機
1か月前
株式会社デンソー
電動機
1日前
株式会社デンソー
端子台
3日前
株式会社デンソー
分離体
9日前
株式会社デンソー
電動弁
23日前
株式会社デンソー
電子装置
23日前
株式会社デンソー
熱交換器
22日前
株式会社デンソー
摺動機構
22日前
株式会社デンソー
反力装置
1か月前
株式会社デンソー
制御装置
25日前
株式会社デンソー
撮像装置
22日前
株式会社デンソー
撮像装置
22日前
株式会社デンソー
電気回路
17日前
株式会社デンソー
電子装置
1か月前
株式会社デンソー
電子装置
1か月前
株式会社デンソー
光学部材
9日前
株式会社デンソー
光学部材
9日前
株式会社デンソー
電子装置
1か月前
株式会社デンソー
摺動機構
22日前
株式会社デンソー
電解装置
24日前
株式会社デンソー
検出装置
1か月前
株式会社デンソー
光学部材
1日前
株式会社デンソー
トランス
1日前
株式会社デンソー
電子装置
1日前
株式会社デンソートリム
鞍乗り車両
1か月前
株式会社デンソー
熱交換装置
1か月前
株式会社デンソー
半導体装置
9日前
株式会社デンソー
電磁継電器
1日前
株式会社デンソー
ヒータ装置
1か月前
株式会社デンソー
半導体装置
22日前
株式会社デンソー
電流センサ
1か月前
株式会社デンソー
半導体装置
1か月前
株式会社デンソー
農業用装置
1か月前
株式会社デンソーテン
インバータ
1か月前
株式会社デンソー
半導体装置
1か月前
続きを見る
他の特許を見る