TOP
|
特許
|
意匠
|
商標
特許ウォッチ
Twitter
他の特許を見る
10個以上の画像は省略されています。
公開番号
2025171756
公報種別
公開特許公報(A)
公開日
2025-11-20
出願番号
2024077403
出願日
2024-05-10
発明の名称
液体分離システム
出願人
株式会社デンソー
,
栗田工業株式会社
代理人
弁理士法人あいち国際特許事務所
主分類
B01D
61/36 20060101AFI20251113BHJP(物理的または化学的方法または装置一般)
要約
【課題】分離効率を向上させることができる液体分離システムを提供すること。
【解決手段】液体分離システム1において、分離モジュール2は、分離部21と、被処理液dが流通する処理液流路41と、を備える。分離部21は、多数の細孔を有するセラミック基材を備える。分離部21は、被処理液dに含まれる被分離液体Lqを蒸気vの状態で透過させることにより、被処理液dから被分離液体Lqを分離する。液体分離システム1は、制御部3によって特定関係を制御して、被処理液dから被分離液体Lqを分離する。特定関係は、分離部21に供給される熱量と、被処理液dに含まれる被分離液体Lqが蒸発することにより、分離部21から奪われる熱量と、の関係である。
【選択図】図1
特許請求の範囲
【請求項1】
被処理液(d)から被分離液体(Lq)を分離する分離モジュール(2)を備えた液体分離システム(1)であって、
前記分離モジュールは、
多数の細孔(20)を有するセラミック基材(22)を備え、前記被処理液に含まれる前記被分離液体を蒸気(v)の状態で透過させることにより、前記被処理液から前記被分離液体を分離する分離部(21)と、
前記被処理液が流通する処理液流路(41)と、を備え、
前記分離部は、前記処理液流路に面する面であって、前記蒸気を透過させる透過面(211)を有し、
前記分離部に供給される熱量と、前記被処理液に含まれる前記被分離液体が蒸発することにより、前記分離部から奪われる熱量と、の関係である特定関係を制御する制御部(3)を有し、
前記制御部によって前記特定関係を制御して、前記被処理液から前記被分離液体を分離する、液体分離システム。
続きを表示(約 1,200 文字)
【請求項2】
前記処理液流路に供給される前記被処理液の温度は、前記分離部の温度よりも高く、前記特定関係は、前記分離モジュールに供給される前記被処理液の単位時間当たりの供給量Qm
3
/hと、前記透過面の面積Sm
2
との関係であり、
前記制御部は、前記供給量Qを調整することにより、前記特定関係を制御する、請求項1に記載の液体分離システム。
【請求項3】
前記制御部によって、前記供給量Qの前記透過面の面積Sに対する比の値であるQ/Sの値が、0.2~8.8となるように制御する、請求項2に記載の液体分離システム。
【請求項4】
前記制御部によって、前記Q/Sの値が、0.6~4.0となるように制御する、請求項3に記載の液体分離システム。
【請求項5】
前記処理液流路に供給される前記被処理液の温度は、前記分離部の温度よりも高く、前記分離モジュールに供給される前記被処理液の流速を流速Vm/sとし、前記被処理液が前記処理液流路を流通する方向に沿った方向を流通方向(FD)とし、前記分離モジュールにおける、前記被処理液から前記被分離液体を分離することができる分離可能部(25)の前記流通方向の長さを長さLm、としたとき、前記特定関係は、前記流速Vと前記長さLとの関係であり、
前記制御部によって、前記流速Vの前記長さLに対する比の値であるV/Lの値が、0.05~2.5となるように制御する、請求項1に記載の液体分離システム。
【請求項6】
前記分離モジュールは、円柱形状を有し、
前記被処理液が前記処理液流路を流通する方向に沿った方向を流通方向(FD)とし、前記分離モジュールにおける、前記被処理液から前記被分離液体を分離することができる分離可能部(25)の前記流通方向の長さを長さLmとしたとき、前記長さLは、0.05~1.00mであり、
前記流通方向から見たときの前記分離可能部の外径(OD)は、80~265mmである、請求項1又は2に記載の液体分離システム。
【請求項7】
複数の前記分離モジュールを有し、前記被処理液が前記処理液流路を流通する方向に沿った方向を流通方向(FD)としたとき、複数の前記分離モジュール同士は、前記流通方向が互いに同じ方向となるように配置されていると共に、前記流通方向から見たとき、互いに重なるように配置されている、請求項1又は2に記載の液体分離システム。
【請求項8】
前記セラミック基材は、多孔質のセラミックからなり、前記セラミック基材は、アルミナ、ムライト、二酸化ケイ素、炭化ケイ素、ジルコニア、コージェライトから選ばれる少なくとも一つを含有する、請求項1又は2に記載の液体分離システム。
発明の詳細な説明
【技術分野】
【0001】
本発明は、液体分離システムに関する。
続きを表示(約 2,700 文字)
【背景技術】
【0002】
例えば、特許文献1に開示されているように、被処理液を膜蒸留用膜である中空糸膜の内側に流通させて膜蒸留を行う膜蒸留装置が知られている。特許文献1に記載の膜蒸留装置は、膜蒸留用膜の内側を流通する被処理液のレイノルズ数を1,100以上とし、かつ、膜蒸留用膜の内側を流通する被処理液の線速を3.5m/s以下とすることにより、膜蒸留を高い効率で長期間安定して行おうとしている。
【先行技術文献】
【特許文献】
【0003】
特開2023-092086号公報
【発明の概要】
【発明が解決しようとする課題】
【0004】
しかしながら、特許文献1に記載の膜蒸留装置は、膜蒸留用膜に供給される熱量と、被処理液に含まれる被分離液体が蒸発することにより、膜蒸留用膜から奪われる熱量と、の関係については考慮されていない。そのため、被処理液のレイノルズ数及び線速を上記のように制御したとしても、被処理液から被分離液体を効率的に分離できないおそれがある。つまり、膜蒸留を高い効率で行うため、膜蒸留用膜の面積を大きくした場合、被処理液からの被分離液体の蒸発によって、膜蒸留用膜の温度が低下しやすくなる。そのため、膜蒸留用膜に供給される熱量によっては、膜蒸留用膜の温度の低下によって分離効率が低下するおそれがある。それゆえ、被処理液から被分離液体を効率的に分離する観点から、さらなる改善の余地があるといえる。
【0005】
本発明は、かかる課題に鑑みてなされたものであり、分離効率を向上させることができる液体分離システムを提供しようとするものである。
【課題を解決するための手段】
【0006】
本発明の一態様は、被処理液(d)から被分離液体(Lq)を分離する分離モジュール(2)を備えた液体分離システム(1)であって、
前記分離モジュールは、
多数の細孔(20)を有するセラミック基材(22)を備え、前記被処理液に含まれる前記被分離液体を蒸気(v)の状態で透過させることにより、前記被処理液から前記被分離液体を分離する分離部(21)と、
前記被処理液が流通する処理液流路(41)と、を備え、
前記分離部は、前記処理液流路に面する面であって、前記蒸気を透過させる透過面(211)を有し、
前記分離部に供給される熱量と、前記被処理液に含まれる前記被分離液体が蒸発することにより、前記分離部から奪われる熱量と、の関係である特定関係を制御する制御部(3)を有し、
前記制御部によって前記特定関係を制御して、前記被処理液から前記被分離液体を分離する、液体分離システムにある。
【発明の効果】
【0007】
上記液体分離システムは、上記特定関係を制御して、被処理液から被分離液体を分離する。そのため、分離部の透過面の面積を大きくすることによって、被分離液体の蒸発によって分離部から奪われる熱量が増加したとしても、分離部の温度の低下を抑制することができる。つまり、被処理液から被分離液体を効率的に分離するため、透過面の面積を大きくした場合であっても、分離部の温度の低下を抑制することができる。その結果、分離部の分離効率が低下することを防ぎ、分離効率を向上させることができる。
【0008】
以上のごとく、上記態様によれば、分離効率を向上させることができる液体分離システムを提供することができる。
なお、特許請求の範囲及び課題を解決する手段に記載した括弧内の符号は、後述する実施形態に記載の具体的手段との対応関係を示すものであり、本発明の技術的範囲を限定するものではない。
【図面の簡単な説明】
【0009】
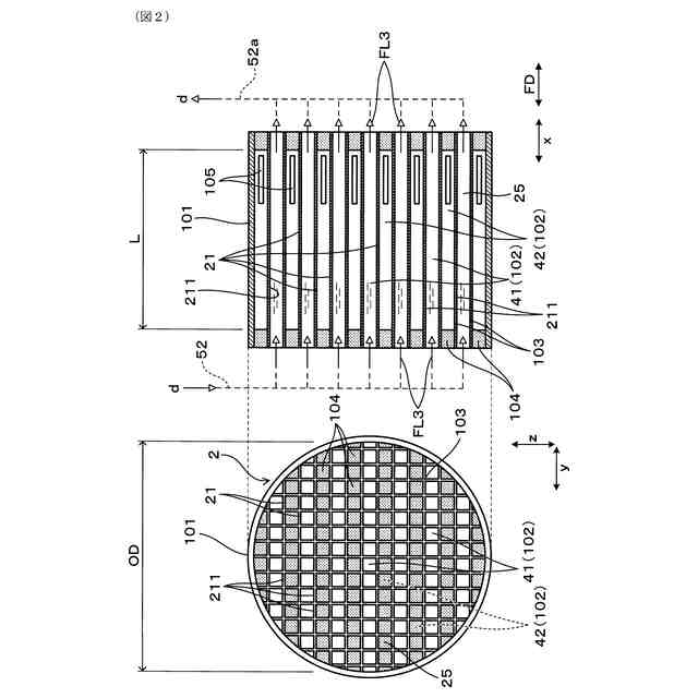
実施形態1における、液体分離システムの概念図。
実施形態1における、分離モジュールの正面図及び断面図。
実施形態1における、分離モジュールの斜視図。
実施形態1における、分離モジュールの処理液流路と蒸気流路とを示す断面図。
実施形態1における、処理液流路を流通方向から見た拡大断面図。
実施形態1における、分離部の断面図。
実験例1における、被処理液の温度が60℃のときの、Q/Sの値と液体処理量Fluxとの関係を示すグラフ。
実験例1における、被処理液の温度が60℃のときの、Q/Sの値と液体処理量Fluxとの関係を示すグラフであって、第一基準及び第二基準を満たすQ/Sの値を示すグラフ。
実験例1における、被処理液の温度が75℃のときの、Q/Sの値と液体処理量Fluxとの関係を示すグラフ。
実験例1における、被処理液の温度が75℃のときの、Q/Sの値と液体処理量Fluxとの関係を示すグラフであって、第一基準及び第二基準を満たすQ/Sの値を示すグラフ。
実験例2における、Q/Sの値と圧力損失PLとの関係を示すグラフ。
実験例3における、Q/Sの値と圧力損失PLとの関係を示すグラフ。
実施形態2における、ハウジングに収容された複数の分離モジュールを示す断面図。
実験例4における、V/Lの値と液体処理量Fluxとの関係を示すグラフ。
実験例4における、V/Lの値と液体処理量Fluxとの関係を示すグラフであって、第三基準を満たすV/Lの値を示すグラフ。
実験例5における、V/Lの値と圧力損失PLとの関係を示すグラフ。
実験例6における、V/Lの値と圧力損失PLとの関係を示すグラフ。
【発明を実施するための形態】
【0010】
(実施形態1)
液体分離システムに係る実施形態について、図1~図6を参照して説明する。
本形態の液体分離システム1は、図1~図3に示すごとく、被処理液dから被分離液体Lqを分離する分離モジュール2を備える。分離モジュール2は、分離部21と、被処理液dが流通する処理液流路41と、を備える。分離部21は、図6に示すごとく、多数の細孔20を有するセラミック基材22を備える。分離部21は、図1、図4、図6の矢印FL1に示すごとく、被処理液dに含まれる被分離液体Lqを蒸気vの状態で透過させることにより、被処理液dから被分離液体Lqを分離する。また、分離部21は、処理液流路41に面する面であって、蒸気vを透過させる透過面211を有する。
(【0011】以降は省略されています)
この特許をJ-PlatPat(特許庁公式サイト)で参照する
関連特許
株式会社高垣製作所
粉粒体加工装置
7日前
トヨタ紡織株式会社
フィルタ
16日前
個人
吸着材複合粒子
7日前
トヨタ紡織株式会社
水流帯電装置
16日前
株式会社バンブーケミカル研究所
クリーンブース
1日前
株式会社MODEL-16
気体溶解器
1日前
大同特殊鋼株式会社
水素貯蔵粉末
2日前
株式会社HELIX
加熱装置
8日前
株式会社ダイセル
圧力容器
14日前
トヨタ自動車株式会社
二酸化炭素回収システム
2日前
株式会社ダルトン
空気清浄化装置のフィルタ保持装置
7日前
セイコーエプソン株式会社
フィルター装置
14日前
愛三工業株式会社
水素分離膜
14日前
三菱化工機株式会社
粒子の分級装置及び粒子の分級方法
7日前
日本スピンドル製造株式会社
除去フィルタ及び除去装置
7日前
個人
水処理装置と水処理方法
1日前
株式会社デンソー
電気化学セル
15日前
トヨタ自動車株式会社
予測モデル
3日前
株式会社サタケ
集塵機の逆圧洗浄装置
1日前
株式会社ハイドロネクスト
金属材料
9日前
トヨタ自動車株式会社
予測モデル
7日前
東ソー株式会社
二酸化炭素分離用組成物
1日前
トヨタ車体株式会社
ガス処理装置
7日前
株式会社HELIX
供給装置及び加熱装置
8日前
栗田工業株式会社
方法、システム及びプログラム
14日前
エヌ・イーケムキャット株式会社
貴金属吸着材料
8日前
東レ株式会社
ウイルス除去用の中空糸膜モジュール及びその製造方法
1日前
日本化薬株式会社
フィルタ、およびフィルタを備えるガス発生器
9日前
株式会社ハイドロネクスト
水素分離装置
9日前
株式会社エフ・シー・シー
吸着ユニットおよびその製造方法
1日前
国立大学法人信州大学
分離膜および分離膜の製造方法、ならびに分離方法
1日前
セイコーエプソン株式会社
流体デバイス
14日前
いすゞ自動車株式会社
二酸化炭素回収装置
14日前
いすゞ自動車株式会社
二酸化炭素回収装置
14日前
いすゞ自動車株式会社
二酸化炭素回収装置
14日前
株式会社豊田中央研究所
ガス分離システム
1日前
続きを見る
他の特許を見る