TOP
|
特許
|
意匠
|
商標
特許ウォッチ
Twitter
他の特許を見る
公開番号
2025173200
公報種別
公開特許公報(A)
公開日
2025-11-27
出願番号
2024078670
出願日
2024-05-14
発明の名称
電気化学セル
出願人
株式会社デンソー
代理人
弁理士法人かいせい特許事務所
主分類
B01D
53/32 20060101AFI20251119BHJP(物理的または化学的方法または装置一般)
要約
【課題】被回収ガスの吸着量の低下を抑制できる電池化学セルを提供する。
【解決手段】電気化学反応によってCO
2
を含有する混合ガスからCO
2
を吸着および脱離する電気化学セルにおいて、作用極103と、対極105と、を備え、作用極103と対極105との間に電圧が印加されることで、対極105から作用極103に電子が供給され、作用極103は電子が供給されることに伴ってCO
2
を吸着し、対極105は、金属酸化物を含有して構成されている。
【選択図】図2
特許請求の範囲
【請求項1】
電気化学反応によって被回収ガスを含有する混合ガスから前記被回収ガスを吸着および脱離する電気化学セルであって、
作用極(103)と、対極(105)と、を備え、
前記作用極と前記対極との間に電圧が印加されることで、前記対極から前記作用極に電子が供給され、前記作用極は電子が供給されることに伴って前記被回収ガスを吸着し、
前記対極は、金属酸化物を含有して構成されている電気化学セル。
続きを表示(約 380 文字)
【請求項2】
前記金属酸化物は、形成エネルギが-1.0eV以下において複数の価数状態を有する請求項1に記載の電気化学セル。
【請求項3】
前記対極は、RuO
2
、MnO
2
、IrO
2
、CuO、MoO
2
、V
2
O
5
、WO
3
の少なくともいずれかを含有する請求項1に記載の電気化学セル。
【請求項4】
前記対極は、RuO
2
、MnO
2
、IrO
2
の少なくともいずれかを含有する請求項1に記載の電気化学セル。
【請求項5】
前記被回収ガスは、CO
2
である請求項1ないし4のいずれか1つに記載の電気化学セル。
発明の詳細な説明
【技術分野】
【0001】
本発明は、電気化学セルに関する。
続きを表示(約 1,700 文字)
【背景技術】
【0002】
従来、電気化学反応によって、被回収ガス(例えばCO
2
)を含む混合ガスから被回収ガスを吸着および脱離する電気化学セルが知られている。特許文献1には、作用極に被回収ガスを吸着する吸着材が設けられるとともに、対極に対極活物質が設けられた電気化学セルが開示されている。対極活物質は、有機材料(例えば、ポリビニルフェロセン)からなる電気活性種である。作用極と対極の間の電位差を変化させることで、吸着材は被回収ガスの吸着と脱離を切り替えることができ、対極活物質は吸着材との間で電子の授受を行う。
【先行技術文献】
【特許文献】
【0003】
特開2022-67545号公報
【発明の概要】
【発明が解決しようとする課題】
【0004】
しかしながら、大気などのO
2
の存在下で電気化学セルを作動させると、O
2
に対して電荷移動が生じ、活性酸素の一種であるO
2
-
(スーパーオキシド)が作用極で生成する。作用極で生成したO
2
-
が対極に拡散すると、有機材料からなる対極活物質が活性酸素によって酸化分解し、対極から作用極への電子供給量が低下するおそれがある。この結果、作用極における被回収ガスの吸着量が低下する可能性がある。
【0005】
本発明は、上記点に鑑みて、被回収ガスの吸着量の低下を抑制できる電池化学セルを提供することを目的とする。
【課題を解決するための手段】
【0006】
上記目的を達成するため、請求項1に記載の電気化学セルは、電気化学反応によって被回収ガスを含有する混合ガスから被回収ガスを吸着および脱離する電気化学セルにおいて、
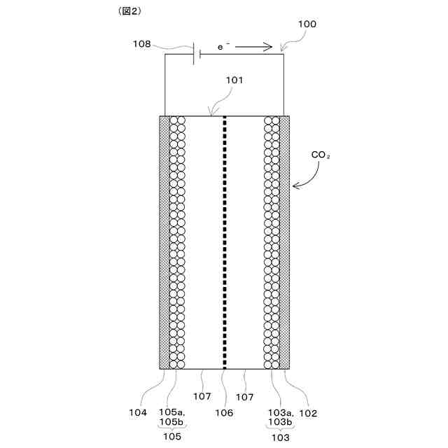
作用極(103)と、対極(105)と、を備え、
作用極と対極との間に電圧が印加されることで、対極から作用極に電子が供給され、作用極は電子が供給されることに伴って被回収ガスを吸着し、
対極は、金属酸化物を含有して構成されている。
【0007】
これによれば、作用極で大気等に含まれるO
2
からO
2
-
が生成し、対極にO
2
-
が到達したとしても、対極の構成材料が酸化分解され難い。このため、対極の構成材料の酸化分解により電気化学セルの被回収ガス吸着量が低下することを抑制できる。
【0008】
なお、この欄および特許請求の範囲で記載した各手段の括弧内の符号は、後述する実施形態に記載の具体的手段との対応関係を示すものである。
【図面の簡単な説明】
【0009】
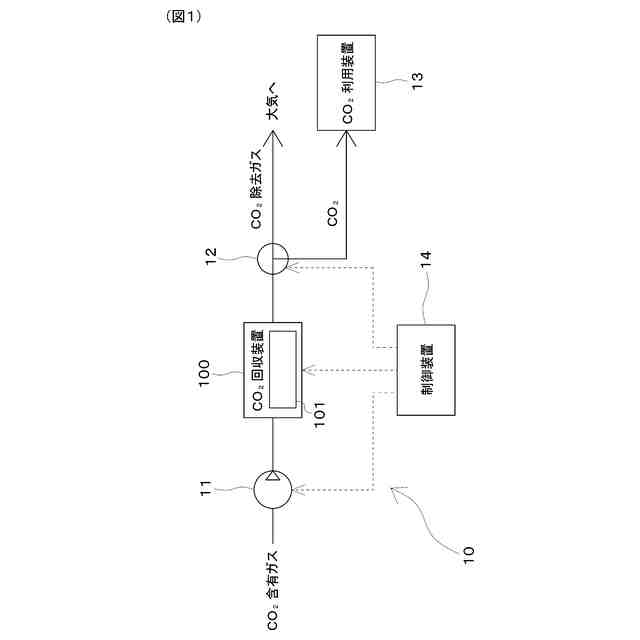
一実施形態に係る二酸化炭素回収システムを示す図である。
一実施形態における二酸化炭素回収装置を示す図である。
一実施形態における二酸化炭素回収装置のCO
2
回収モードとCO
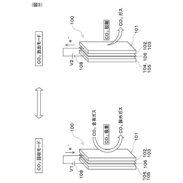
2
放出モードでの作動を説明するための図である。
各金属酸化物に対する電気化学試験における静電容量を示すグラフである。
電気化学試験のサイクル数と作用電極の劣化率との関係を示す図である。
作用電極をMnO
2
とした際のXPSスペクトルを示す図である。
作用電極をRuO
2
とした際のXPSスペクトルを示す図である。
【発明を実施するための形態】
【0010】
以下、本開示の一実施形態について図面を用いて説明する。本実施形態は、本開示における電気化学セルを、CO
2
を含有する混合ガスからCO
2
を分離して回収する二酸化炭素回収システムに適用している。したがって、本実施形態の被回収ガスは、CO
2
である。なお、被回収ガスとして、CO
2
以外のガスを採用してもよい。
(【0011】以降は省略されています)
この特許をJ-PlatPat(特許庁公式サイト)で参照する
関連特許
株式会社デンソー
分離体
7日前
株式会社デンソー
端子台
1日前
株式会社デンソー
電動弁
21日前
株式会社デンソー
電気回路
15日前
株式会社デンソー
制御装置
23日前
株式会社デンソー
撮像装置
20日前
株式会社デンソー
電解装置
22日前
株式会社デンソー
撮像装置
20日前
株式会社デンソー
光学部材
7日前
株式会社デンソー
光学部材
7日前
株式会社デンソー
摺動機構
20日前
株式会社デンソー
摺動機構
20日前
株式会社デンソー
熱交換器
20日前
株式会社デンソー
電子装置
21日前
株式会社デンソー
半導体装置
22日前
株式会社デンソー
センサ装置
28日前
株式会社デンソー
センサ装置
28日前
株式会社デンソー
半導体装置
7日前
株式会社デンソー
熱交換部材
22日前
株式会社デンソー
半導体装置
20日前
株式会社デンソー
給電システム
7日前
株式会社デンソー
燃料噴射装置
今日
株式会社デンソーテン
車載表示装置
20日前
株式会社デンソー
表面加工方法
今日
株式会社デンソー
電気化学セル
20日前
株式会社デンソー
圧電デバイス
28日前
株式会社デンソー
形状検査方法
1日前
株式会社デンソー
電気化学セル
20日前
株式会社デンソー
電気化学セル
今日
株式会社デンソー
電子制御装置
20日前
株式会社デンソー
ワーク投入装置
20日前
株式会社デンソー
電波透過カバー
20日前
株式会社デンソー
端末及び基地局
8日前
株式会社デンソー
エレクトレット
7日前
株式会社デンソーエレクトロニクス
ワイパ制御装置
23日前
株式会社デンソー
車両用空調装置
7日前
続きを見る
他の特許を見る