TOP
|
特許
|
意匠
|
商標
特許ウォッチ
Twitter
他の特許を見る
10個以上の画像は省略されています。
公開番号
2025171754
公報種別
公開特許公報(A)
公開日
2025-11-20
出願番号
2024077401
出願日
2024-05-10
発明の名称
分離体及びその設計方法
出願人
株式会社デンソー
代理人
弁理士法人あいち国際特許事務所
主分類
B01D
69/00 20060101AFI20251113BHJP(物理的または化学的方法または装置一般)
要約
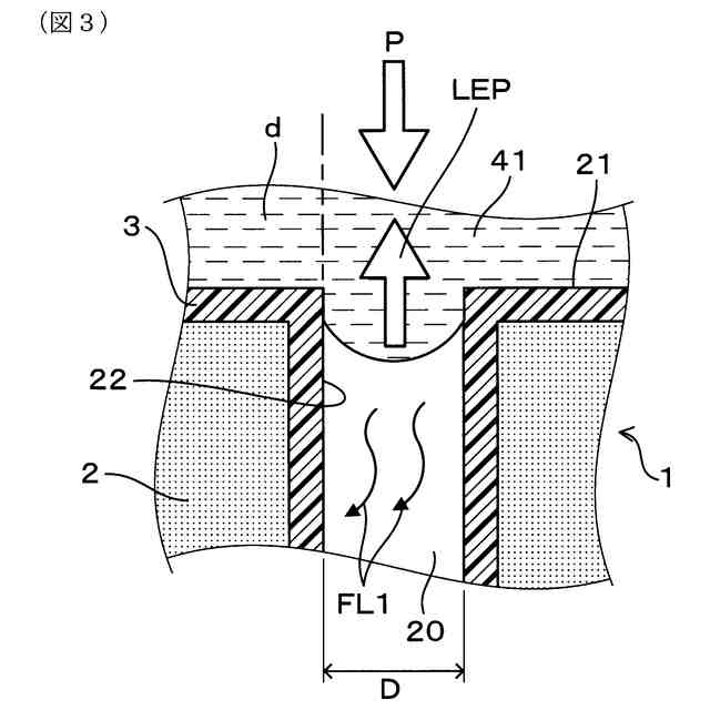
【課題】分離効率を確保しつつ、分離性能を向上することができる分離体及びその設計方法を提供すること。
【解決手段】分離体1は、多数の細孔20を有する。分離体1は、被処理液dに含まれる被分離液体を蒸気vの状態で透過させることにより、被処理液dから被分離液体を分離するために用いられる。被処理液dの表面張力をσ、分離体1の表面に対する被処理液dの接触角をθ、分離体1にかかる最大圧力をP、とする。また、特定細孔径Daを、「Da=-4σcosθ/P」にて定義する。このとき、分離体1のメジアン細孔径D50は、特定細孔径Daに対して、「Da/10<D50<Da/1.5」を満たす。また、多数の細孔20のうち特定細孔径Daよりも大きい細孔径を有する細孔20を粗大細孔としたとき、すべての細孔20の合計容積に対する、粗大細孔の合計容積の割合である粗大孔容積率は、所定の値以下である。
【選択図】図2
特許請求の範囲
【請求項1】
多数の細孔(20)を有し、被処理液(d)に含まれる被分離液体(Lq)を蒸気(v)の状態で透過させることにより、前記被処理液から前記被分離液体を分離するための分離体(1)であって、
前記分離体の気孔率は20%以上であり、
前記被処理液の表面張力をσ、
前記分離体の表面に対する前記被処理液の接触角をθ、
前記分離体にかかる最大圧力をP、とし、
特定細孔径Daを、Da=-4σcosθ/P にて定義したとき、
前記分離体のメジアン細孔径D50は、前記特定細孔径Daに対して、
Da/10<D50<Da/1.5 を満たし、
前記多数の細孔のうち前記特定細孔径Daよりも大きい細孔径を有する前記細孔を粗大細孔としたとき、
すべての前記細孔の合計容積に対する、前記粗大細孔の合計容積の割合である粗大孔容積率は、所定の値以下である、分離体。
続きを表示(約 730 文字)
【請求項2】
前記粗大孔容積率は、15%以下である、請求項1に記載の分離体。
【請求項3】
気孔率が70%以下である、請求項1又は2に記載の分離体。
【請求項4】
気孔率が60%未満である、請求項3に記載の分離体。
【請求項5】
前記多数の細孔を有するセラミック基材(2)と、前記セラミック基材の表面に形成された被覆層(3)とを有し、前記被覆層の表面に対する前記被処理液の接触角は、90°よりも大きい、請求項1又は2に記載の分離体。
【請求項6】
膜蒸留に用いられる、請求項1又は2に記載の分離体。
【請求項7】
多数の細孔(20)を有し、被処理液(d)に含まれる被分離液体(Lq)を蒸気(v)の状態で透過させることにより、前記被処理液から前記被分離液体を分離するための分離体(1)の設計方法であって、
前記分離体の気孔率は20%以上であり、
前記被処理液の表面張力をσ、
前記分離体の表面に対する前記被処理液の接触角をθ、
前記分離体にかかる最大圧力をP、とし、
特定細孔径Daを、Da=-4σcosθ/P にて定義したとき、
前記分離体のメジアン細孔径D50が、前記特定細孔径Daに対して、
Da/10<D50<Da/1.5 を満たすように設計し、
前記多数の細孔のうち前記特定細孔径Daよりも大きい細孔径を有する前記細孔を粗大細孔としたとき、
すべての前記細孔の合計容積に対する、前記粗大細孔の合計容積の割合である粗大孔容積率が、所定の値以下となるように設計する、分離体の設計方法。
発明の詳細な説明
【技術分野】
【0001】
本発明は、分離体及びその設計方法に関する。
続きを表示(約 2,100 文字)
【背景技術】
【0002】
例えば、特許文献1に開示されているように、原料液中の溶媒を蒸気の状態で透過させることにより、原料液を濃縮することができる膜蒸留用膜が知られている。特許文献1に記載の膜蒸留用膜は、平均孔径や空隙率を所定の範囲に規定している。そして、特許文献1には、細孔における平均孔径に対する最大孔径の比である孔径分布を、1.2~2.5の範囲内とすることにより、蒸気透過性と膜蒸留用膜における原料液の浸入抑制との両立を図る旨が記載されている。
【先行技術文献】
【特許文献】
【0003】
特開2023-121811号公報
【発明の概要】
【発明が解決しようとする課題】
【0004】
しかしながら、特許文献1に記載の膜蒸留用膜によって、原料液である被処理液から水等の被分離液体を分離するにあたっては、下記の観点で改善の余地がある。すなわち、膜蒸留用膜の細孔を、特許文献1に記載の条件範囲内に設定したとしても、被分離液体の蒸気の透過効率が低すぎたり、被処理液が透過しすぎたりするという事象が懸念される。それゆえ、分離効率と分離性能との両立という観点において、改善の余地がある。
【0005】
本発明は、かかる課題に鑑みてなされたものであり、分離効率を確保しつつ、分離性能を向上することができる分離体及びその設計方法を提供しようとするものである。
【課題を解決するための手段】
【0006】
本発明の一態様は、多数の細孔(20)を有し、被処理液(d)に含まれる被分離液体(Lq)を蒸気(v)の状態で透過させることにより、前記被処理液から前記被分離液体を分離するための分離体(1)であって、
前記分離体の気孔率は20%以上であり、
前記被処理液の表面張力をσ、
前記分離体の表面に対する前記被処理液の接触角をθ、
前記分離体にかかる最大圧力をP、とし、
特定細孔径Daを、Da=-4σcosθ/P にて定義したとき、
前記分離体のメジアン細孔径D50は、前記特定細孔径Daに対して、
Da/10<D50<Da/1.5 を満たし、
前記多数の細孔のうち前記特定細孔径Daよりも大きい細孔径を有する前記細孔を粗大細孔としたとき、
すべての前記細孔の合計容積に対する、前記粗大細孔の合計容積の割合である粗大孔容積率は、所定の値以下である、分離体にある。
【0007】
本発明の他の態様は、多数の細孔(20)を有し、被処理液(d)に含まれる被分離液体(Lq)を蒸気(v)の状態で透過させることにより、前記被処理液から前記被分離液体を分離するための分離体(1)の設計方法であって、
前記分離体の気孔率は20%以上であり、
前記被処理液の表面張力をσ、
前記分離体の表面に対する前記被処理液の接触角をθ、
前記分離体にかかる最大圧力をP、とし、
特定細孔径Daを、Da=-4σcosθ/P にて定義したとき、
前記分離体のメジアン細孔径D50が、前記特定細孔径Daに対して、
Da/10<D50<Da/1.5 を満たすように設計し、
前記多数の細孔のうち前記特定細孔径Daよりも大きい細孔径を有する前記細孔を粗大細孔としたとき、
すべての前記細孔の合計容積に対する、前記粗大細孔の合計容積の割合である粗大孔容積率が、所定の値以下となるように設計する、分離体の設計方法にある。
【発明の効果】
【0008】
上記分離体において、メジアン細孔径D50は、「Da/10<D50<Da/1.5」を満たし、かつ、粗大孔容積率は、所定の値以下である。それゆえ、被処理液から被分離液体を充分に分離することができると共に、被処理液が分離体を通過することを充分に抑制できる。その結果、分離効率を確保しつつ、分離性能を向上することができる。
【0009】
上記分離体の設計方法においては、メジアン細孔径D50が、「Da/10<D50<Da/1.5」を満たすように設計し、かつ、粗大孔容積率が、所定の値以下となるように設計する。それゆえ、被処理液から被分離液体を充分に分離することができると共に、被処理液が分離体を通過することを充分に抑制できる。その結果、分離効率を確保しつつ、分離性能を向上することができる。
【0010】
以上のごとく、上記態様によれば、分離効率を確保しつつ、分離性能を向上することができる分離体及びその設計方法を提供することができる。
なお、特許請求の範囲及び課題を解決する手段に記載した括弧内の符号は、後述する実施形態に記載の具体的手段との対応関係を示すものであり、本発明の技術的範囲を限定するものではない。
【図面の簡単な説明】
(【0011】以降は省略されています)
この特許をJ-PlatPat(特許庁公式サイト)で参照する
関連特許
株式会社デンソーウェーブ
筐体
1か月前
株式会社デンソー
分離体
1日前
株式会社デンソー
回転機
1か月前
株式会社デンソー
電動弁
15日前
株式会社デンソー
電子装置
25日前
株式会社デンソー
電子装置
1か月前
株式会社デンソー
摺動機構
14日前
株式会社デンソー
摺動機構
14日前
株式会社デンソー
電気回路
9日前
株式会社デンソー
熱交換器
14日前
株式会社デンソー
電子装置
1か月前
株式会社デンソー
電子装置
15日前
株式会社デンソー
電解装置
16日前
株式会社デンソー
制御装置
17日前
株式会社デンソー
撮像装置
14日前
株式会社デンソー
撮像装置
14日前
株式会社デンソー
光学部材
1日前
株式会社デンソー
検出装置
1か月前
株式会社デンソー
光学部材
1日前
株式会社デンソー
反力装置
1か月前
株式会社デンソー
センサ装置
22日前
株式会社デンソー
電流センサ
1か月前
株式会社デンソー
半導体装置
14日前
株式会社デンソー
農業用装置
1か月前
株式会社デンソー
半導体装置
1か月前
株式会社デンソー
熱交換装置
29日前
株式会社デンソー
半導体装置
16日前
株式会社デンソー
熱交換部材
16日前
株式会社デンソー
レーダ装置
1か月前
株式会社デンソー
半導体装置
24日前
株式会社デンソーテン
インバータ
1か月前
株式会社デンソー
半導体装置
1日前
株式会社デンソートリム
鞍乗り車両
23日前
株式会社デンソー
ヒータ装置
23日前
株式会社デンソー
センサ装置
22日前
株式会社デンソー
車両制御装置
1か月前
続きを見る
他の特許を見る