TOP
|
特許
|
意匠
|
商標
特許ウォッチ
Twitter
他の特許を見る
公開番号
2025157712
公報種別
公開特許公報(A)
公開日
2025-10-16
出願番号
2024059884
出願日
2024-04-03
発明の名称
回転工具用治具
出願人
カツデン株式会社
代理人
個人
,
個人
,
個人
,
個人
,
個人
主分類
B25B
21/00 20060101AFI20251008BHJP(手工具;可搬型動力工具;手工具用の柄;作業場設備;マニプレータ)
要約
【課題】予め塗装したボルト類を、その塗装を傷つけることなく効率よく打ち込み作業をする。
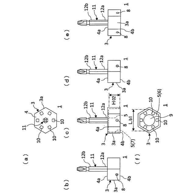
【解決手段】複数の硬質樹脂からなる第二部材21と鋼製の第一部材1とから治具30を構成する(a)。回転工具(インパクトドライバー)33に取り付けた第一部材1の回転凹部5内に選択した第二部材21を嵌挿し、タッピングビス35を第二部材21のボルト類嵌挿部25に嵌挿する(b)。第二部材21の他面24bは第一部材1の平盤体3の他面4bより突出するので、タッピングビス35の頭部36は、第一部材1に触れることなく、第二部材21のボルト類嵌挿部25に挿入でき、かつ回転工具33で回転打ち込みができる。
【選択図】図1
特許請求の範囲
【請求項1】
ボルト類の頭部を回転させる回転工具に装着する治具であり、
一側を前記回転工具に装着する取付軸を備え、他側に前記ボルト類の頭部を嵌挿できるボルト類嵌挿部を備え、以下のように構成したことを特徴とする回転工具用の治具。
(1) 前記治具は、前記取付軸を備える鋼製の第一部材と、平盤状でボルト類嵌挿部を備える硬質樹脂材料製の第二部材とを備えた。
(2) 前記第一部材は、平盤状の盤体の一側に前記取付軸が固定され、前記盤体の他側に前記第二部材の多角形の外周係止部を嵌挿する回転凹部を備えた。
(3) 前記第一部材の1個と、同一の外周係止部で異なる径のボルト類嵌挿部を備える第二部材の複数個とを組み合わせて構成された。
(4) 前記第一部材に前記第二部材を嵌挿した状態で、前記第二部材の先端面が、前記第一部材の先端面から突出するように、前記第一部材と前記第二部材を構成した。
続きを表示(約 330 文字)
【請求項2】
第一部材は、前記盤体は前記取付軸を固定した一側で、前記取付軸の周りに、一側から回転凹部側に向けて貫通する取出孔を形成したことを特徴とする請求項1に記載の回転工具用の治具。
【請求項3】
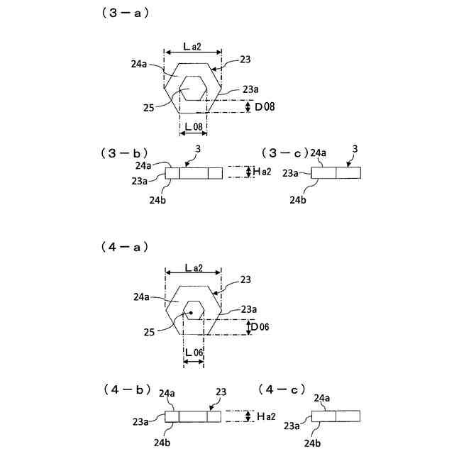
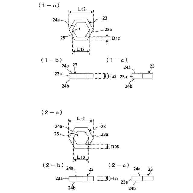
第一部材の回転凹部で開口縁から底までの深さをH1とし、第二部材の基体の厚さをH2とした場合、
H2>H1
としたことを特徴とする請求項1に記載の回転工具用の治具。
【請求項4】
以下のように構成したことを特徴とする請求項1に記載の回転工具用の治具。
(1) 第二部材で、基体に一側から他側に向けて開口を形成してボルト類嵌挿部と形成した。
(2) 第一部材で、回転凹部の底に保護シートを取り付けた。
発明の詳細な説明
【技術分野】
【0001】
本発明は、ボルトやタッピングビスのように、ねじ軸に頭部を形成したボルト類を締める際に使用する回転工具とボルト類との間に入れて使用する回転工具用治具に関する。
続きを表示(約 1,700 文字)
【背景技術】
【0002】
ボルトやタッピングビスのように、ねじ軸に多角形(通常は6角形)の頭部を形成したボルト類を回転するために、頭部の形状に合わせた凹部であるボルト類嵌挿部を備えた治具を、インパクトレンチなどの回転工具のチャックに差し込み締めて、ボルト類嵌挿部にボルト類の頭部を嵌挿して、回転工具でボルトやタッピングビスを打ち込んでいた。
一般にボルト類の頭部やナットでは、頭部(ナット)の径が異なるボルト類に合わせて、様々な径の治具を用意して、回転工具のチャックに着脱しているので、作業が煩雑となる第一の問題があった。
【0003】
また、壁などに階段などをタッピングビスで取り付ける場合、施工後に壁の内装に合わせて、露出するタッピングビスの頭部を各種方法により塗装することがあった。この場合、1本1本塗装する作業が煩雑であり、予め塗装がされたタッピングビスを使用する場合もあった。この場合、一般に治具は強度や硬度が必要であり、鋼製が採用されていたので、治具でタッピングビスの塗装を傷付けるという第二の問題があった。
【0004】
第一の問題に対応するために、治具に段差を付けて底側を小径にする提案がされている(特許文献1、2)。また、第二の問題に対応するために弾性体からなる螺入部を設けた治具を使用する提案がなされている(特許文献1)。
【先行技術文献】
【特許文献】
【0005】
実開H03-44566号公報
特開2015-36187号公報
【発明の概要】
【発明が解決しようとする課題】
【0006】
前記の段差を設けて底側の径を小さくして、より小さなボルト類の径に対応する必要があり、治具の軸方向の長さが長くなり、回転工具に装着した際に、安定性に欠ける問題点があった。
また、弾性体からなる螺入部を設けた治具を設けた場合、弾性体部分以外が鋼製であるので、弾性体以外の部分にボルト類の頭部があたり、やはりボルト類の頭部を傷つけることを防止できなかった。逆に、弾性体以外の部分にボルト類の頭部があたらないようにゆっくり慎重に作業をした場合には、作業効率が悪くなるという問題点があった。
【課題を解決するための手段】
【0007】
本発明は、回転工具に装着できる鋼製の第一部材とボルト類嵌挿部を備える平盤状の硬質樹脂製の第二部材とを備え、かつ第二部材の先端面を第一部材の先端面より突出するように構成したので、前記問題点を解決した。
【0008】
すなわち、この発明は、ボルト類の頭部を回転させる回転工具に装着する治具であり、一側を前記回転工具に装着する取付軸を備え、他側に前記ボルト類の頭部を嵌挿できるボルト類嵌挿部を備え、以下のように構成したことを特徴とする回転工具用の治具である。
(1) 前記治具は、前記取付軸を備える鋼製の第一部材と、平盤状でボルト類嵌挿部を備える硬質樹脂材料製の第二部材とを備えた。
(2) 前記第一部材は、平盤状の盤体の一側に前記取付軸が固定され、前記盤体の他側に前記第二部材の多角形の外周係止部を嵌挿する回転凹部を備えた。
(3) 前記第一部材の1個と、同一の外周係止部で異なる径のボルト類嵌挿部を備える第二部材の複数個とを組み合わせて構成された。
(4) 前記第一部材に前記第二部材を嵌挿した状態で、前記第二部材の先端面が、前記第一部材の先端面から突出するように、前記第一部材と前記第二部材を構成した。
【0009】
また、前記において、第一部材は、前記盤体は前記取付軸を固定した一側で、前記取付軸の周りに、一側から回転凹部側に向けて貫通する取出孔を形成して構成したことを特徴とする回転工具用の治具である。
【0010】
また、第一部材の回転凹部で開口縁から底までの深さをH1とし、第二部材の基体の厚さをH2とした場合、
H2>H1
としたことを特徴とする回転工具用の治具である。
(【0011】以降は省略されています)
この特許をJ-PlatPat(特許庁公式サイト)で参照する
関連特許
カツデン株式会社
回転工具用治具
1か月前
個人
フラワーホッチキス。
1か月前
個人
手持ち挟持具
1か月前
川崎重工業株式会社
ロボット
2か月前
株式会社不二越
ロボット
2か月前
CKD株式会社
把持装置
2日前
トヨタ自動車株式会社
学習装置
17日前
株式会社竹中工務店
補助セット
2か月前
川崎重工業株式会社
ハンド
1か月前
ダイセイ株式会社
ロボット自動刻印装置
2日前
株式会社マキタ
ハンマドリル
1か月前
株式会社マキタ
ハンマドリル
1か月前
トヨタ自動車株式会社
ロボット
2か月前
瓜生製作株式会社
電動締付工具
10日前
工機ホールディングス株式会社
作業機
1か月前
川崎重工業株式会社
塗装システム
1か月前
株式会社安川電機
ロボット
1か月前
トヨタ自動車株式会社
軌道生成装置
2か月前
株式会社不二越
垂直多関節ロボット
17日前
株式会社マキタ
集塵アタッチメント
9日前
株式会社三共コーポレーション
工具保持具
1か月前
トヨタ自動車株式会社
ロボットハンド
1か月前
アネックスツール株式会社
ドライバービット
2か月前
工機ホールディングス株式会社
作業機
1か月前
株式会社マキタ
現場用作業機
1か月前
株式会社不二越
ロボットに用いる伝送路
1か月前
ワールド技研株式会社
ロボットセル装置
2か月前
川崎重工業株式会社
ワーク搬送ロボット
1か月前
株式会社マキタ
回転打撃工具
2か月前
セイコーエプソン株式会社
ロボット
2か月前
トヨタ自動車株式会社
ロボットの制御装置
2か月前
山九株式会社
レンチ保持治具
2か月前
NTN株式会社
ハンド
2か月前
NTN株式会社
作業装置
2か月前
NTN株式会社
把持装置
2か月前
株式会社マキタ
電動工具
17日前
続きを見る
他の特許を見る