TOP
|
特許
|
意匠
|
商標
特許ウォッチ
Twitter
他の特許を見る
10個以上の画像は省略されています。
公開番号
2025125162
公報種別
公開特許公報(A)
公開日
2025-08-27
出願番号
2024021040
出願日
2024-02-15
発明の名称
移載治具
出願人
ダイハツ工業株式会社
代理人
個人
,
個人
,
個人
主分類
B25B
11/02 20060101AFI20250820BHJP(手工具;可搬型動力工具;手工具用の柄;作業場設備;マニプレータ)
要約
【課題】シール材が取付面に塗布されたワークの移載作業を容易にする。
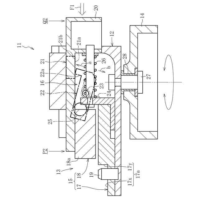
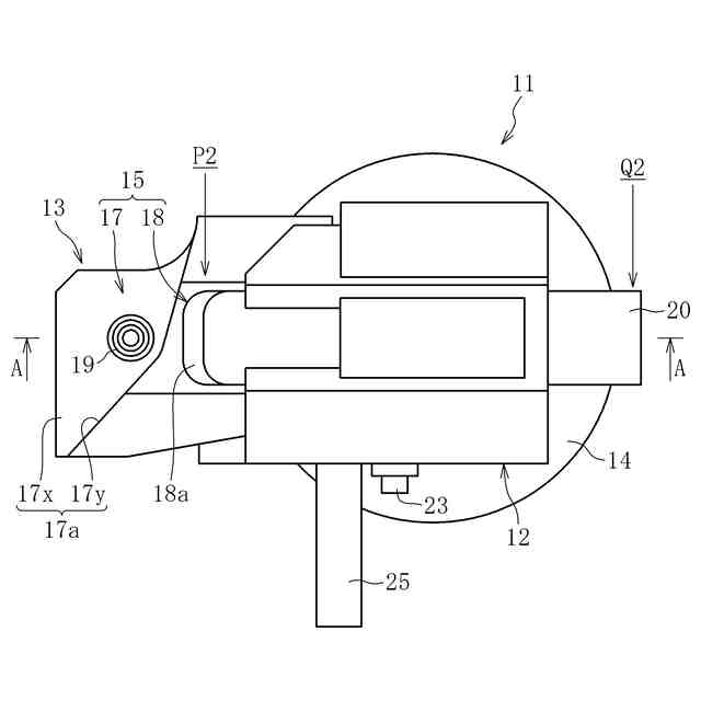
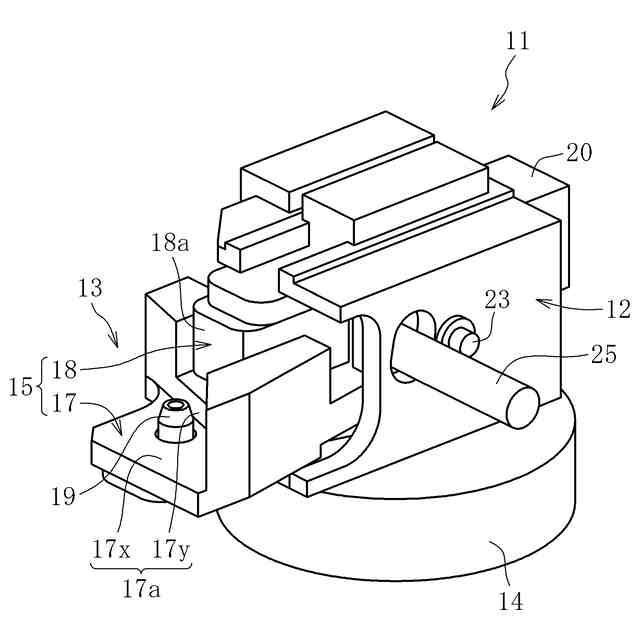
【解決手段】移載治具11は、取付面2にシール材3が塗布されたワークを移載する治具である。移載治具11は、取付面2の外側に配置される治具本体12と、治具本体12に設けられ、治具本体12をワークに着脱可能に固定する固定部13と、治具本体12に回転自在に設けられ、手で把持可能なハンドル部14とを備える。
【選択図】図2
特許請求の範囲
【請求項1】
取付面にシール材が塗布されたワークを移載する移載治具において、
前記取付面の外側に配置される治具本体と、
前記治具本体に設けられ、前記治具本体を前記ワークに着脱可能に固定する固定部と、
前記治具本体に回転自在に設けられ、手で把持可能なハンドル部とを備えることを特徴とする移載治具。
続きを表示(約 380 文字)
【請求項2】
前記ハンドル部は、前記取付面の垂線方向に沿って延びる軸線周りに回転自在である請求項1に移載治具。
【請求項3】
前記ハンドル部は、前記取付面とは反対側に位置するように、前記治具本体に設けられている請求項1又は2に記載の移載治具。
【請求項4】
前記ハンドル部は、円盤状である請求項1又は2に記載の移載治具。
【請求項5】
前記固定部は、前記ワークの突出部を挟持する挟持部と、前記挟持部による前記突出部の挟持状態のロック及びロック解除が可能なロック機構とを備える請求項1又は2に記載の移載治具。
【請求項6】
前記ロック機構は、前記ハンドル部を片手で把持したまま、前記ハンドル部を把持した前記片手で前記ロック及び前記ロック解除の操作が可能に構成されている請求項5に記載の移載治具。
発明の詳細な説明
【技術分野】
【0001】
本発明は、ワークを移載するための移載治具に関する。
続きを表示(約 1,200 文字)
【背景技術】
【0002】
特許文献1には、タイミングチェーンカバーの取付面とエンジン本体の取付面との間にシール材を介在させた状態で、タイミングチェーンカバーをエンジン本体に組み付ける構造が開示されている。
【先行技術文献】
【特許文献】
【0003】
特開2010-116020号公報
【発明の概要】
【発明が解決しようとする課題】
【0004】
シール材を介在させてタイミングチェーンカバーをエンジン本体に組み付ける場合、タイミングチェーンカバーの取付面に予めシール材が塗布される場合がある。この場合、シール材が塗布された取付面を上に向けた状態で準備されたタイミングチェーンカバーをエンジン本体の上に移載するのが通例である。そのため、タイミングチェーンカバーは、シール材が塗布された取付面が下を向くように、上下反転させながらエンジン本体の上に移載する必要がある。しかしながら、シール材が塗布されている部分は手で触れることができないため、タイミングチェーンカバーを手で把持できる範囲が限定され、移載作業が非常に困難になるという問題がある。
【0005】
本発明は、シール材が取付面に塗布されたタイミングチェーンカバーなどのワークの移載作業を容易にすることを課題とする。
【課題を解決するための手段】
【0006】
(1) 上記の課題を解決するために創案された本発明は、取付面にシール材が塗布されたワークを移載する移載治具において、取付面の外側に配置される治具本体と、治具本体に設けられ、治具本体をワークに着脱可能に固定する固定部と、治具本体に回転自在に設けられ、手で把持可能なハンドル部とを備えることを特徴とする。
【0007】
このようにすれば、ワークの取付面の外側に移載治具を固定しつつ、手で移載治具のハンドル部を把持して、ワークの移載作業を行うことができる。この際、ハンドル部は治具本体に対して回転自在であるので、ワークの姿勢に応じてハンドル部が回転する。したがって、ハンドル部を把持する手を持ち替えなくても、ワークの上下反転を含む移載作業を容易に行うことができる。
【0008】
(2) 上記(1)の構成において、ハンドル部は、取付面の垂線方向に沿って延びる軸線周りに回転自在であることが好ましい。
【0009】
このようにすれば、手でハンドル部を把持した状態のまま、ワークの姿勢に応じてハンドル部が回転しやすくなるため、ワークの移載作業を行いやすくなる。
【0010】
(3) 上記(1)又は(2)の構成において、ハンドル部は、取付面とは反対側に位置するように、治具本体に設けられていることが好ましい。
(【0011】以降は省略されています)
この特許をJ-PlatPat(特許庁公式サイト)で参照する
関連特許
ダイハツ工業株式会社
塗布装置
18日前
ダイハツ工業株式会社
溶接装置
11日前
ダイハツ工業株式会社
制御装置
19日前
ダイハツ工業株式会社
車両構造
1か月前
ダイハツ工業株式会社
人流取得装置
1か月前
ダイハツ工業株式会社
電極研磨装置
1か月前
ダイハツ工業株式会社
小型電動車両
1か月前
ダイハツ工業株式会社
小型電動車両
1か月前
ダイハツ工業株式会社
小型電動車両
1か月前
ダイハツ工業株式会社
小型電動車両
1か月前
ダイハツ工業株式会社
3Dプリンタ
19日前
ダイハツ工業株式会社
移動支援装置
24日前
ダイハツ工業株式会社
移動支援装置
1か月前
ダイハツ工業株式会社
車両用制御装置
1か月前
ダイハツ工業株式会社
車両用制御装置
3日前
ダイハツ工業株式会社
剪断穴あけ装置
12日前
ダイハツ工業株式会社
電線温度推定装置
17日前
ダイハツ工業株式会社
溶接電極の研磨装置
12日前
ダイハツ工業株式会社
樹脂製アウタパネル部材
1か月前
ダイハツ工業株式会社
樹脂製品及びその製造方法
1か月前
ダイハツ工業株式会社
自動搬送装置及び自動搬送方法
1か月前
ダイハツ工業株式会社
ハイブリッド車両駆動用ユニット
19日前
ダイハツ工業株式会社
落雷予測システム及び落雷予測方法
6日前
ダイハツ工業株式会社
片側スポット溶接方法及び制御装置
1か月前
ダイハツ工業株式会社
片側スポット溶接のワーク構造評価方法
1か月前
エヌ・イーケムキャット株式会社
排ガス浄化用触媒
1か月前
ダイハツ工業株式会社
車両用灯具
17日前
トヨタ自動車株式会社
車両、蓄電装置および温度調整装置
12日前
個人
折りたたみ工具
2か月前
個人
フラワーホッチキス。
27日前
個人
手持ち挟持具
5日前
株式会社三協システム
製函機
2か月前
川崎重工業株式会社
ロボット
1か月前
株式会社不二越
ロボット
1か月前
株式会社竹中工務店
補助セット
1か月前
株式会社三協システム
移載装置
2か月前
続きを見る
他の特許を見る