TOP
|
特許
|
意匠
|
商標
特許ウォッチ
Twitter
他の特許を見る
公開番号
2025123682
公報種別
公開特許公報(A)
公開日
2025-08-25
出願番号
2024019287
出願日
2024-02-13
発明の名称
締結用工具
出願人
日本精工株式会社
代理人
個人
,
個人
主分類
B25B
13/48 20060101AFI20250818BHJP(手工具;可搬型動力工具;手工具用の柄;作業場設備;マニプレータ)
要約
【課題】部品をボルト締結する際に当該部品を汚染から保護しつつ容易に当該部品を締結することができる締結用工具を提供すること。
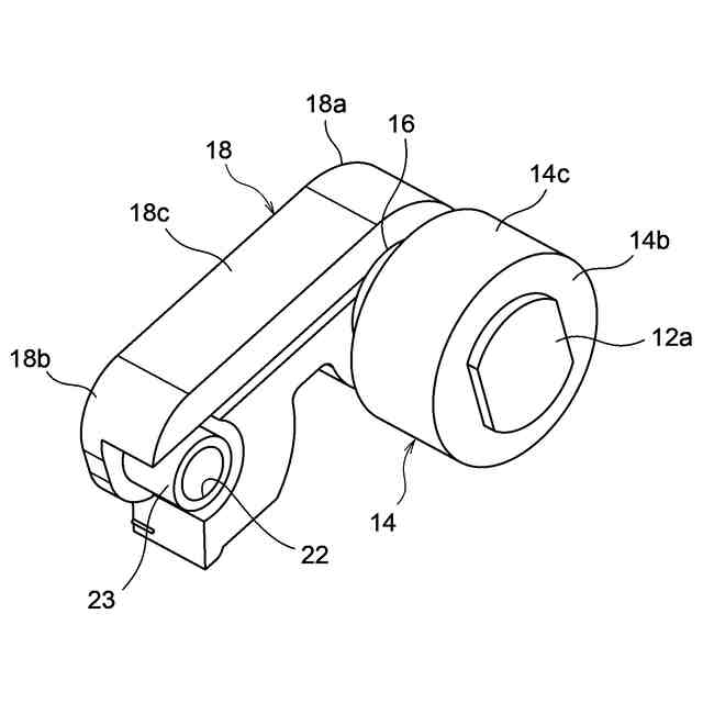
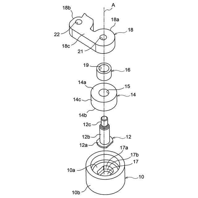
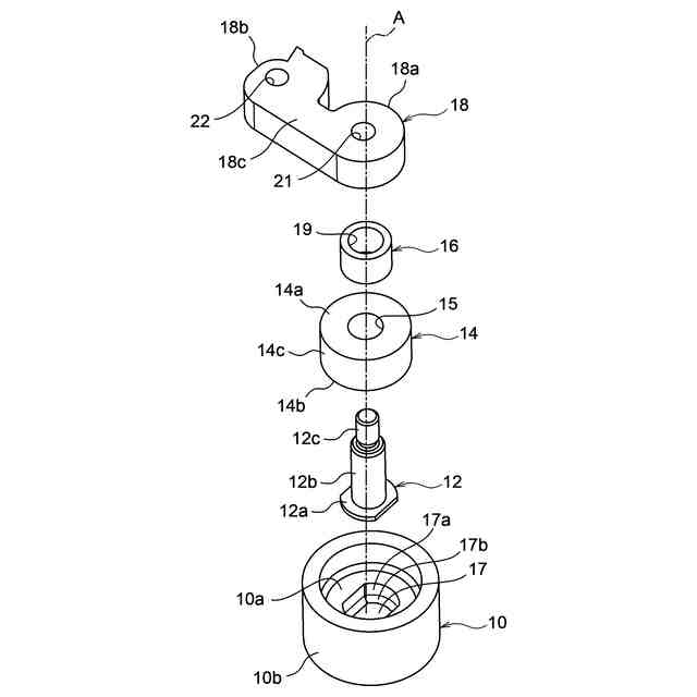
【解決手段】固定対象物の貫通孔を貫通するボルトにより前記固定対象物を固定先に締結する締結用工具であって、前記ボルトの頭部に係合する係合部と、前記ボルトが前記固定対象物の前記貫通孔を貫通した状態で、前記固定対象物の少なくとも一部を収容する収容部と、を有する。前記係合部と前記収容部は、前記収容部を前記ボルトの軸回りに回転すると、前記係合部も前記軸回りに回転するように連結されている。
【選択図】 図2
特許請求の範囲
【請求項1】
固定対象物の貫通孔を貫通するボルトにより前記固定対象物を固定先に締結する締結用工具であって、
前記ボルトの頭部に係合する係合部と、
前記ボルトが前記固定対象物の前記貫通孔を貫通した状態で、前記固定対象物の少なくとも一部を収容する収容部と、を有し、
前記係合部と前記収容部は、前記収容部を前記ボルトの軸回りに回転すると、前記係合部も前記軸回りに回転するように連結されている締結用工具。
続きを表示(約 500 文字)
【請求項2】
前記係合部は前記ボルトの頭部と同じ形状の孔であり、前記締結用工具は、当該孔が形成されて且つ前記ボルトの軸に垂直な部材を有し、当該部材は前記収容部と一体的に形成されている請求項1に記載の締結用工具。
【請求項3】
前記収容部は前記ボルトの軸方向に延びる筒状部材である請求項2に記載の締結用工具。
【請求項4】
前記筒状部材は、前記固定対象物の外周面を覆う請求項3に記載の締結用工具。
【請求項5】
前記筒状部材の外径は、前記筒状部材を手で回転させた場合に前記ボルトを前記軸回りに回転させるトルクを発生できる大きさを有する請求項3に記載の締結用工具。
【請求項6】
前記収容部は前記固定対象物の略全体を収容する請求項1に記載の締結用工具。
【請求項7】
前記固定対象物と前記固定先との間には、前記固定対象物と前記固定先との接触を回避するためのスペーサが設けられる請求項1に記載の締結用工具。
【請求項8】
前記締結用工具は無菌環境下で使用される請求項1~7のいずれかに記載の締結用工具。
発明の詳細な説明
【技術分野】
【0001】
本発明は締結用工具に関し、特にカバー機能を備える締結用工具に関する。
続きを表示(約 1,200 文字)
【背景技術】
【0002】
医療分野などで使用する機器(例えば、医療用インスツルメント)では、診療中の唾液や血液の飛散を防止するために、医療用インスツルメントに汚染防止用カバーを取り付けることがある(例えば、特許文献1)。
【先行技術文献】
【特許文献】
【0003】
特開2018-121798号公報
【発明の概要】
【発明が解決しようとする課題】
【0004】
また、医療分野などで使用する機器では定期的な部品の洗浄や交換が必要となる。特に細胞等に触れる部品は高頻度の洗浄・交換が求められると共に、洗浄後の部品取付時や交換部品取付時の汚染を防ぐために当該部品に手が触れてはいけない場合が多い。しかしながら、特許文献1には、部品取付時の汚染を防止するための構成は開示されていない。
【0005】
本開示では、上記した課題を解決するために、部品を取り付ける(ボルト締結する)際に当該部品を汚染から保護しつつ容易に当該部品を固定(締結)することができる締結用工具を提供することを目的とする。
【課題を解決するための手段】
【0006】
上記目的を達成するために、本発明の一つの態様による締結用工具は、固定対象物の貫通孔を貫通するボルトにより前記固定対象物を固定先に締結する締結用工具であって、前記ボルトの頭部に係合する係合部と、前記ボルトが前記固定対象物の前記貫通孔を貫通した状態で、前記固定対象物の少なくとも一部を収容する収容部と、を有する。前記係合部と前記収容部は、前記収容部を前記ボルトの軸回りに回転すると、前記係合部も前記軸回りに回転するように連結されている。
【0007】
好ましくは、前記係合部は前記ボルトの頭部と同じ形状の孔であり、前記締結用工具は、当該孔が形成されて且つ前記ボルトの軸に垂直な部材を有し、当該部材は前記収容部と一体的に形成されている。
【0008】
好ましくは、前記収容部は前記ボルトの軸方向に延びる筒状部材であり、前記筒状部材は、前記固定対象物の外周面を覆う。
好ましくは、前記筒状部材の外径は、前記筒状部材を手で回転させた場合に前記ボルトを前記軸回りに回転させるトルクを発生できる大きさを有する。
【0009】
前記収容部は前記固定対象物の略全体を収容してよい。
前記固定対象物と前記固定先との間には、前記固定対象物と前記固定先との接触を回避するためのスペーサを設けてもよい。
前記締結用工具は無菌環境下で使用されてもよい。
【発明の効果】
【0010】
本発明によれば、部品を取り付ける(ボルト締結する)際に当該部品を汚染から保護しつつ容易に当該部品を固定(締結)することができる。
【図面の簡単な説明】
(【0011】以降は省略されています)
この特許をJ-PlatPat(特許庁公式サイト)で参照する
関連特許
日本精工株式会社
保持器
1か月前
日本精工株式会社
分注装置
1か月前
日本精工株式会社
締結用工具
1か月前
日本精工株式会社
ボールねじ
17日前
日本精工株式会社
リニアガイド
1か月前
日本精工株式会社
遊星歯車装置
1か月前
日本精工株式会社
アンギュラ玉軸受
1か月前
日本精工株式会社
突入電流抑止回路
1か月前
日本精工株式会社
ハブユニット軸受
27日前
日本精工株式会社
リニアガイド装置
1か月前
日本精工株式会社
シール付き玉軸受
1か月前
日本精工株式会社
磁歪式トルクセンサ
17日前
日本精工株式会社
逆入力遮断クラッチ
1か月前
日本精工株式会社
逆入力遮断クラッチ
1か月前
日本精工株式会社
アクチュエータシステム
5日前
日本精工株式会社
直動案内装置の組立方法
3日前
日本精工株式会社
絶縁転がり軸受の製造方法
1か月前
日本精工株式会社
ボールねじ部品の製造方法
25日前
日本精工株式会社
潤滑機能付き転がり軸受装置
17日前
日本精工株式会社
直動案内装置及びその製造方法
3日前
日本精工株式会社
ころ軸受及びころ軸受の設計方法
3日前
日本精工株式会社
回路放熱機構および回路放熱方法
17日前
協同油脂株式会社
グリース組成物
5日前
日本精工株式会社
モータ装置、およびモータ制御方法
1か月前
日本精工株式会社
モータ制御装置およびモータ制御方法
17日前
日本精工株式会社
含油部材付歯車、直動アクチュエータ
7日前
日本精工株式会社
転がり軸受及び転がり軸受の製造方法
1か月前
日本精工株式会社
ボールねじの設計方法およびボールねじ
1か月前
日本精工株式会社
入力異常検出装置および入力異常検出方法
17日前
日本精工株式会社
細胞培養成形装置および細胞培養片の製造方法
17日前
日本精工株式会社
アクチュエータおよびアクチュエータの製造方法
1か月前
日本精工株式会社
ボールねじ用ナットの製造方法、及びボールねじ
1か月前
日本精工株式会社
グリース組成物及びグリース組成物を充填した転動装置
28日前
日本精工株式会社
モデル生成プログラム、モデル生成方法、細胞選別装置および学習済みモデル
4日前
個人
固定補助具
1か月前
個人
折りたたみ工具
28日前
続きを見る
他の特許を見る