TOP
|
特許
|
意匠
|
商標
特許ウォッチ
Twitter
他の特許を見る
公開番号
2025142954
公報種別
公開特許公報(A)
公開日
2025-10-01
出願番号
2024042605
出願日
2024-03-18
発明の名称
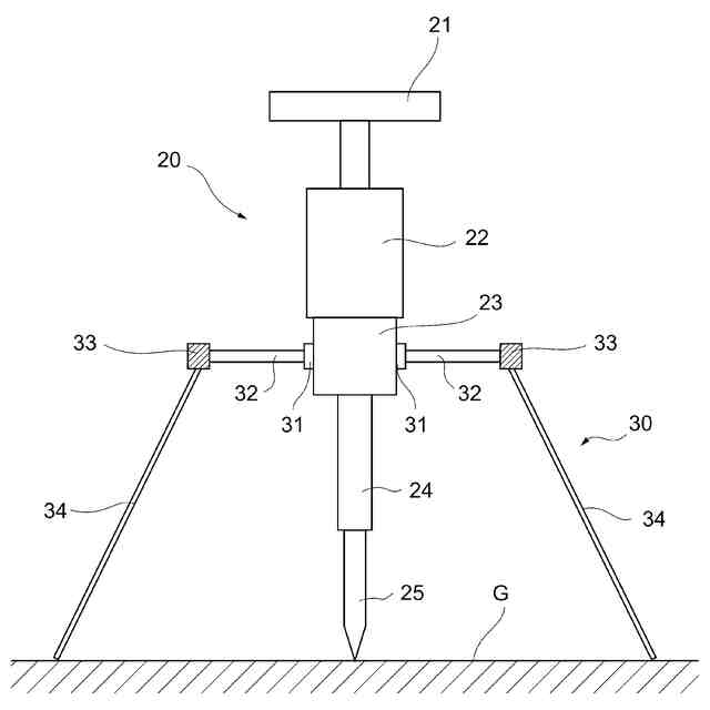
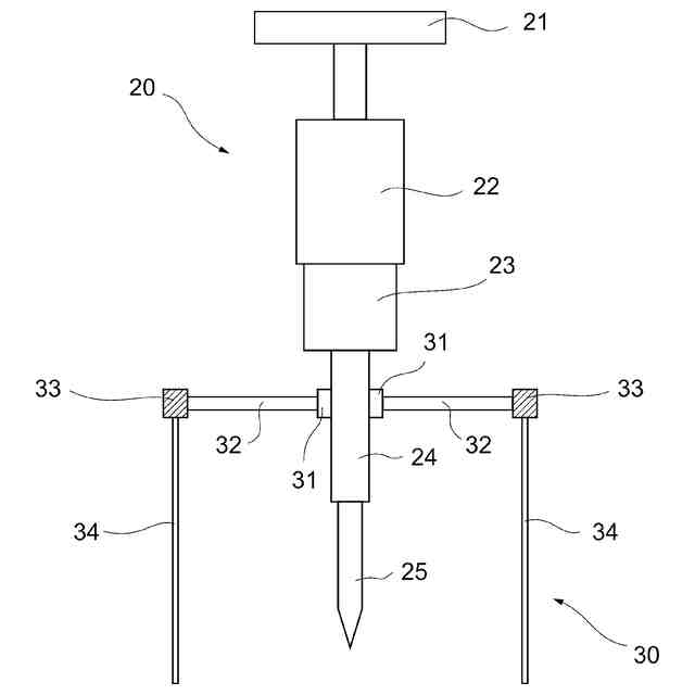
飛散防止装置
出願人
株式会社NIPPO
代理人
弁理士法人プロウィン
主分類
E04G
23/08 20060101AFI20250924BHJP(建築物)
要約
【課題】斫り作業に要する人員数と工程数を削減し、さらに作業効率を向上することが可能な飛散防止装置を提供する。
【解決手段】ハンドブレーカ(20)に取り付けられる飛散防止装置(30)であって、ハンドブレーカ(20)の周囲を囲んで配置される環状保持部(33)と、環状保持部(33)の周方向に沿って設けられた複数の飛散防止片(34)と、環状保持部(33)をハンドブレーカ(20)から離間した位置に保持して装着する装着部(31)を備える飛散防止装置(30)。
【選択図】図2
特許請求の範囲
【請求項1】
ハンドブレーカに取り付けられる飛散防止装置であって、
前記ハンドブレーカの周囲を囲んで配置される環状保持部と、
前記環状保持部の周方向に沿って設けられた複数の飛散防止片と、
前記環状保持部を前記ハンドブレーカから離間した位置に保持して装着する装着部を備えることを特徴とする飛散防止装置。
続きを表示(約 460 文字)
【請求項2】
請求項1に記載の飛散防止装置であって、
前記環状保持部は、前記装着部による前記ハンドブレーカへの装着位置から、10cm以上離間されていることを特徴とする飛散防止装置。
【請求項3】
請求項1に記載の飛散防止装置であって、
前記飛散防止片は、前記ハンドブレーカの先端よりも下方にまで延伸されていることを特徴とする飛散防止装置。
【請求項4】
請求項1に記載の飛散防止装置であって、
前記飛散防止片は、可撓性を有する樹脂材料で構成されていることを特徴とする飛散防止装置。
【請求項5】
請求項1に記載の飛散防止装置であって、
前記飛散防止片は、前記環状保持部の幅方向において複数が重複して配置されていることを特徴とする飛散防止装置。
【請求項6】
請求項1から5の何れか一つに記載の飛散防止装置であって、
前記環状保持部と前記装着部の間には、開口部が設けられていることを特徴とする飛散防止装置。
発明の詳細な説明
【技術分野】
【0001】
本発明は、飛散防止装置に関し、特にアスファルト混合物層やコンクリート版の撤去時の斫り作業における破砕片の飛散を防止する飛散防止装置に関する。
続きを表示(約 1,900 文字)
【背景技術】
【0002】
従来、道路等の舗装を改修する際に、既設のアスファルト混合物層やコンクリート版を撤去する作業が行われている。例えば、高速道路の舗装表層部のアスファルト混合物層を路面切削機で切削して撤去するときは、施工区間の起点および終点において舗装用カッタで道路横断方向にアスファルト混合物層を切断し、この起点から切削作業を開始し終点で終了する。このとき、起点および終点において路面切削機の切削ロータでは切削しきれないテーパ形状のアスファルト混合物が残存するため、作業員がハンドブレーカを用いて残存するアスファルト混合物を破砕して除去する斫り作業を行う。橋梁の伸縮装置を保護するコンクリート前後のアスファルト混合物層を切削するときにも、同様である。また、橋梁のコンクリート床版上のアスファルト混合物層を切削するときは、床版の不陸によりアスファルト混合物が残存するため、残存するアスファルト混合物の斫り作業が必要となる。
【0003】
ハンドブレーカを用いた斫り作業では、振動するハンドブレーカの先端にてコンクリート表面に打撃を加えて、コンクリートを破砕して除去する。このため、破砕されたコンクリートの破砕片が周囲に飛散して、供用車線を走行中の車両等に破砕片が衝突することを防止するために、作業領域の周囲に破砕片の飛散を防止する柵を設けている(例えば特許文献1,2を参照)。また、ハンドブレーカの先端周囲に円錐状のネットを取り付ける破砕片飛散防止装置も提案されている(例えば特許文献3を参照)。
【先行技術文献】
【特許文献】
【0004】
実用新案登録第3116513号公報
特開2012-162915号公報
実用新案登録第3202047号公報
【発明の概要】
【発明が解決しようとする課題】
【0005】
しかし、特許文献1,2に記載された飛散防止柵では、予め作業領域全体を飛散防止柵で囲み、飛散防止柵で囲まれた範囲内で斫り作業を行うことになる。実際の作業現場においては、供用車線との境界に飛散防止柵を設けることとなるため、突風により飛散防止柵が供用車線側に倒れないように飛散防止柵を押さえる人員を確保する必要がある。また、作業領域を変更する度に、飛散防止柵を再配置する必要があり、作業に必要な人員と工程数が増加するという問題があった。また、飛散防止柵の倒壊を防ぐために押さえる人員が供用車線との境界に位置するため、供用車線の走行領域を制限して走行車両からの安全性を確保する必要があった。
【0006】
また、特許文献3に記載された破砕片飛散防止装置では、ハンドブレーカの先端にのみネットを取り付けるため、飛散防止柵の倒壊を防ぐための人員が不要であり、作業領域の変更も容易である。しかし特許文献3の破砕片飛散防止装置では、飛散を防止するネットが地面方向に拡大する円錐形状であり、網目に対して斜め方向から作業領域を視認することになる。これにより、作業員の視点位置からはハンドブレーカの先端が網目で遮られて視認性が悪くなり、作業効率が低下するという問題があった。また、ネットの網目よりも小さな破砕片や粉塵の飛散を防止する効果が低いという問題もあった。
【0007】
そこで本発明は、上記従来の問題点に鑑みなされたものであり、斫り作業に要する人員数と工程数を削減し、さらに作業効率を向上することが可能な飛散防止装置を提供することを目的とする。
【課題を解決するための手段】
【0008】
上記課題を解決するために、本発明の飛散防止装置は、ハンドブレーカに取り付けられる飛散防止装置であって、前記ハンドブレーカの周囲を囲んで配置される環状保持部と、前記環状保持部の周方向に沿って設けられた複数の飛散防止片と、前記環状保持部を前記ハンドブレーカから離間した位置に保持して装着する装着部を備えることを特徴とする。
【0009】
このような本発明の飛散防止装置では、環状保持部に設けられた飛散防止片で破片の飛散を抑制しながらも、装着部で環状保持部をハンドブレーカから離間した位置に保持しているため、環状保持部の内側から路面の作業位置を良好に視認することができ、斫り作業に要する人員数と工程数を削減し、さらに作業効率を向上することが可能となる。
【0010】
また、本発明の一態様では、前記環状保持部は、前記装着部による前記ハンドブレーカへの装着位置から、10cm以上離間されている。
(【0011】以降は省略されています)
この特許をJ-PlatPat(特許庁公式サイト)で参照する
関連特許
個人
接合構造
19日前
個人
屋台
1か月前
個人
タッチミー
18日前
個人
野良猫ハウス
1か月前
個人
安心補助てすり
2日前
個人
転落防止用手摺
1か月前
個人
フェンス
2か月前
個人
居住車両用駐車場
1か月前
個人
ベンリナアングル
18日前
積水樹脂株式会社
柵体
1か月前
ニチハ株式会社
建築板
2か月前
個人
筋交自動設定装置
26日前
個人
熱抵抗多層断熱建材
1か月前
個人
柵
2か月前
個人
補強部材
1か月前
株式会社シンケン
住宅
3日前
個人
身体用シェルター
26日前
個人
身体用シェルター
26日前
個人
防災建築物
8日前
成友建設株式会社
建物
1か月前
鹿島建設株式会社
壁体
1か月前
個人
可搬型供養墓
24日前
株式会社熊谷組
木質材料
1か月前
インターマン株式会社
天井構造
2か月前
イワブチ株式会社
組立柱
1か月前
三協立山株式会社
構造体
26日前
三協立山株式会社
構造体
26日前
三協立山株式会社
構造体
26日前
三協立山株式会社
構造体
3日前
株式会社熊谷組
吊り治具
23日前
株式会社熊谷組
床構成材
16日前
三協立山株式会社
構造体
26日前
三協立山株式会社
構造体
26日前
三協立山株式会社
構造体
26日前
三洋工業株式会社
床構造
3日前
三協立山株式会社
簡易建物
2か月前
続きを見る
他の特許を見る