TOP
|
特許
|
意匠
|
商標
特許ウォッチ
Twitter
他の特許を見る
公開番号
2025150659
公報種別
公開特許公報(A)
公開日
2025-10-09
出願番号
2024051665
出願日
2024-03-27
発明の名称
切削用制御装置
出願人
株式会社NIPPO
代理人
個人
主分類
E01C
23/09 20060101AFI20251002BHJP(道路,鉄道または橋りょうの建設)
要約
【課題】舗装された路面を切削する切削用制御装置に関し、切削深さを示す事前マーキング、切削深さデータの確認、及び切削廃材除去後の再マーキングを不要とし、容易に且つ正確な深さで切削できる切削用制御装置を提供すること。
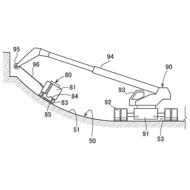
【解決手段】切削用制御装置80は、車両本体81の後部に設けられオペレータが各種操作を行う操作部82と、車両本体81を走行させる走行機構83と、走行距離を計測する走行距離計(不図示)と、バンク51の路面を深さ変更可能(左右の方向で深さ変更可能)に切削する路面切削装置84と、走行機構83や路面切削装置84等の作動を制御する制御部86と、走行距離計で計測した基準位置からの距離に応じた測点及び測点での切削する深さを表示するモニタ87と、を備えている。
【選択図】図5
特許請求の範囲
【請求項1】
舗装された路面を切削する切削用制御装置であって、
前記走路は、進行方向に沿った所定の距離毎に測点が設けられており、
車両本体と、前記車両本体に設けられ前記車両本体を走行させる走行機構と、前記走行機構に設けられ走行距離を計測する走行距離計と、前記車両本体に設けられ前記走路の路面を深さ変更可能に切削する路面切削装置と、前記走行距離計で計測した基準位置からの距離に応じた前記測点及び前記測点での切削する深さを表示するモニタと、を備えていることを特徴とする切削用制御装置。
続きを表示(約 430 文字)
【請求項2】
請求項1記載の切削用制御装置あって、
前記モニタには、前記測点の基準位置からの距離及び切削する走行レーンの番号が表示されることを特徴とする切削用制御装置。
【請求項3】
請求項1又は請求項2記載の切削用制御装置であって、
前記モニタには、切削中の前記測点及び前記測点での切削する深さと、少なくとも次以降の前記測点及び次以降の前記測点での切削する深さが表示されることを特徴とする切削用制御装置。
【請求項4】
請求項1又は請求項2記載の切削用制御装置であって、
予め決められた前記測点に応じた切削深さに前記路面切削装置の切削深さを自動調整する制御部を備えていることを特徴とする切削用制御装置。
【請求項5】
請求項1又は請求項2記載の切削用制御装置であって、
前記走行距離計は、前記測点の位置で計測した距離を補正可能であることを特徴とする切削用制御装置。
発明の詳細な説明
【技術分野】
【0001】
本発明は、舗装された路面を切削する切削用制御装置に関するものである。
続きを表示(約 1,600 文字)
【背景技術】
【0002】
従来、アスファルト舗装の道路等のなかには、一般の自動車が走行する高速道路や一般道の他に、自動車のレースを行うサーキットや自動車の性能試験を行うテストコースがある。サーキットやテストコースには、水平な走路だけでなく、速いスピードで走行するカーブ部分にカーブの内側へ傾斜したバンク(斜面)が形成されている。
【0003】
走路では、自動車が良好に走行するために舗装された路面の改修工事を行うことがあり、走路方向に沿って、路面切削装置の切削ビットを取り付けた切削ロータを回転させて、一旦、舗装された路面を平面的に切削し、再び舗設するものである。従来、舗設されたアスファルト混合物層を切削する路面切削機として特許文献1の路面切削装置が知られている。
【0004】
特許文献1の路面切削装置は、移動体に路面を切削するための切削部が設けられ、該移動体を移動させながら切削部により路面を切削するものである。切削部の前方位置には、切削部により切削される路面の凹凸を自動的に検出する路面凹凸検出機構が設けられ、路面凹凸検出機構4より検出された路面の凹凸に応じて切削部を制御し、切削部3より形成される切削深さを自動的に調整する切削部制御機構が設けられている。切削部は、移動体の進行方向と直交する方向に設けられる自転可能な一本の軸体とこの軸体に所定間隔で移動体の進行方向と直交する方向に複数被嵌固着せしめられる切削体とから構成されている。
【0005】
ところで、舗装された路面を切削する切削用制御装置では、切削廃材を搬出するためのベルトコンベアが取り付けられていない切削用制御装置が使用される。例えば、走路のバンクのアスファルト舗装を切削するときは、切削廃材をベルトコンベアで搬出しないため、切削している走行レーンの斜面下方側である切削機横に切削廃材が残存する。
【0006】
走路は、進行方向に沿った所定の距離毎に測点が設けられており、それぞれの測点の位置に応じて異なる深さに切削する必要があるため、通常、走路の路面のそれぞれの測点位置に、走行レーン毎に切削深さ等をマーキングして目印としている。
【0007】
しかし、特許文献1の路面切削装置についても、切削廃材を搬出するためのベルトコンベアが取り付けられていないため、例えばバンクでは、切削している走行レーンの斜面下方側である切削機横に切削廃材が残存し、次の測点の切削深さが見えなくなる。そのため、作業者が路面切削機の直ぐ横で、切削廃材を除去して切削深さデータを再度確認してマーキングし直す必要があり、作業性が悪いうえ、位置ずれが生じていた。
【先行技術文献】
【特許文献】
【0008】
特開2006-183261号公報
【発明の概要】
【発明が解決しようとする課題】
【0009】
本発明は、以上の点に鑑み、舗装された路面を切削する切削用制御装置に関し、切削深さを示す事前マーキング、切削深さデータの確認、及び切削廃材除去後の再マーキングを不要とし、容易に且つ正確な深さで切削できる切削用制御装置を提供することを課題とする。
【課題を解決するための手段】
【0010】
本発明の実施例によれば、舗装された路面を切削する切削用制御装置であって、
前記走路は、進行方向に沿った所定の距離毎に測点が設けられており、
車両本体と、前記車両本体に設けられ前記車両本体を走行させる走行機構と、前記走行機構に設けられ走行距離を計測する走行距離計と、前記車両本体に設けられ前記走路の路面を深さ変更可能に切削する路面切削装置と、前記走行距離計で計測した基準位置からの距離に応じた前記測点及び前記測点での切削する深さを表示するモニタと、を備えていることを特徴とする。
(【0011】以降は省略されています)
この特許をJ-PlatPat(特許庁公式サイト)で参照する
関連特許
株式会社熊谷組
床版
26日前
株式会社熊谷組
床版
26日前
個人
折り畳み式標識具
1か月前
北越消雪機械工業株式会社
消雪装置
1か月前
白出商事株式会社
縁石銘板(名板)
28日前
株式会社セイトク
防雪パネル
18日前
株式会社NIPPO
距離補正装置
26日前
株式会社NIPPO
斜面用ローラ
27日前
株式会社NIPPO
斜面用ローラ
27日前
株式会社ササキコーポレーション
作業機
25日前
戸田建設株式会社
コンクリート構造
8日前
株式会社NIPPO
切削用制御装置
26日前
三信工業株式会社
床版架設装置
25日前
桑名金属工業株式会社
融雪マットおよび融雪方法
25日前
東亜グラウト工業株式会社
防護柵の支柱構造
26日前
戸田建設株式会社
鋼製ブラケットの取付装置
8日前
戸田建設株式会社
鋼製ブラケットの取付装置
8日前
株式会社NIPPO
バンク用建設機械サポータ装置
27日前
西尾レントオール株式会社
コーンベット型電源装置
20日前
株式会社NIPPO
アスファルトスタッカ制御装置
27日前
日鉄神鋼建材株式会社
補強金具、及び支柱取付構造
26日前
日立建機株式会社
転圧機械
26日前
日鉄建材株式会社
吊り材で支持された足場用床パネル
25日前
鹿島建設株式会社
床版架設方法
11日前
オリエンタル白石株式会社
補強鋼板及び排土方法
18日前
株式会社日本コンポジット工業
壁用構造体
25日前
三井住友建設株式会社
床版拡幅工法
27日前
宮地エンジニアリング株式会社
ワイヤブリッジの設置方法
14日前
株式会社NIPPO
コンクリートスタッカ
1か月前
株式会社プロテックエンジニアリング
衝撃吸収柵
21日前
東日本旅客鉄道株式会社
横取り方法
1か月前
鹿島建設株式会社
橋、および橋の製造方法
19日前
オリエンタル白石株式会社
馬蹄形ジベルの合成床版撤去工法
12日前
株式会社NIPPO
スコップ加熱器
25日前
株式会社NIPPO
土壌改質材及びそれを含む土壌
26日前
日本製鉄株式会社
橋脚構造
25日前
続きを見る
他の特許を見る