TOP
|
特許
|
意匠
|
商標
特許ウォッチ
Twitter
他の特許を見る
10個以上の画像は省略されています。
公開番号
2025144481
公報種別
公開特許公報(A)
公開日
2025-10-02
出願番号
2024061779
出願日
2024-03-19
発明の名称
消雪装置
出願人
北越消雪機械工業株式会社
代理人
主分類
E01H
3/04 20060101AFI20250925BHJP(道路,鉄道または橋りょうの建設)
要約
【課題】消雪ブロックを横移動させることなく設置可能であるとともに、送水路の接続となる消雪ブロック。
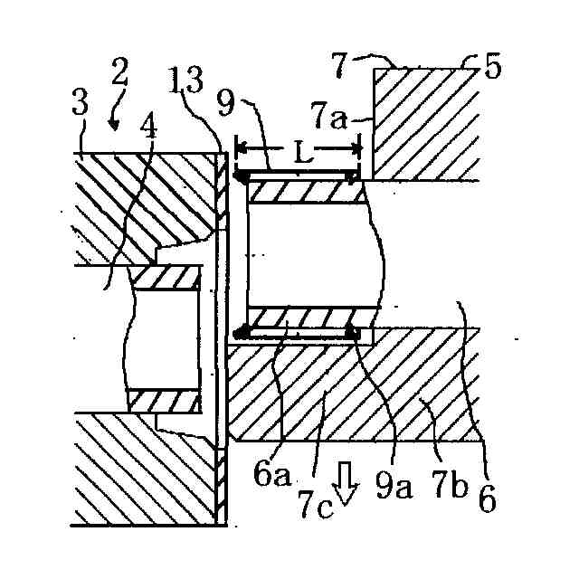
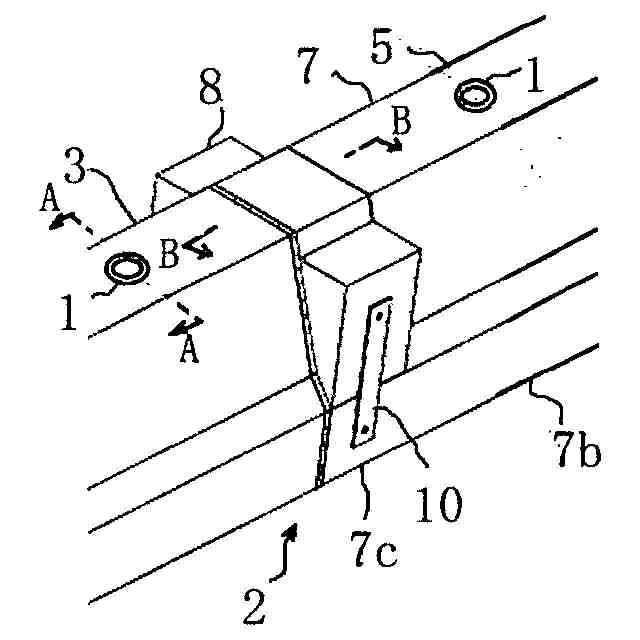
【解決手段】散水ノズル1を設置される消雪ブロック2は既設消雪ブロック3と交換した新設消雪ブロック5とを連結してなり、前記新設消雪ブロック5を主ブロック7と補助ブロック8とに分割し、前記補助ブロック8は前記主ブロック7の端面と隣接の前記既設消雪ブロック3との間に挿入可能に介在し、前記新設消雪ブロック5に有する新規送水管の先端を前記主ブロック7の前記端面より前記補助ブロック8の幅W以内に突出させ、前記新規送水管の前記先端に管軸方向に移動可能な管継手9を嵌合し、この管継手9の軸長を補助ブロック8の幅以下にして、前記新規送水管の前記先端と隣接の前記既設消雪ブロック3の既存送水管4とを前記管継手9により接続し、前記主ブロック7の前記端面と隣接の前記既設消雪ブロック3との間に前記補助ブロック8を挿入する。
【選択図】図1
特許請求の範囲
【請求項1】
散水ノズルが設置される複数の消雪ブロックを路面に埋設する消雪装置であって、前記消雪ブロックは既設消雪ブロックと、交換した新設消雪ブロックとを連結してなり、前記新設消雪ブロックを主ブロックと補助ブロックとに分割し、前記補助ブロックは前記主ブロックの端面と隣接の前記既設消雪ブロックとの間に挿入可能に介在し、前記新設消雪ブロックに有する新規送水管の先端を前記主ブロックの前記端面より前記補助ブロックの幅以内に突出させ、前記新規送水管の前記先端に管軸方向に移動可能な管継手を嵌合し、この管継手の管軸長を前記補助ブロックの幅以下にして、前記新規送水管の前記先端と隣接の前記既設消雪ブロックの既存送水管とを前記管継手により接続し、前記主ブロックの前記端面と隣接の前記既設消雪ブロックとの間に前記補助ブロックを挿入することを特徴とする消雪装置。
続きを表示(約 410 文字)
【請求項2】
前記主ブロックの底部を隣接の前記既設消雪ブロックの端面に向かって延出させて延長底部を形成し、前記補助ブロックの下方にU字形状の切欠きを設け、この切欠きが前記新規送水管の前記先端を貫通し、前記補助ブロックの下端を前記延長底部の上面に当接することを特徴とする請求項1に記載の消雪装置。
【請求項3】
前記延長底部の上面に前記新規送水管の前記先端が載置されるとともに、前記延長底部の外側面と前記補助ブロックの外側面とを連結板により締結して両者が結合されることを特徴とする請求項2に記載の消雪装置。
【請求項4】
前記新規送水管の前記先端と隣接の前記既設消雪ブロックの前記既存送水管とを接続した前記管継手の一端と、前記主ブロックの前記端面との間に規制部材を介在し、この規制部材により前記管継手の前記主ブロックの前記端面方向への移動を阻止することを特徴とする請求項1に記載の消雪装置。
発明の詳細な説明
【技術分野】
【0001】
この発明は、舗装路に積雪した雪を散水によって消雪するため路面に埋設する消雪装置に関するものである。
続きを表示(約 1,800 文字)
【背景技術】
【0002】
従来、冬季間、路面が雪で覆われる寒冷地では、自動車や歩行者が積雪の影響を受けずに通行ができるよう、主要道路などに消雪装置が設置されている。この消雪装置は多様だが、路面の中央付近に埋め込まれた散水ノズルから噴水状に散水を行い、雪を溶かして側溝に流し込む構造が最も普及している。
【0003】
前記消雪装置は、路面にコンクリートと散水ノズルが露出するコンクリートよりなる消雪ブロックを備え、この消雪ブロックは路面に埋め込まれ、路面に露出する上面は、散水のための散水ノズルが間欠的に配置されている。このような消雪ブロックの路面に堀削した側溝内に埋設する施工作業を短縮化するため、前記消雪ブロック内の地下水が流通する送水管と、この送水管より分岐する枝管及び散水ノズルをコンクリート等で一体化した消雪ブロックを予め用意して、この消雪ブロックの複数を連結し、これを路面に堀削した側溝内に埋設した路面としている。
【0004】
そして、上記消雪ブロックの連結構造としては、散水ノズルに消雪水などを供給する送水管を有する消雪ブロックの両端の突き合せ面の一方に、送水管の一側端部を延長突出させて接続挿入部を形成し、他方に、この接続挿入筒部を挿入接続可能な接続受筒を形成した構成として、複数縦列した消雪ブロックの両端の突き合せ面間に接続受筒を架設状態に挿入取付けることで各送水管同士を接続して連結する構造となっている。(特許文献1参照。)
【先行技術文献】
【特許文献】
【0005】
実用新案登録第3061559号公報
【発明の概要】
【発明が解決しようとする課題】
【0006】
上記のような接続受筒を用いる接続構造は、いずれも、一方の消雪ブロックに対して他方の消雪ブロックを横移動させて接続挿入部を挿入接続する。この接続作業は、先に据え付けた一方の消雪ブロックに対して他方の消雪ブロックをできるだけ水平にして横移動させながら送水管同士の位置合せと挿入接続とをするのであるが、この際、一方の消雪ブロックに対して他方の消雪ブロックを水平にしすぎると消雪ブロック底面を設置面に引きずってしまうことになり、しかも、他方の消雪ブロックを傾かせすぎると送水管同士が接続しづらく、場合によっては送水管が損傷しまうことになり経験と熟練を要する作業である。
【0007】
この発明は、以上のような点を考慮してなされたもので、消雪ブロックを横移動させることなく設置可能であるとともに、送水路の接続が容易となる消雪ブロックの連結構造の消雪装置を提供することを目的とするものである。
【課題を解決するための手段】
【0008】
前記課題を解決し、かつ目的を達成するために、この発明は、以下のように構成した。
【0009】
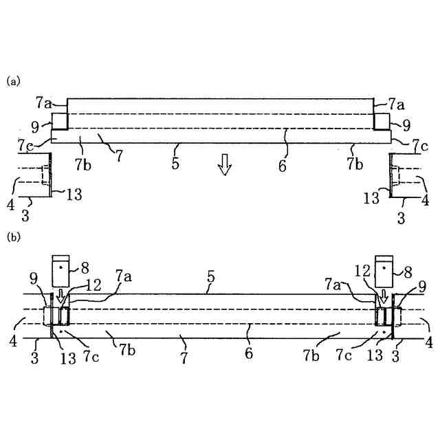
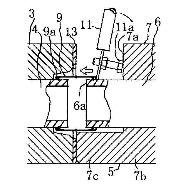
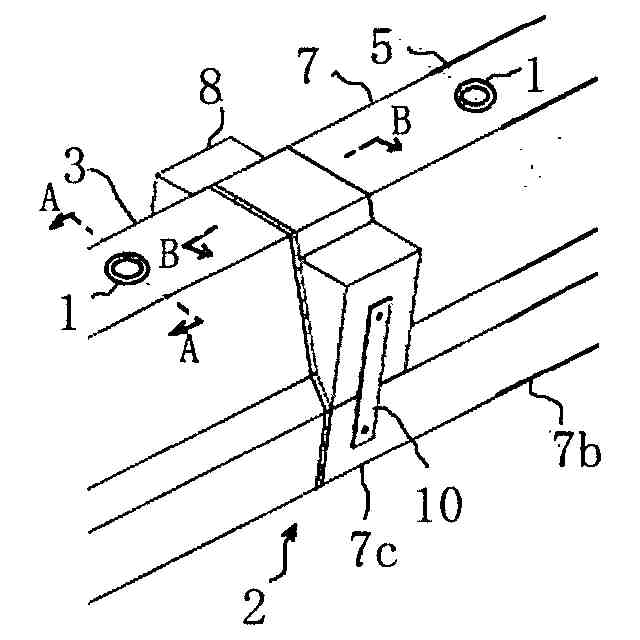
請求項1に記載の発明は、散水ノズルが設置される複数の消雪ブロックを路面に埋設する消雪装置であって、前記消雪ブロックは既設消雪ブロックと、交換した新設消雪ブロックとを連結してなり、前記新設消雪ブロックを主ブロックと補助ブロックとに分割し、前記補助ブロックは前記主ブロックの端面と隣接の前記既設消雪ブロックとの間に挿入可能に介在し、前記新設消雪ブロックに有する新規送水管の先端を前記主ブロックの前記端面より前記補助ブロックの幅以内に突出させ、前記新規送水管の前記先端に管軸方向に移動可能な管継手を嵌合し、この管継手の管軸長を前記補助ブロックの幅以下にして、前記新規送水管の前記先端と隣接の前記既設消雪ブロックの既存送水管とを前記管継手により接続し、前記主ブロックの前記端面と隣接の前記既設消雪ブロックとの間に前記補助ブロックを挿入することを特徴とする消雪装置である。
【0010】
請求項2に記載の発明は、前記主ブロックの底部を隣接の前記既設消雪ブロックの端面に向かって延出させて延長底部を形成し、前記補助ブロックの下方にU字形状の切欠きを設け、この切欠きが前記新規送水管の前記先端を貫通し、前記補助ブロックの下端を前記延長底部の上面に当接することを特徴とする請求項1に記載の消雪装置である。
(【0011】以降は省略されています)
この特許をJ-PlatPat(特許庁公式サイト)で参照する
関連特許
株式会社セイトク
防雪パネル
1か月前
コスモテック株式会社
表示装置
15日前
株式会社ササキコーポレーション
作業機
1か月前
株式会社 林物産発明研究所
道路安全体
2日前
戸田建設株式会社
コンクリート構造
26日前
三信工業株式会社
床版架設装置
1か月前
桑名金属工業株式会社
融雪マットおよび融雪方法
1か月前
戸田建設株式会社
鋼製ブラケットの取付装置
26日前
戸田建設株式会社
鋼製ブラケットの取付装置
26日前
株式会社川金コアテック
橋梁用鋼弾塑性ダンパー
10日前
西尾レントオール株式会社
コーンベット型電源装置
1か月前
鹿島建設株式会社
床版架設方法
29日前
オリエンタル白石株式会社
補強鋼板及び排土方法
1か月前
ダンレックス株式会社
表示装置
3日前
宮地エンジニアリング株式会社
ワイヤブリッジの設置方法
1か月前
鹿島建設株式会社
橋、および橋の製造方法
1か月前
株式会社プロテックエンジニアリング
衝撃吸収柵
1か月前
清水建設株式会社
床版架設装置および床版架設方法
2日前
愛知製鋼株式会社
磁気マーカの施工方法および施工用の補助工具
16日前
PUMP MAN株式会社
路面成型補助部材、及び、路面成型方法
15日前
オリエンタル白石株式会社
馬蹄形ジベルの合成床版撤去工法
1か月前
日本製鉄株式会社
仮設橋による施工方法
2日前
日本製鉄株式会社
橋脚構造
1か月前
三井住友建設株式会社
床版揚重装置及び床版工事設備
25日前
株式会社ミライト・ワン
ボラード
1か月前
株式会社安藤・間
橋梁健全度評価システム
29日前
株式会社大林組
シート部材及び、施工方法
18日前
大成建設株式会社
仮設鋼床版および床版取替工法
18日前
朝日エンヂニヤリング株式会社
主桁連続化剛結合構造
1か月前
ジェコス株式会社
締結式覆工板の損傷防止装置及び当該装置を備えた覆工板
1か月前
清水建設株式会社
桁と床版との接合構造、及び桁と床版との接合方法
23日前
河野建設株式会社
汚泥回収方法及び汚泥回収システム
1か月前
ノリタケ株式会社
電動式コンクリートカッター
10日前
株式会社ドラミカンパニー
改良地盤及びその施工方法
1か月前
鹿島道路株式会社
アスファルト混合物の製造方法
24日前
株式会社IHIインフラシステム
吊材取替方法及び吊材取替装置
1か月前
続きを見る
他の特許を見る