TOP
|
特許
|
意匠
|
商標
特許ウォッチ
Twitter
他の特許を見る
公開番号
2025134275
公報種別
公開特許公報(A)
公開日
2025-09-17
出願番号
2024032079
出願日
2024-03-04
発明の名称
防護柵
出願人
前田工繊株式会社
代理人
個人
,
個人
,
個人
主分類
E01F
7/04 20060101AFI20250909BHJP(道路,鉄道または橋りょうの建設)
要約
【課題】簡易な手法により、防護ネットの端末部を破断させずに、端末区間における衝撃吸収性能を向上できる防護柵を提供すること。
【解決手段】間隔を隔てて立設した複数の支柱10(10a,10b)と、合成繊維製の防護ネット20とを具備した防護柵であって、端末支柱10bと該端末支柱10bの外方に設けた側方アンカー41との間に枠ロープ31製の端末疑似阻止面30を配置し、受撃時に端末疑似阻止面の枠ロープ31が端末区間20b内へ向けて延伸するように、端末疑似阻止面30の枠ロープ31の一部と、防護ネット20の端末辺との間を連結した。
【選択図】図1
特許請求の範囲
【請求項1】
間隔を隔てて立設した複数の支柱と、支柱の上部および下部に上辺と下辺を係留して隣り合う支柱間に横架した崩落物の捕捉機能を有する合成繊維製の防護ネットとを具備し、複数の中間支柱の間に防護ネット製の阻止面を形成した中間区間と、中間支柱と端末支柱との間に防護ネット製の阻止面を形成した端末区間とを有する防護柵であって、
前記端末支柱と該端末支柱の外方に設けた側方アンカーとの間に枠ロープ製の端末疑似阻止面を配置し、
受撃時に端末疑似阻止面の枠ロープが端末区間内へ向けて延伸するように、前記端末疑似阻止面の枠ロープの一部と、防護ネットの端末辺との間を連結したことを特徴とする、
防護柵。
続きを表示(約 520 文字)
【請求項2】
前記支柱の上部および下部に係留素子を設け、該係留素子を介して防護ネットの上下辺と端末疑似阻止面の枠ロープとを摺動可能に係留したことを特徴とする、請求項1に記載の防護柵。
【請求項3】
前記防護ネットが支柱の上部および下部に係留する枠ロープと、該枠ロープに内接して一体に設けたネット材からなることを特徴とする、請求項1に記載の防護柵。
【請求項4】
前記端末疑似阻止面の枠ロープと防護ネットの枠ロープの伸び率がほぼ等しい関係にあることを特徴とする、請求項3に記載の防護柵。
【請求項5】
前記端末疑似阻止面の枠ロープが端末支柱に沿って配置した側辺と、該側辺の両端から連続して形成した一対の控え辺とを有し、前記一対の控え辺を共通の側方アンカーまたは個別の側方アンカーに固定したことを特徴とする、請求項1に記載の防護柵。
【請求項6】
前記端末疑似阻止面を防護ネットの延長方向に沿って配置したことを特徴とする、請求項1に記載の防護柵。
【請求項7】
前記端末疑似阻止面を防護ネットの横断方向に沿って配置したことを特徴とする、請求項1に記載の防護柵。
発明の詳細な説明
【技術分野】
【0001】
本発明は、落石、土砂、雪崩などの崩落物を捕捉する防護柵に関し、特に合成繊維製の防護ネットを具備した防護柵に関するものである。
続きを表示(約 3,200 文字)
【背景技術】
【0002】
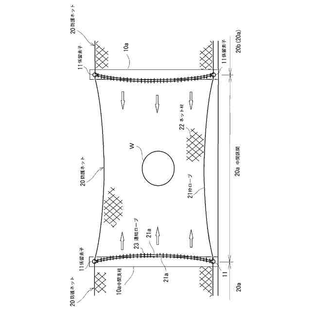
落石や土砂等の崩落物を捕捉するために、間隔を隔てて立設した複数の支柱(中間支柱と端末支柱)と、支柱間に張り巡らせた防護ネットを具備した防護柵が知られている(特許文献1)。
防護ネットには、ワイヤーロープや金網を組み合わせた高強度の金属製の防護ネットと、取扱性と耐食性等に優れた合成繊維製の防護ネットが知られている。
この種の防護柵は、複数の中間支柱の間に防護ネット製の阻止面を形成した中間区間と、端末支柱と中間支柱の間に防護ネット製の阻止面を形成した端末区間とを有している。
阻止面を構成する防護ネットの端末部は、端末支柱の全長に亘って固定してある。
【0003】
一般的に防護柵は、受撃時における端末区間の負担荷重が中間区間と比べて大きいことが知られている。
そのため、端末区間の強度を高める手段が種々提案されている。
端末区間の強度を高める手段として、端末支柱を中間支柱と比べて高強度に設計することが知られている。
特許文献2には、端末支柱にサポート支柱を斜めに設置して端末区間を補強することが開示されている。
特許文献3には、端末区間の支柱頭部間に上弦材を架設すると共に、隣り合う一対の支柱の上下部間にブレース材をX状に連結して端末区間を補強することが開示されている。
【先行技術文献】
【特許文献】
【0004】
特開2009-24378号公報
特開2017-14760号公報
特開2023-146863号公報
【発明の概要】
【発明が解決しようとする課題】
【0005】
従来の防護柵はつぎの解決すべき課題を有している。
<1>端末支柱を高強度に設計する手法は、防護柵の高騰化の一因となっている。
<2>高剛性のサポート支柱を追加設置する特許文献2の補強構造は、端末支柱を防護柵の長手方向だけでなく前後方向へも補強効果を発揮するため、端末支柱の変形に起因したエネルギー吸収効果が低下する。
さらに、サポート支柱が端末区間の阻止面内に位置するため、サポート支柱に直撃した落石が飛び跳ねて二次災害を誘発する危険もある。
<3>上弦材とブレース材を組み合わせた特許文献3の補強構造は、端末区間の構成資材数が増えるので資材コストが嵩むだけでなく、端末区間の組み立てに多くの時間と労力を要して施工性が悪くなる。
<4>例えば、端末区間に受撃すると、防護ネットの端末部と端末支柱との連結箇所に荷重が集中して防護ネットが破損するおそれがある。
<5>特許文献1,2に記載の手段により防護柵の端末区間を補強できたとしても、端末区間の阻止面による衝撃吸収性能を高めることにはつながらない。
端末区間における阻止面の変形量が中間区間と比べて小さく、端末区間の阻止面による衝撃吸収性能が中間区間に対して低い関係にあるからである。
そのため、端末区間の衝撃吸収性能を改善できる技術の提案が求められている。
【0006】
本発明は以上の点に鑑みてなされたもので、既述した従来技術の課題を解決可能な防護柵を提供することにある。
【課題を解決するための手段】
【0007】
本発明は、間隔を隔てて立設した複数の支柱と、支柱の上部および下部に上辺と下辺を係留して隣り合う支柱間に横架した崩落物の捕捉機能を有する合成繊維製の防護ネットとを具備し、複数の中間支柱の間に防護ネット製の阻止面を形成した中間区間と、中間支柱と端末支柱との間に防護ネット製の阻止面を形成した端末区間とを有する防護柵であって、前記端末支柱と該端末支柱の外方に設けた側方アンカーとの間に枠ロープ製の端末疑似阻止面を配置し、受撃時に端末疑似阻止面の枠ロープが端末区間内へ向けて延伸するように、前記端末疑似阻止面の枠ロープの一部と、防護ネットの端末辺との間を連結した。
本発明の他の形態において、前記支柱の上部および下部に係留素子を設け、該係留素子を介して防護ネットの上下辺と端末疑似阻止面の枠ロープとを摺動可能に係留した。
本発明の他の形態において、前記防護ネットは支柱の上部および下部に係留する枠ロープと、該枠ロープに内接して一体に設けたネット材からなる。
本発明の他の形態において、前記端末疑似阻止面の枠ロープと防護ネットの枠ロープの伸び率がほぼ等しい関係にある。
本発明の他の形態において、前記端末疑似阻止面の枠ロープが端末支柱に沿って配置した側辺と、該側辺の両端から連続して形成した一対の控え辺とを有し、前記一対の控え辺を共通の側方アンカーまたは個別の側方アンカーに固定する。
本発明の他の形態において、前記端末疑似阻止面を防護ネットの延長方向に沿って配置してもよいし前記端末疑似阻止面を防護ネットの横断方向に沿って配置してもよい。
【発明の効果】
【0008】
本発明は少なくともつぎのひとつの効果を奏する。
<1>受撃時に端末疑似阻止面の枠ロープが端末区間内へ向けて延伸するように、端末疑似阻止面の枠ロープの一部と、防護ネットの端末辺との間を連結することで、端末区間における防護ネットを中間区間と同様に挙動させることができる。
したがって、防護ネットの端末部を破断させずに、端末区間における衝撃吸収性能を向上させることができる。
<2>端末区間における防護ネットは、端末区間に隣接した他の防護ネットと端末疑似阻止面に対して衝撃力を分散して吸収できるので、端末支柱に作用する荷重負担を軽減できる。
したがって、端末支柱を中間支柱と比べて高強度に設計する必要がなくなり、端末支柱を経済的に製作できる。
<3>端末疑似阻止面の枠ロープと防護ネットの枠ロープの伸び率をほぼ同じに設定しておけば、端末区間に位置する防護ネットと端末疑似阻止面に設けた枠ロープの延伸量が均等になる。
そのため、端末区間における防護ネットのはらみ変形をバランスよく円滑に行うことができる。
<4>端末区間に受撃した場合には、中間区間に受撃した場合と同様に防護ネットで崩落物を捕捉することができる。
<5>本発明では、受撃時における端末支柱の荷重負担は中間支柱と同程度となって、端末支柱の荷重負担を大幅に軽減できる。
したがって、端末支柱を中間支柱と比べて高強度にしたり、端末支柱にサポート支柱を設置して端末区間を補強したりする必要がなくなり、防護柵を経済的に設計することができる。
<6>端末疑似阻止面は、防護ネットの延長方向に配置できるだけでなく、防護ネットの横断方向に沿って配置することも可能である。
そのため、端末疑似阻止面の設置の自由度が増し、防護柵の現場状況に応じて端末疑似阻止面を設置することができる。
【図面の簡単な説明】
【0009】
一部を省略した本発明に係る防護柵のモデル図
防護ネットの一部を省略した中間支柱の位置における防護柵の拡大図
防護ネットの一部を省略した端末支柱の位置における防護柵の拡大図
中間区間における防護ネットの捕捉作用を説明するための防護柵のモデル図
図4におけるV-Vの断面図
端末区間における防護ネットの捕捉作用を説明するための防護柵のモデル図
図6におけるVII-VIIの断面図
【発明を実施するための形態】
【0010】
[実施例1]
図面を参照しながら本発明の実施例について詳しく説明する。
(【0011】以降は省略されています)
この特許をJ-PlatPat(特許庁公式サイト)で参照する
関連特許
前田工繊株式会社
防護柵
1か月前
株式会社熊谷組
床版
24日前
株式会社熊谷組
床版
24日前
個人
折り畳み式標識具
1か月前
株式会社熊谷組
床版接合構造
1か月前
株式会社セイトク
防雪パネル
16日前
白出商事株式会社
縁石銘板(名板)
26日前
北越消雪機械工業株式会社
消雪装置
1か月前
株式会社NIPPO
距離補正装置
24日前
株式会社NIPPO
斜面用ローラ
25日前
株式会社NIPPO
斜面用ローラ
25日前
株式会社ササキコーポレーション
作業機
23日前
戸田建設株式会社
コンクリート構造
6日前
株式会社NIPPO
切削用制御装置
24日前
三信工業株式会社
床版架設装置
23日前
株式会社熊谷組
床版継手装置、及び、床版
1か月前
桑名金属工業株式会社
融雪マットおよび融雪方法
23日前
東亜グラウト工業株式会社
防護柵の支柱構造
24日前
戸田建設株式会社
鋼製ブラケットの取付装置
6日前
戸田建設株式会社
鋼製ブラケットの取付装置
6日前
西尾レントオール株式会社
コーンベット型電源装置
18日前
日鉄神鋼建材株式会社
補強金具、及び支柱取付構造
24日前
株式会社NIPPO
アスファルトスタッカ制御装置
25日前
株式会社NIPPO
バンク用建設機械サポータ装置
25日前
日鉄建材株式会社
吊り材で支持された足場用床パネル
23日前
日立建機株式会社
転圧機械
24日前
鹿島建設株式会社
床版架設方法
9日前
株式会社日本コンポジット工業
壁用構造体
23日前
オリエンタル白石株式会社
補強鋼板及び排土方法
16日前
三井住友建設株式会社
床版拡幅工法
25日前
宮地エンジニアリング株式会社
ワイヤブリッジの設置方法
12日前
株式会社NIPPO
コンクリートスタッカ
1か月前
株式会社プロテックエンジニアリング
衝撃吸収柵
19日前
鹿島建設株式会社
橋、および橋の製造方法
17日前
東日本旅客鉄道株式会社
横取り方法
1か月前
株式会社NIPPO
スコップ加熱器
23日前
続きを見る
他の特許を見る