TOP
|
特許
|
意匠
|
商標
特許ウォッチ
Twitter
他の特許を見る
公開番号
2025128451
公報種別
公開特許公報(A)
公開日
2025-09-03
出願番号
2024025075
出願日
2024-02-22
発明の名称
流動層燃焼炉を用いたバイオマス専焼時の流動不良予測評価方法
出願人
株式会社IHI検査計測
代理人
弁理士法人山田特許事務所
主分類
F23G
5/30 20060101AFI20250827BHJP(燃焼装置;燃焼方法)
要約
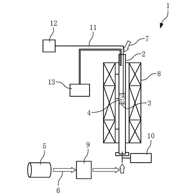
【課題】バイオマスを流動層燃焼炉で専焼させるに際し、流動不良の発生リスクを事前に予測して評価することで流動層燃焼炉の安全な運用を図る。
【解決手段】実機で流動不良を起こしていない実績のあるバイオマスが小型流動床燃焼試験機1での模擬試験で流動停止を起こす投入量を求めて該投入量に達しない近似値を基準値とし、種類の異なる他のバイオマスを小型流動床燃焼試験機1にかけて流動停止を起こす投入量を夫々求め、その投入量が基準値を下回るバイオマスについて第一条件を不可とし、各バイオマスの燃焼灰と流動層燃焼炉の珪砂4(流動媒体)とを混合した試料を、実機の燃焼温度域での高温条件で焼結させて焼結灰を生成して膠着度を求め、該膠着度が所定の流動安全域から外れたバイオマスについて第二条件を不可とし、第一条件と第二条件の両方とも不可でないバイオマスを適性燃料として評価する。
【選択図】図1
特許請求の範囲
【請求項1】
流動層燃焼炉を用いてバイオマスを専焼した際における流動不良の発生リスクを予測して評価する方法であって、
実機で流動不良を起こしていない実績のあるバイオマスが小型流動床燃焼試験機での模擬試験で流動停止を起こす投入量を求めて該投入量に達しない近似値を基準値とし、種類の異なる他のバイオマスを前記小型流動床燃焼試験機にかけて流動停止を起こす投入量を夫々求め、その投入量が前記基準値を下回るバイオマスについて第一条件を不可とする一方、
各バイオマスの燃焼灰と流動層燃焼炉の流動媒体とを混合した試料を、実機の燃焼温度域での高温条件で焼結させて焼結灰を生成し、該焼結灰をラトラ試験機にかけて試験前の焼結灰の重量で試験後の焼結灰の重量を割った比から膠着度を求め、該膠着度が所定の流動安全域から外れたバイオマスについて第二条件を不可とし、
第一条件と第二条件の少なくとも何れか一方で不可となったバイオマスは、流動不良を招く懸念があるバイオマスとして評価する一方、第一条件と第二条件の両方とも不可とならなかったバイオマスは、適性燃料として評価することを特徴とする流動層燃焼炉を用いたバイオマス専焼時の流動不良予測評価方法。
続きを表示(約 300 文字)
【請求項2】
実際の流動層燃焼炉でのアグロメレーションの発生状況と膠着度とを比較し、実際の流動層燃焼炉にて流動不良を招くことのない膠着度の範囲を流動安全域として特定することを特徴とする請求項1に記載の流動層燃焼炉を用いたバイオマス専焼時の流動不良予測評価方法。
【請求項3】
流動媒体が珪砂である場合に、珪砂とバイオマスの燃焼灰とを1:1で混合した試料を実機の燃焼温度域での高温条件で焼結させて焼結灰を生成し、該焼結灰について求めた膠着度が0.2未満の領域を流動安全域として特定することを特徴とする請求項2に記載の流動層燃焼炉を用いたバイオマス専焼時の流動不良予測評価方法。
発明の詳細な説明
【技術分野】
【0001】
本発明は、流動層燃焼炉を用いたバイオマス専焼時の流動不良予測評価方法に関するものである。
続きを表示(約 1,800 文字)
【背景技術】
【0002】
近年、地球温暖化対策を推進する観点から再生可能エネルギーの導入拡大は重要事項となっており、バイオマス(動植物に由来する有機物)を再生可能エネルギーとして有効利用することが検討されている。
【0003】
例えば、植物系のバイオマスを燃焼した際に発生するCO
2
は、前記バイオマスの原料である植物の成長過程で大気中から吸収したものであるため、トータルでのCO
2
の増減は±0になるものと考えられ(カーボンニュートラル)、しかも、太陽光発電等のような天候に左右され易いエネルギー獲得手段よりも安定的な燃料確保が可能になるものと期待されている。
【0004】
植物系のバイオマスとしては、椰子殻(パーム椰子の種からパーム油を搾油した後の殻)、竹、稲わら等といった様々なものがあり、この種の植物系のバイオマスを支障なく燃焼させる手段として、各種のバイオマス燃料への適応性が高い流動層燃焼炉が広く用いられている。
【0005】
尚、このようなバイオマスを専焼させる流動層燃焼炉に関連する先行技術文献情報としては例えば下記の特許文献1等がある。
【先行技術文献】
【特許文献】
【0006】
特開2013-209438号公報
【発明の概要】
【発明が解決しようとする課題】
【0007】
しかしながら、各種のバイオマスを流動層燃焼炉で専焼させる場合、そのバイオマス中に含まれるカリウム等のアルカリ成分により、流動層内で珪砂等の流動媒体(ベッド材)と燃焼灰とが塊状の固着物を形成するアグロメレーションが起こり、このアグロメレーションが進むことで流動不良を招いてしまうことが懸念されているが、これまで流動不良の発生リスクを事前に予測して評価する有効な手段が無く、様々なバイオマスに関し燃料としての有効活用を図りたいという要望が増えてきている一方、どのようなバイオマスを燃料として選定すれば流動不良の懸念無く安全に流動層燃焼炉を運用し得るかを的確に見定めることが難しかった。
【0008】
本発明は上述の実情に鑑みてなしたもので、バイオマスを流動層燃焼炉で専焼させるに際し、流動不良の発生リスクを事前に予測して評価することで流動層燃焼炉の安全な運用を図り得るようにすることを目的とする。
【課題を解決するための手段】
【0009】
本発明は、流動層燃焼炉を用いてバイオマスを専焼した際における流動不良の発生リスクを予測して評価する方法であって、
実機で流動不良を起こしていない実績のあるバイオマスが小型流動床燃焼試験機での模擬試験で流動停止を起こす投入量を求めて該投入量に達しない近似値を基準値とし、種類の異なる他のバイオマスを前記小型流動床燃焼試験機にかけて流動停止を起こす投入量を夫々求め、その投入量が前記基準値を下回るバイオマスについて第一条件を不可とする一方、
各バイオマスの燃焼灰と流動層燃焼炉の流動媒体とを混合した試料を、実機の燃焼温度域での高温条件で焼結させて焼結灰を生成し、該焼結灰をラトラ試験機にかけて試験前の焼結灰の重量で試験後の焼結灰の重量を割った比から膠着度を求め、該膠着度が所定の流動安全域から外れたバイオマスについて第二条件を不可とし、
第一条件と第二条件の少なくとも何れか一方で不可となったバイオマスは、流動不良を招く懸念があるバイオマスとして評価する一方、第一条件と第二条件の両方とも不可とならなかったバイオマスは、適性燃料として評価することを特徴とするものである。
【0010】
即ち、実機で流動不良を起こしていない実績のあるバイオマスが小型流動床燃焼試験機で流動停止を起こす投入量を求めて該投入量に達しない近似値を基準値とすれば、種類の異なる他のバイオマスについて同じように小型流動床燃焼試験機にかけて流動停止を起こす投入量を夫々求めた場合に、その投入量が前記基準値より大きくなるようなバイオマスについては、流動不良を起こす可能性が極めて低い燃料として定性的に評価することができる。
(【0011】以降は省略されています)
この特許をJ-PlatPat(特許庁公式サイト)で参照する
関連特許
個人
燃焼炉の操業方法
2か月前
個人
煙突煤払い掃除機
3か月前
個人
ウッドガスストーブ
1か月前
コーキ株式会社
煙突
1か月前
個人
形見の製造方法
1か月前
株式会社トヨトミ
石油燃焼器
28日前
株式会社豊田自動織機
耐熱部材
1か月前
株式会社パロマ
燃焼装置
3か月前
株式会社トヨトミ
固体燃料燃焼器
5か月前
株式会社オメガ
熱風発生装置
5か月前
株式会社サイトウ工研
焚き火台
25日前
三浦工業株式会社
ボイラ
4か月前
個人
回転キルンを利用した燻炭製造方法
4か月前
株式会社フクハラ
充填物処理方法
4か月前
株式会社タクマ
付着物除去システム
4か月前
東京パイプ株式会社
着火器具
3か月前
大陽日酸株式会社
バーナ
5か月前
大陽日酸株式会社
バーナ
5か月前
三浦工業株式会社
燃焼システム
25日前
リンナイ株式会社
燃焼装置
4か月前
大陽日酸株式会社
バーナ
5か月前
山形化成工業株式会社
手持ち式着火用具
2か月前
大阪瓦斯株式会社
燃焼装置
27日前
株式会社アドバンテック
燃焼装置
1か月前
株式会社アドバンテック
燃焼装置
1か月前
株式会社アドバンテック
燃焼装置
1か月前
三浦工業株式会社
水素燃焼ボイラ
1か月前
リンナイ株式会社
予混合装置
6か月前
三菱重工業株式会社
清掃装置
1か月前
大陽日酸株式会社
燃焼バーナ
2か月前
個人
可燃性ガス燃焼装置
4か月前
株式会社日本サーモエナー
ガスバーナ
4か月前
極東開発工業株式会社
バイオマス燃焼システム
25日前
株式会社パロマ
給湯器
4か月前
株式会社パロマ
給湯器
4か月前
中外炉工業株式会社
リジェネバーナ装置
3か月前
続きを見る
他の特許を見る