TOP
|
特許
|
意匠
|
商標
特許ウォッチ
Twitter
他の特許を見る
10個以上の画像は省略されています。
公開番号
2025164316
公報種別
公開特許公報(A)
公開日
2025-10-30
出願番号
2024068181
出願日
2024-04-19
発明の名称
ワイヤロープ油除去装置
出願人
株式会社IHIインフラ建設
代理人
弁理士法人アテンダ国際特許事務所
主分類
B08B
1/16 20240101AFI20251023BHJP(清掃)
要約
【課題】ワイヤロープの設置場所に拘わらず常に適切な位置に設置することのできるワイヤロープ油除去装置を提供する。
【解決手段】各連結部材34に外部の吊下部材40を連結することにより、吊下部材40によって支持ユニット30が吊り下げられて配置される。また、支持ユニット30では、互いにワイヤロープ1の長手方向に間隔をおいて配置された一対の各ガイド部材31のガイド孔31cによってワイヤロープ1の変位がワイヤロープ1の長手方向二点で規制されることから、振動や衝撃を受けても支持ユニット30が大きく傾くことがない。更に、各ガイド部材31は互いにガイド部材31の周方向に間隔をおいて配置された複数の接続部材33によって接続されているので、支持ユニット30が軽量化されるとともに、油除去部材10によってワイヤロープ1から除去された油が各接続部材33の隙間を通過し、支持ユニット30への油の付着が抑制される。
【選択図】図13
特許請求の範囲
【請求項1】
外周面に螺旋状の溝を有するワイヤロープを通過させながらワイヤロープの表面に付着した油を除去するワイヤロープ油除去装置において、
前記ワイヤロープを挿通する挿通孔を有し、挿通孔がワイヤロープの横断面形状と同等の形状に形成された板状の油除去部材と、
ワイヤロープを挿通する開口部を有し、油除去部材の周縁側を覆うように油除去部材に着脱自在に装着されるカバー部材と、
内部にワイヤロープを径方向から収容可能に形成され、カバー部材が装着された油除去部材をワイヤロープの長手方向一方から支持する支持ユニットとを備え、
支持ユニットは、互いにワイヤロープの長手方向に間隔をおいて配置された一対のガイド部材と、各ガイド部材同士を接続する複数の接続部材と、カバー部材が装着された油除去部材をガイド部材に対して周方向に回転自在且つ径方向に移動自在に支持する支持部材と、外部の吊下部材に連結可能な連結部材とを有し、
各ガイド部材はワイヤロープを挿通するガイド孔をそれぞれ有し、
各接続部材は互いにワイヤロープの周方向に間隔をおいて配置され、
支持部材は油除去部材側に配置される一方のガイド部材に設けられている
ことを特徴とするワイヤロープ油除去装置。
続きを表示(約 520 文字)
【請求項2】
前記油除去部材は弾性変形可能な部材からなり、前記挿通孔から外周面に亘って形成された切り込みを有する
ことを特徴とする請求項1記載のワイヤロープ油除去装置。
【請求項3】
前記カバー部材は径方向に二分割された一対の分割部分からなり、各分割部分を互いに着脱可能に形成されている
ことを特徴とする請求項1記載のワイヤロープ油除去装置。
【請求項4】
前記カバー部材は、油除去部材の厚さ方向両面を覆うように形成されるとともに、油除去部材の厚さ方向一方の開口部が油除去部材の厚さ方向他方の開口部よりも大きく形成されている
ことを特徴とする請求項1記載のワイヤロープ油除去装置。
【請求項5】
前記各ガイド部材は径方向に二分割された一対の分割部分からなり、各分割部分の一端を支点に回動することにより開閉可能に形成されている
ことを特徴とする請求項1記載のワイヤロープ油除去装置。
【請求項6】
前記連結部材はワイヤロープの長手方向に位置を移動可能に設けられている
ことを特徴とする請求項1記載のワイヤロープ油除去装置。
発明の詳細な説明
【技術分野】
【0001】
本発明は、例えば河川やダム等に設置される水門のゲート開閉用ワイヤロープから油を除去するためのワイヤロープ油除去装置に関するものである。
続きを表示(約 1,900 文字)
【背景技術】
【0002】
一般に、河川やダム等に設置された水門のゲートは、ゲートに連結されたワイヤロープをウインチで巻き取ることにより開放され、ワイヤロープをウインチから巻き出すことにより閉鎖されるようになっている。ワイヤロープの表面には潤滑や防錆のためにグリース等の油が塗布されており、水門の保守点検時にはワイヤロープの油を定期的に塗り直す作業が行われている。
【0003】
その際、ワイヤロープに付着している古い油を除去する必要があるが、撚り線からなるワイヤロープでは螺旋状の溝内からも油を除去しなければならない。しかしながら、ワイヤロープの油除去作業は人手によって行われるため、多大な人的労力を必要とし、作業者の負担が大きいものとなっている。
【0004】
そこで、ワイヤロープの油除去作業を人手によらずに行うようにしたものとして、ワイヤロープの横断面形状と同等の形状に形成された孔を有する油除去部材にワイヤロープを挿通し、油除去部材にワイヤロープを通過させながら油除去部材によってワイヤロープの表面から油を除去するようにしたものが知られている(例えば、特許文献1参照)。
【先行技術文献】
【特許文献】
【0005】
特開2003-190888号公報
【発明の概要】
【発明が解決しようとする課題】
【0006】
ところで、特許文献1に記載されたものでは、油除去部材を通過するワイヤロープの螺旋状溝によって油除去部材が回転するため、油除去部材を板状の支持部材によって回転自在に支持するとともに、ワイヤロープに対する油除去部材の移動を支持部材によって規制するようにしている。この場合、支持部材を機械室内のフレーム等に固定し、油除去部材が支持部材に支持されながら回転するようにしている。
【0007】
しかしながら、例えば水門の機械室内は多くの機器やその付属物等が複雑に配置されているため、油除去部材を設置可能な場所が限られることがあり、ワイヤロープの周囲に支持部材を固定するためのフレーム等が存在しない場合には、油除去部材を適切な位置に設置することができないという問題点があった。
【0008】
本発明は前記課題に鑑みてなされたものであり、その目的とするところは、ワイヤロープの設置場所に拘わらず常に適切な位置に設置することのできるワイヤロープ油除去装置を提供することにある。
【課題を解決するための手段】
【0009】
本発明は前記目的を達成するために、外周面に螺旋状の溝を有するワイヤロープを通過させながらワイヤロープの表面に付着した油を除去するワイヤロープ油除去装置において、前記ワイヤロープを挿通する挿通孔を有し、挿通孔がワイヤロープの横断面形状と同等の形状に形成された板状の油除去部材と、ワイヤロープを挿通する開口部を有し、油除去部材の周縁側を覆うように油除去部材に着脱自在に装着されるカバー部材と、内部にワイヤロープを径方向から収容可能に形成され、カバー部材が装着された油除去部材をワイヤロープの長手方向一方から支持する支持ユニットとを備え、支持ユニットは、互いにワイヤロープの長手方向に間隔をおいて配置された一対のガイド部材と、各ガイド部材同士を接続する複数の接続部材と、カバー部材が装着された油除去部材をガイド部材に対して周方向に回転自在且つ径方向に移動自在に支持する支持部材と、外部の吊下部材に連結可能な連結部材とを有し、各ガイド部材はワイヤロープを挿通するガイド孔をそれぞれ有し、各接続部材は互いにワイヤロープの周方向に間隔をおいて配置され、支持部材は油除去部材側に配置される一方のガイド部材に設けられている。
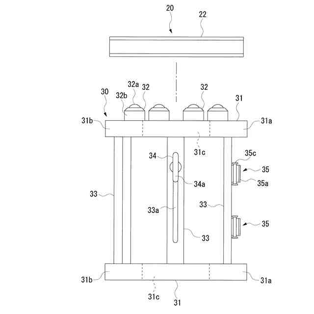
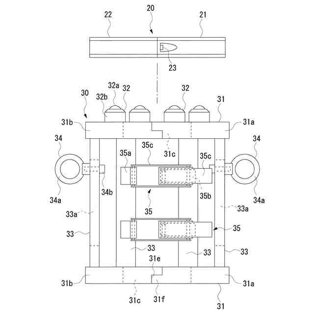
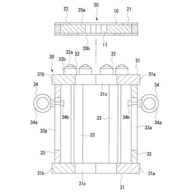
【0010】
これにより、各連結部材に外部の吊下部材を連結することにより、吊下部材によって支持ユニットが吊り下げられて配置される。また、支持ユニットでは、互いにワイヤロープの長手方向に間隔をおいて配置された一対の各ガイド部材のガイド孔によってワイヤロープの変位がワイヤロープの長手方向二点で規制されることから、振動や衝撃を受けても支持ユニットが大きく傾くことがない。更に、各ガイド部材は互いにガイド部材の周方向に間隔をおいて配置された複数の接続部材によって接続されているので、支持ユニットが軽量化されるとともに、油除去部材によってワイヤロープから除去された油が各接続部材の隙間を通過するので、支持ユニットへの油の付着が抑制される。
【発明の効果】
(【0011】以降は省略されています)
この特許をJ-PlatPat(特許庁公式サイト)で参照する
関連特許
株式会社IHIインフラ建設
ワイヤロープ油除去装置
1か月前
個人
物体表面洗浄装置
2か月前
個人
ブラシ付きノズル
3か月前
ノリタケ株式会社
洗浄装置
1か月前
株式会社シロハチ
長尺物用の清掃用具
3か月前
三浦工業株式会社
洗浄システム
2か月前
株式会社未来造形
チェーン洗浄具
1か月前
株式会社カスタム・クール・センター
スクレーパー
2日前
GOLDEN通商株式会社
ごみバンカの清掃方法
1か月前
三浦工業株式会社
洗浄装置
4か月前
大裕株式会社
敷鉄板表面の溶接残留物除去装置
3か月前
株式会社三幸社
衣服立体乾燥機の吊り下げ型掃除用具
1か月前
国立大学法人東海国立大学機構
微小重力環境用洗浄装置
1か月前
株式会社神鋼環境ソリューション
洗浄装置および処理装置
2日前
トヨタ自動車株式会社
配管洗浄装置
4か月前
栗田工業株式会社
管内面の洗浄用プラグ及び洗浄方法
1か月前
株式会社ブリヂストン
配管清掃方法
5か月前
ノリタケ株式会社
スラリーアイス洗浄装置用の管状部品
1か月前
キリンホールディングス株式会社
除去装置及び除去方法
25日前
株式会社神鋼環境ソリューション
洗浄装置、処理装置および管路
2日前
東朋テクノロジー株式会社
ガラス保護板の洗浄装置
11日前
工機ホールディングス株式会社
作業機
4か月前
株式会社奥村組
洗浄器具および洗浄方法
1か月前
株式会社エスエスティー
異形物体の洗浄方法
1か月前
株式会社松井製作所
液体供給装置及び液体供給方法
5か月前
日鉄テックスエンジ株式会社
ツール清掃装置
1か月前
三浦工業株式会社
コンピュータプログラム
1か月前
イフコ・ジャパン 株式会社
物流容器の洗浄装置及び洗浄方法
1か月前
日本ゼオン株式会社
光学フィルムの製造方法
2か月前
日本電気株式会社
ファン、制御方法、通知方法およびプログラム
2か月前
リンテック株式会社
清掃装置および清掃方法
1か月前
個人
排水管洗浄システムの高圧ホース供給機
5か月前
ノリタケ株式会社
スラリーアイス洗浄装置およびスラリーアイス洗浄方法
1か月前
ノリタケ株式会社
スラリーアイス洗浄装置およびスラリーアイス洗浄方法
1か月前
ノリタケ株式会社
スラリーアイス洗浄装置およびスラリーアイス洗浄方法
1か月前
株式会社石野製作所
清掃方法、清掃用スポンジ及び清掃装置
4か月前
続きを見る
他の特許を見る