TOP
|
特許
|
意匠
|
商標
特許ウォッチ
Twitter
他の特許を見る
10個以上の画像は省略されています。
公開番号
2025174739
公報種別
公開特許公報(A)
公開日
2025-11-28
出願番号
2024081287
出願日
2024-05-17
発明の名称
洗浄装置、処理装置および管路
出願人
株式会社神鋼環境ソリューション
代理人
個人
主分類
B08B
3/02 20060101AFI20251120BHJP(清掃)
要約
【課題】洗浄対象物である部材を効率よく洗浄できる、洗浄装置、処理装置および管路を提供する。
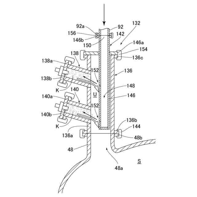
【解決手段】洗浄装置28は、部材を洗浄液で洗浄するために、処理装置10や管路に組み込まれて使用される。洗浄装置28は、洗浄装置本体64と、圧力室66と、洗浄液供給口と、噴射部70c,70dとを備える。噴射部は、圧力室66を構成する洗浄装置本体64の壁部74に形成され、洗浄装置本体64の外部の空間(収容空間)Sと圧力室66とを連通させる一対の噴射孔80a,80bおよび84a,84bを有する。一対の噴射孔は、これらから柱状に噴射された洗浄液Kが互いに衝突して扇形に広がるように、これらの中心線L1,L2どうしが1つの交差点Pで交わるように形成される。壁部74における一対の噴射孔が形成された噴射壁部82,86は、一定の厚さを有して交差点P側へ向かって膨らむように形成される。
【選択図】図3
特許請求の範囲
【請求項1】
部材を洗浄液で洗浄するための洗浄装置であって、
洗浄装置本体と、
前記洗浄装置本体の内部に形成された圧力室と、
前記圧力室に洗浄液を供給するように前記洗浄装置本体に設けられた洗浄液供給口と、
前記部材に向けて洗浄液を噴射するように前記洗浄装置本体に設けられた少なくとも1つの噴射部とを備え、
前記噴射部は、前記圧力室を構成する前記洗浄装置本体の壁部に形成され、前記洗浄装置本体の外部の空間と前記圧力室とを連通させる一対の噴射孔を有し、
一対の前記噴射孔は、これらから柱状に噴射された洗浄液が互いに衝突して扇形に広がるように、これらの中心線どうしが1つの交差点で交わるように形成され、
前記壁部における一対の前記噴射孔が形成された部分は、一定の厚さを有して前記交差点側へ向かって膨らむように形成される、洗浄装置。
続きを表示(約 2,400 文字)
【請求項2】
一対の前記噴射孔のそれぞれの中心線を含む仮想平面を第1基準面とし、一対の前記噴射孔のそれぞれの中心線と前記噴射孔が形成されていないと仮定したときの前記壁部の仮想外面とが交わる点を基準点とし、2つの前記基準点を含んで前記壁部の厚さ方向に広がる仮想平面を第2基準面としたとき、前記第1基準面と前記第2基準面とが交わる、請求項1に記載の洗浄装置。
【請求項3】
被処理物を収容する収容空間を有する容器本体と、請求項1または2に記載の洗浄装置とを有する容器を備える処理装置であって、
前記洗浄装置の前記洗浄装置本体は、前記収容空間に配置される、処理装置。
【請求項4】
部材を洗浄液で洗浄するための洗浄装置であって、
洗浄装置本体と、
前記洗浄装置本体の内部に形成された圧力室と、
前記圧力室に洗浄液を供給するように前記洗浄装置本体に設けられた洗浄液供給口と、
前記部材に向けて洗浄液を噴射するように前記洗浄装置本体に設けられた少なくとも1つの噴射部とを備え、
前記噴射部は、前記圧力室を構成する前記洗浄装置本体の壁部に形成され、前記洗浄装置本体の外部の空間と前記圧力室とを連通させる一対の噴射孔を有し、
一対の前記噴射孔は、これらから柱状に噴射された洗浄液が互いに衝突して扇形に広がるように、これらの中心線どうしが1つの交差点で交わるように形成され、
一対の前記噴射孔のそれぞれの中心線を含む仮想平面を第1基準面とし、一対の前記噴射孔のそれぞれの中心線と前記噴射孔が形成されていないと仮定したときの前記壁部の仮想外面とが交わる点を基準点とし、2つの前記基準点を含んで前記壁部の厚さ方向に広がる仮想平面を第2基準面としたとき、前記第1基準面と前記第2基準面とが交わる、洗浄装置。
【請求項5】
前記洗浄装置本体に設けられた複数の前記噴射部を備え、
1つの前記噴射部における前記第1基準面と前記第2基準面とが交わる第1角度は、他の1つの前記噴射部における前記第1基準面と前記第2基準面とが交わる第2角度とは異なるように定められる、請求項2または4に記載の洗浄装置。
【請求項6】
被処理物を収容する収容空間を有する容器本体と、請求項4または5に記載の洗浄装置とを有する容器を備える処理装置であって、
前記洗浄装置の前記洗浄装置本体は、前記収容空間に配置される、処理装置。
【請求項7】
主管と、前記主管の管壁から分岐して設けられた枝管と、前記枝管の内面を洗浄液で洗浄するための洗浄装置とを備える管路であって、
前記洗浄装置は、前記主管の内部に前記主管の長さ方向に延びて配置された管状の洗浄装置本体と、前記洗浄装置本体の内部に形成された圧力室と、前記圧力室に洗浄液を供給するように前記洗浄装置本体に設けられた洗浄液供給口と、前記枝管の内面に向けて洗浄液を噴射するように前記洗浄装置本体に設けられた噴射部とを備え、
前記噴射部は、前記圧力室を構成する前記洗浄装置本体の壁部に形成され、前記洗浄装置本体の外部の空間と前記圧力室とを連通させる一対の噴射孔を有し、
一対の前記噴射孔は、これらから柱状に噴射された洗浄液が互いに衝突して扇形に広がるように、これらの中心線どうしが1つの交差点で交わるように形成され、
前記壁部における一対の前記噴射孔が形成された部分は、一定の厚さを有して前記交差点側へ向かって膨らむように形成される、管路。
【請求項8】
前記枝管は、前記主管から遠ざかるにつれて位置が高くなるように設けられ、
一対の前記噴射孔のそれぞれの中心線を含む仮想平面を第1基準面とし、一対の前記噴射孔のそれぞれの中心線と前記噴射孔が形成されていないと仮定したときの前記壁部の仮想外面とが交わる点を基準点とし、2つの前記基準点を含んで前記壁部の厚さ方向に広がる仮想平面を第2基準面としたとき、
前記第1基準面は、扇形に広がった洗浄液の一部が前記枝管の内面の周方向における鉛直上部に当てられるように前記第2基準面に対して傾斜する、請求項7に記載の管路。
【請求項9】
主管と、前記主管の管壁から分岐して設けられた枝管と、前記枝管の内面を洗浄液で洗浄するための洗浄装置とを備える管路であって、
前記枝管は、前記主管から遠ざかるにつれて位置が高くなるように設けられ、
前記洗浄装置は、前記主管の内部に前記主管の長さ方向に延びて配置された管状の洗浄装置本体と、前記洗浄装置本体の内部に形成された圧力室と、前記圧力室に洗浄液を供給するように前記洗浄装置本体に設けられた洗浄液供給口と、前記枝管の内面に向けて洗浄液を噴射するように前記洗浄装置本体に設けられた噴射部とを備え、
前記噴射部は、前記圧力室を構成する前記洗浄装置本体の壁部に形成され、前記洗浄装置本体の外部の空間と前記圧力室とを連通させる一対の噴射孔を有し、
一対の前記噴射孔は、これらから柱状に噴射された洗浄液が互いに衝突して扇形に広がるように、これらの中心線どうしが1つの交差点で交わるように形成され、
一対の前記噴射孔のそれぞれの中心線を含む仮想平面を第1基準面とし、一対の前記噴射孔のそれぞれの中心線と前記噴射孔が形成されていないと仮定したときの前記壁部の仮想外面とが交わる点を基準点とし、2つの前記基準点を含んで前記壁部の厚さ方向に広がる仮想平面を第2基準面したとき、
前記第1基準面は、扇形に広がった洗浄液の一部が前記枝管の内面の周方向における鉛直上部に当てられるように前記第2基準面に対して傾斜する、管路。
発明の詳細な説明
【技術分野】
【0001】
本発明は、部材に洗浄液を噴射して洗浄するために用いられる洗浄装置、当該洗浄装置を備える処理装置および管路に関する。
続きを表示(約 1,900 文字)
【背景技術】
【0002】
特許文献1に記載されたスプレーノズル(洗浄装置)は、槽(容器)の内部空間に配置される洗浄ノズルと、洗浄ノズルに洗浄液を供給するための洗浄液供給管とを備えている。このスプレーノズルを用いて洗浄対象物を洗浄する際には、洗浄液供給管から洗浄ノズルに洗浄液が供給される。すると、その洗浄液が、洗浄ノズルに形成された複数の洗浄液噴射穴から柱状に噴射され、洗浄対象物に対して点状に当てられる。
【0003】
しかしながら、洗浄対象物に対して洗浄液を点状に当てる噴射態様、すなわち点状の噴射態様では、設計の自由度が低いため、洗浄対象物を効率よく洗浄することが困難であるという問題があった。つまり、点状の噴射態様で洗浄対象物の広い範囲をむらなく洗浄するためには、洗浄液噴射穴の数を増やすとともに洗浄液の噴射方向を細かく調整する必要があるが、この場合には、コスト面および技術面から噴射態様に関する設計の自由度が大きく制限されるため、結局、洗浄対象物を効率よく洗浄することができなかった。
【0004】
特許文献2には、液体を扇形に噴射するための一対の噴出孔を備える噴霧ノズルが記載されている。しかしながら、この噴霧ノズルは、農薬水を散布する用途で用いられるものであり、洗浄対象物を洗浄する用途については、考慮されていなかった。したがって、この噴霧ノズルと特許文献1の洗浄ノズルとは、形状および大きさが全く異なっており、この噴霧ノズルを特許文献1の洗浄ノズルに組み合わせることは容易ではなかった。
【先行技術文献】
【特許文献】
【0005】
特許第4606208号公報
実開昭49-143005号公報
【発明の概要】
【0006】
本発明は上記問題に対処するためになされたものであり、洗浄液の噴射態様に関する設計の自由度を高めることによって洗浄対象物である部材を効率よく洗浄できる、洗浄装置、処理装置および管路を提供することを目的とする。
【0007】
上記目的を達成するため、本発明に係る洗浄装置の特徴は、部材を洗浄液で洗浄するための洗浄装置であって、洗浄装置本体と、前記洗浄装置本体の内部に形成された圧力室と、前記圧力室に洗浄液を供給するように前記洗浄装置本体に設けられた洗浄液供給口と、前記部材に向けて洗浄液を噴射するように前記洗浄装置本体に設けられた少なくとも1つの噴射部とを備え、前記噴射部は、前記圧力室を構成する前記洗浄装置本体の壁部に形成され、前記洗浄装置本体の外部の空間と前記圧力室とを連通させる一対の噴射孔を有し、一対の前記噴射孔は、これらから柱状に噴射された洗浄液が互いに衝突して扇形に広がるように、これらの中心線どうしが1つの交差点で交わるように形成され、前記壁部における一対の前記噴射孔が形成された部分は、一定の厚さを有して前記交差点側へ向かって膨らむように形成されることにある。
【0008】
この洗浄装置では、一対の噴射孔から柱状に噴射された洗浄液が互いに衝突して扇形に広がるので、一対の噴射孔のそれぞれの位置、大きさおよび向きを適宜選択することによって、部材の位置や形状に応じて洗浄液の噴射態様を適切に定めることができる。つまり、この洗浄装置では、洗浄液の噴射態様に関する設計の自由度を高めることができ、洗浄対象物である部材を効率よく洗浄できる。また、一対の噴射孔のそれぞれを単純形状の貫通孔として形成できるので、噴射孔の加工が容易であるとともに、噴射孔に対する異物の付着を抑制でき、ひいては異物混入(コンタミネーション)を抑制できる。
【0009】
この洗浄装置では、壁部における一対の噴射孔が形成された部分は、一定の厚さを有して交差点側へ向かって膨らむように形成されるので、当該部分が交差点側へ向かって膨らまない場合と比べて、一対の噴射孔のそれぞれの長さを長くすることがでる。したがって、一対の噴射孔のそれぞれから噴射される洗浄液の噴射状態(主に噴射形状)を安定させることができ、部材を効率よく洗浄できる。
【0010】
本発明に係る洗浄装置の他の特徴は、一対の前記噴射孔のそれぞれの中心線を含む仮想平面を第1基準面とし、一対の前記噴射孔のそれぞれの中心線と前記噴射孔が形成されていないと仮定したときの前記壁部の仮想外面とが交わる点を基準点とし、2つの前記基準点を含んで前記壁部の厚さ方向に広がる仮想平面を第2基準面としたとき、前記第1基準面と前記第2基準面とが交わることにある。
(【0011】以降は省略されています)
この特許をJ-PlatPat(特許庁公式サイト)で参照する
関連特許
個人
ブラシ付きノズル
3か月前
個人
物体表面洗浄装置
2か月前
ノリタケ株式会社
洗浄装置
1か月前
株式会社シロハチ
長尺物用の清掃用具
3か月前
三浦工業株式会社
洗浄システム
2か月前
株式会社未来造形
チェーン洗浄具
1か月前
株式会社カスタム・クール・センター
スクレーパー
1日前
GOLDEN通商株式会社
ごみバンカの清掃方法
1か月前
株式会社三幸社
衣服立体乾燥機の吊り下げ型掃除用具
1か月前
大裕株式会社
敷鉄板表面の溶接残留物除去装置
2か月前
国立大学法人東海国立大学機構
微小重力環境用洗浄装置
1か月前
株式会社神鋼環境ソリューション
洗浄装置および処理装置
1日前
栗田工業株式会社
管内面の洗浄用プラグ及び洗浄方法
1か月前
キリンホールディングス株式会社
除去装置及び除去方法
24日前
ノリタケ株式会社
スラリーアイス洗浄装置用の管状部品
1か月前
株式会社神鋼環境ソリューション
洗浄装置、処理装置および管路
1日前
東朋テクノロジー株式会社
ガラス保護板の洗浄装置
10日前
株式会社奥村組
洗浄器具および洗浄方法
1か月前
株式会社エスエスティー
異形物体の洗浄方法
1か月前
日鉄テックスエンジ株式会社
ツール清掃装置
1か月前
イフコ・ジャパン 株式会社
物流容器の洗浄装置及び洗浄方法
1か月前
三浦工業株式会社
コンピュータプログラム
1か月前
日本電気株式会社
ファン、制御方法、通知方法およびプログラム
2か月前
日本ゼオン株式会社
光学フィルムの製造方法
2か月前
リンテック株式会社
清掃装置および清掃方法
1か月前
ノリタケ株式会社
スラリーアイス洗浄装置およびスラリーアイス洗浄方法
1か月前
ノリタケ株式会社
スラリーアイス洗浄装置およびスラリーアイス洗浄方法
1か月前
ノリタケ株式会社
スラリーアイス洗浄装置およびスラリーアイス洗浄方法
1か月前
株式会社IHIインフラ建設
ワイヤロープ油除去装置
1か月前
トヨタ自動車株式会社
雄ねじに付着した異物を除去する治具
23日前
タケウチビユーテー株式会社
ホームドア洗浄装置、ホームドア洗浄装置用の連結構造、及びホームドア洗浄方法
3か月前
揚發實業有限公司
洗浄機に用いられるノズル揺動機構
2か月前
青島海爾洗衣机有限公司
超音波洗浄装置
3か月前
本田技研工業株式会社
移動体制御システム、情報処理装置、移動体制御システムのための方法、機械学習モデルを生成する方法
1か月前
他の特許を見る