TOP
|
特許
|
意匠
|
商標
特許ウォッチ
Twitter
他の特許を見る
10個以上の画像は省略されています。
公開番号
2025161556
公報種別
公開特許公報(A)
公開日
2025-10-24
出願番号
2024064850
出願日
2024-04-12
発明の名称
ごみバンカの清掃方法
出願人
GOLDEN通商株式会社
代理人
個人
主分類
B08B
3/02 20060101AFI20251017BHJP(清掃)
要約
【課題】
ごみバンカに堆積したごみを効率的に除去し内部の清掃を行うことができるごみバンカの清掃方法の提供。
【解決手段】
ごみバンカ1の清掃方法は、天井クレーン2に自走可能な油圧ショベル4を固定するステップと、天井クレーン2を移動させることにより油圧ショベル4をごみバンカ1内に置くステップと、油圧ショベル4でごみ10を移動させることで底面12を露出させ、露出した底面12に油圧ショベル4を置くステップと、油圧ショベル4でごみ10を移動させることで油圧ショベル4が走行可能な底面12が露出した通路を形成するステップと、ごみ10をごみバンカ1内から外に出すステップと、油圧ショベル4を天井クレーン2に固定するステップと、天井クレーン2を移動させることにより油圧ショベル4をごみバンカ1から取り出すステップと、を有する。
【選択図】図3
特許請求の範囲
【請求項1】
天井クレーンが設置されたごみバンカの壁面及び底面に堆積したごみの清掃方法であって、
前記天井クレーンに自走可能な建設重機を固定するステップと、
前記天井クレーンを移動させることにより前記建設重機を前記ごみバンカ内に搬入するステップと、
前記建設重機で前記ごみを移動させることで底面を露出させ、露出した前記底面に前記建設重機を置くステップと、
前記建設重機で前記ごみを移動させることで前記建設重機が走行可能な前記底面が露出した通路を形成するステップと、
前記ごみを前記ごみバンカ内から外に出すステップと、
前記建設重機を前記天井クレーンに固定するステップと、
前記天井クレーンを移動させることにより前記建設重機を前記ごみバンカから取り出すステップと、を有することを特徴とするごみバンカの清掃方法。
続きを表示(約 540 文字)
【請求項2】
外部と連通する通行口を有するごみバンカの壁面及び底面に固着したごみの清掃方法であって、
自走可能な建設重機をクレーン車のフックに固定するステップと、
前記クレーン車のブームを前記通行口から前記ごみバンカ内に伸長させることにより前記建設重機を前記ごみバンカ内に移動するステップと、
前記フックを下すことにより前記建設重機を前記ごみバンカ内に置くステップと、
前記建設重機で前記ごみを移動させることで底面を露出させ、露出した前記底面に前記建設重機を置くステップと、
前記建設重機で前記ごみを移動させることで前記建設重機が走行可能な前記底面が露出した通路を形成するステップと、
前記ごみを前記ごみバンカ内から外に出すステップと、
前記建設重機を前記フックに固定するステップと、
前記フックを上げ、前記ブームを短縮して前記通行口を介して移動させることにより前記建設重機を前記ごみバンカから取り出すステップと、を有することを特徴とするごみバンカの清掃方法。
【請求項3】
前記通路は、前記ごみバンカの前記壁面に沿って形成されることを特徴とする請求項1または2に記載のごみバンカの清掃方法。
発明の詳細な説明
【技術分野】
【0001】
本発明はごみバンカの清掃方法に関し、特にごみを貯めるごみバンカの清掃方法に関する。
続きを表示(約 1,700 文字)
【背景技術】
【0002】
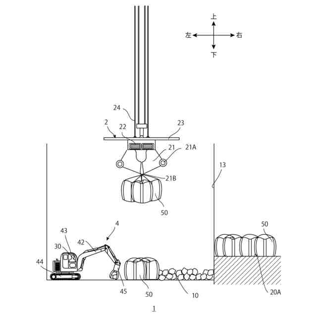
焼却炉におけるごみバンカは、焼却対象のごみを焼却前に一時的に蓄える施設であってごみ焼却施設などの焼却設備内に配置される。ごみバンカは、長期間にわたって大量のごみが蓄積及び貯蔵されるため、ごみに含まれる水分で底面にごみが堆積し硬化する。これによりごみバンカの貯蔵可能量が減少するとともに壁面のひび割れといった設備の劣化が懸念されるため、ごみバンカ内のごみをすべて除去して壁面及び底面を露出させて洗浄する定期的な清掃及びメンテナンスが必要となる。
【0003】
流動床型ごみ焼却炉に付設されたごみバンカは、回収したごみが投入されるごみ投入部と、粉砕機でごみを砕く粉砕ごみ貯留部と、粉砕ごみ貯留部から斜めに傾斜した傾斜面で繋がるごみ取出し部と、の3つに区画される(特許文献1)。粉砕ごみ貯留部では、粉砕機を設置したシュートを内装するとともにシュートの底部からごみ取り出し部にかけて所要の傾斜面となしているため、ごみを破砕後すぐ燃焼させることでごみの均質化を図ることができる。
【0004】
他のごみ処理システムでは、ごみ袋を投入するバンカと、バンカ内に設けられたごみ袋を搬送するコンベヤと、ごみの破袋機と、から主に構成される。バンカに投入されたごみは、コンベヤによってごみラインに直送され、粉砕、乾燥等の工程を経て焼却炉に供給される。供給されるごみは乾燥及び粉細した後に燃焼されるため、焼却炉の燃焼速度の向上、完全燃焼による排ガス、ダイオキシン等の有害物質発生低減、焼却炉の悪臭防止等を図ることができる。
【先行技術文献】
【特許文献】
【0005】
特開平7-71736号公報
特開2002-301400号公報
【発明の概要】
【発明が解決しようとする課題】
【0006】
しかしながら、特許文献1及び特許文献2に記載のごみ処理システムでは、ごみバンカのメンテナンスについては何ら考慮されていない。ごみバンカには天井クレーンが搭載されており、天井クレーンでごみバンカからごみを排出するが、底面や壁面近傍のごみは長期間不動となる。これは、天井クレーンを壁面や底面に接近させると両者が接触し、壁面又は天井クレーンが損傷する虞があるためである。
【0007】
壁面や底面近傍のごみは上に積み重ねられたごみの重量により圧縮され、水分等により硬化する。ごみバンカは、壁面及び底面周辺の不動ごみの堆積によって容量が小さくなるとともに壁面等に水分が侵入し劣化が早まるため、定期的な清掃作業によるメンテナンスが必要となる。
【0008】
ごみバンカは、深さがあるとともに壁面の高い位置までごみが体積しているため、従来は作業員がスコップや電動工具などを用いて底面12のごみ10を除去した後、図13に示すように、壁面に足場201を組み壁面13の清掃作業を行っていた。
【0009】
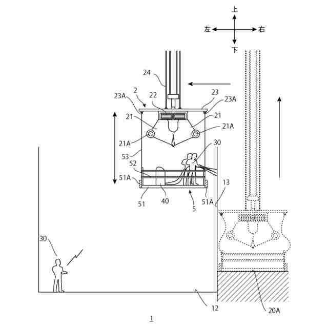
また、ごみバンカ1の形状に応じて、図14に示すように作業員30がゴンドラ202に乗り壁面13の清掃作業を行っていた。具体的には、壁面の突起220Aにゴンドラ202の固定部221を引っ掛けることでゴンドラ202を壁面13に固定していた。従来のゴンドラ202による清掃では、壁面13と作業員30との距離が近いため高圧洗浄の洗浄液が壁面13から反射して作業員30にかかり作業環境が悪かった。また、壁面の突起220Aに固定部221を引っ掛けているため、ゴンドラ202が壁面13から離れて高圧洗浄を行うことは難しかった。固定部221が設けられていない壁13は、平滑な壁であるためゴンドラ202を吊るすことができない。従って、設置に時間とコストがかかる足場201によって高圧洗浄を行うしか方法がなかった。
【0010】
ごみバンカが設置されるごみ焼却施設は、常時稼働していて長期間にわたって停止することが難しく、事業者から清掃期間の短縮が求められていた。以上のような経緯から、ごみバンカの底面や壁面の大量で膨大なごみを効率的に除去しごみバンカ内を清掃する方法が求められていた。
(【0011】以降は省略されています)
この特許をJ-PlatPat(特許庁公式サイト)で参照する
関連特許
個人
物体表面洗浄装置
1か月前
個人
ブラシ付きノズル
2か月前
ノリタケ株式会社
洗浄装置
22日前
株式会社シロハチ
長尺物用の清掃用具
2か月前
三浦工業株式会社
洗浄システム
2か月前
株式会社未来造形
チェーン洗浄具
29日前
GOLDEN通商株式会社
ごみバンカの清掃方法
8日前
株式会社三幸社
衣服立体乾燥機の吊り下げ型掃除用具
9日前
三浦工業株式会社
洗浄装置
3か月前
大裕株式会社
敷鉄板表面の溶接残留物除去装置
2か月前
国立大学法人東海国立大学機構
微小重力環境用洗浄装置
8日前
トヨタ自動車株式会社
配管洗浄装置
3か月前
栗田工業株式会社
管内面の洗浄用プラグ及び洗浄方法
24日前
ノリタケ株式会社
スラリーアイス洗浄装置用の管状部品
22日前
工機ホールディングス株式会社
作業機
3か月前
株式会社奥村組
洗浄器具および洗浄方法
29日前
株式会社エスエスティー
異形物体の洗浄方法
8日前
イフコ・ジャパン 株式会社
物流容器の洗浄装置及び洗浄方法
24日前
日鉄テックスエンジ株式会社
ツール清掃装置
23日前
三浦工業株式会社
コンピュータプログラム
11日前
日本電気株式会社
ファン、制御方法、通知方法およびプログラム
1か月前
日本ゼオン株式会社
光学フィルムの製造方法
1か月前
リンテック株式会社
清掃装置および清掃方法
23日前
ノリタケ株式会社
スラリーアイス洗浄装置およびスラリーアイス洗浄方法
22日前
ノリタケ株式会社
スラリーアイス洗浄装置およびスラリーアイス洗浄方法
22日前
ノリタケ株式会社
スラリーアイス洗浄装置およびスラリーアイス洗浄方法
22日前
富士フイルムビジネスイノベーション株式会社
清掃装置
3か月前
株式会社石野製作所
清掃方法、清掃用スポンジ及び清掃装置
3か月前
株式会社IHIインフラ建設
ワイヤロープ油除去装置
2日前
三菱重工業株式会社
配管内部の付着物除去装置および方法
3か月前
株式会社LIXIL
水垢の処理方法、着色剤、及び着色済み基材
2か月前
パナソニックIPマネジメント株式会社
洗浄機
4か月前
タケウチビユーテー株式会社
ホームドア洗浄装置、ホームドア洗浄装置用の連結構造、及びホームドア洗浄方法
2か月前
揚發實業有限公司
洗浄機に用いられるノズル揺動機構
1か月前
青島海爾洗衣机有限公司
超音波洗浄装置
2か月前
株式会社クボタ
処理剤収容部用清掃装置および処理剤収容部の清掃方法
3か月前
続きを見る
他の特許を見る