TOP
|
特許
|
意匠
|
商標
特許ウォッチ
Twitter
他の特許を見る
10個以上の画像は省略されています。
公開番号
2025141541
公報種別
公開特許公報(A)
公開日
2025-09-29
出願番号
2024041532
出願日
2024-03-15
発明の名称
ファン、制御方法、通知方法およびプログラム
出願人
日本電気株式会社
代理人
個人
,
個人
主分類
B08B
6/00 20060101AFI20250919BHJP(清掃)
要約
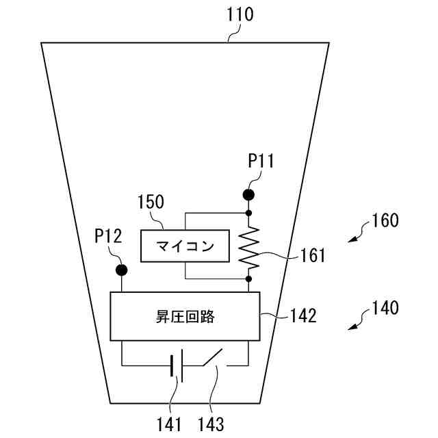
【課題】防塵フィルタを設ける必要なしに、塵埃の流入を軽減させられるようにする。
【解決手段】ファンが、伝導体が設けられた羽と、前記伝導体を帯電させる電圧印加手段と、前記羽を回転させる駆動手段と、を備える。
【選択図】図1
特許請求の範囲
【請求項1】
伝導体が設けられた羽と、
前記伝導体を帯電させる電圧印加手段と、
前記羽を回転させる駆動手段と、
を備えるファン。
続きを表示(約 1,900 文字)
【請求項2】
前記羽は、正電圧で帯電する前記伝導体である第1伝導体と、負電圧で帯電する前記伝導体である第2伝導体と
を備える、請求項1に記載のファン。
【請求項3】
前記伝導体は、前記羽の一方の面に設けられており、
その面に、前記伝導体を覆う絶縁体が設けられている、
請求項1に記載のファン。
【請求項4】
前記駆動手段は、前記羽の回転方向を切り替え、
前記電圧印加手段は、前記羽の面のうち前記伝導体が設けられている面の側から、前記羽の面のうち前記伝導体が設けられていない面の側へ風が流れるように前記羽が回転している場合、前記伝導体を帯電させ、前記羽の面のうち前記伝導体が設けられていない面の側から、前記羽の面のうち前記伝導体が設けられている面の側へ風が流れるように前記羽が回転している場合、前記伝導体の帯電を解除するように、前記伝導体に対する電圧の印加の有無を切り替える、
請求項3に記載のファン。
【請求項5】
前記伝導体と直列に接続されている抵抗の電圧の大きさが所定の閾値より大きいか否かを判定する判定手段を備え、
前記駆動手段は、前記抵抗の電圧の大きさが前記閾値よりも大きいと判定された場合、前記羽の回転方向が、前記羽の面のうち前記伝導体が設けられていない面の側から、前記羽の面のうち前記伝導体が設けられている面の側へ風が流れる回転方向になるように、前記羽を回転させる、
請求項4に記載のファン。
【請求項6】
前記伝導体と直列に接続されている抵抗の電圧の大きさが所定の閾値より大きいか否かを判定する判定手段と、
前記抵抗の電圧の大きさが前記閾値よりも大きいと判定された場合、前記ファンの清掃時期であることの通知を出力する出力手段と、
を備える、請求項1に記載のファン。
【請求項7】
コンピュータが、
一方の面に伝導体が設けられ、その面に、前記伝導体を覆う絶縁体が設けられている羽と、前記伝導体を帯電させる電圧印加手段と、前記羽を回転させる駆動手段と、を備えるファンの、前記伝導体と直列に接続されている抵抗の電圧の大きさが所定の閾値より大きいか否かを判定し、
前記抵抗の電圧の大きさが前記閾値よりも大きいと判定した場合、前記羽の回転方向が、前記羽の面のうち前記伝導体が設けられていない面の側から、前記羽の面のうち前記伝導体が設けられている面の側へ風が流れる回転方向になるように、前記羽を回転させるように前記駆動手段を制御し、かつ、前記伝導体に対する電圧の印加を停止するように前記電圧印加手段を制御する、
ことを含む制御方法。
【請求項8】
コンピュータが、
伝導体が設けられた羽と、前記伝導体を帯電させる電圧印加手段と、前記羽を回転させる駆動手段と、を備えるファンの、前記伝導体と直列に接続されている抵抗の電圧の大きさが所定の閾値より大きいか否かを判定し、
前記抵抗の電圧の大きさが前記閾値よりも大きいと判定した場合、前記ファンの清掃時期であることを通知する、
ことを含む通知方法。
【請求項9】
コンピュータに、
一方の面に伝導体が設けられ、その面に、前記伝導体を覆う絶縁体が設けられている羽と、前記伝導体を帯電させる電圧印加手段と、前記羽を回転させる駆動手段と、を備えるファンの、前記伝導体と直列に接続されている抵抗の電圧の大きさが所定の閾値より大きいか否かを判定することと、
前記抵抗の電圧の大きさが前記閾値よりも大きいと判定した場合、前記羽の回転方向が、前記羽の面のうち前記伝導体が設けられていない面の側から、前記羽の面のうち前記伝導体が設けられている面の側へ風が流れる回転方向になるように、前記羽を回転させるように前記駆動手段を制御し、かつ、前記伝導体に対する電圧の印加を停止するように前記電圧印加手段を制御することと、
を実行させるプログラム。
【請求項10】
コンピュータに、
伝導体が設けられた羽と、前記伝導体を帯電させる電圧印加手段と、前記羽を回転させる駆動手段と、を備えるファンの、前記伝導体と直列に接続されている抵抗の電圧の大きさが所定の閾値より大きいか否かを判定することと、
前記抵抗の電圧の大きさが前記閾値よりも大きいと判定した場合、前記ファンの清掃時期であることを通知することと、
を実行させるプログラム。
発明の詳細な説明
【技術分野】
【0001】
本発明は、ファン、制御方法、通知方法およびプログラムに関する。
続きを表示(約 1,600 文字)
【背景技術】
【0002】
電子機器に冷却ファンと防塵フィルタとが設けられる場合がある。
例えば、特許文献1には、冷却ファンを振動させて冷却ファンに付着する塵埃を取り除き、また、防塵フィルタにブラシを取り付けて防塵フィルタに付着する塵埃を擦り落とすことが記載されている。
【先行技術文献】
【特許文献】
【0003】
特開2000-244165号公報
【発明の概要】
【発明が解決しようとする課題】
【0004】
防塵フィルタに塵埃が付着すると清掃または交換の必要が生じる。防塵フィルタを設ける必要なしに、塵埃の流入を軽減させられることが好ましい。
【0005】
本開示の目的の一例は、上述した課題を解決することのできるファン、制御方法、通知方法およびプログラムを提供することである。
【課題を解決するための手段】
【0006】
本開示の第1の態様によれば、ファンは、伝導体が設けられた羽と、前記伝導体を帯電させる電圧印加手段と、前記羽を回転させる駆動手段と、を備える。
【0007】
本開示の第2の態様によれば、制御方法は、コンピュータが、一方の面に伝導体が設けられ、その面に、前記伝導体を覆う絶縁体が設けられている羽と、前記伝導体を帯電させる電圧印加手段と、前記羽を回転させる駆動手段と、を備えるファンの、前記伝導体と直列に接続されている抵抗の電圧の大きさが所定の閾値より大きいか否かを判定し、前記抵抗の電圧の大きさが前記閾値よりも大きいと判定した場合、前記羽の回転方向が、前記羽の面のうち前記伝導体が設けられていない面の側から、前記羽の面のうち前記伝導体が設けられている面の側へ風が流れる回転方向になるように、前記羽を回転させるように前記駆動手段を制御し、かつ、前記伝導体に対する電圧の印加を停止するように前記電圧印加手段を制御する、ことを含む。
【0008】
本開示の第3の態様によれば、通知方法は、コンピュータが、伝導体が設けられた羽と、前記伝導体を帯電させる電圧印加手段と、前記羽を回転させる駆動手段と、を備えるファンの、前記伝導体と直列に接続されている抵抗の電圧の大きさが所定の閾値より大きいか否かを判定し、前記抵抗の電圧の大きさが前記閾値よりも大きいと判定した場合、前記ファンの清掃時期であることを通知する、ことを含む。
【0009】
本開示の第4の態様によれば、プログラムは、コンピュータに、一方の面に伝導体が設けられ、その面に、前記伝導体を覆う絶縁体が設けられている羽と、前記伝導体を帯電させる電圧印加手段と、前記羽を回転させる駆動手段と、を備えるファンの、前記伝導体と直列に接続されている抵抗の電圧の大きさが所定の閾値より大きいか否かを判定することと、前記抵抗の電圧の大きさが前記閾値よりも大きいと判定した場合、前記羽の回転方向が、前記羽の面のうち前記伝導体が設けられていない面の側から、前記羽の面のうち前記伝導体が設けられている面の側へ風が流れる回転方向になるように、前記羽を回転させるように前記駆動手段を制御し、かつ、前記伝導体に対する電圧の印加を停止するように前記電圧印加手段を制御することと、を実行させるプログラムである。
【0010】
本開示の第5の態様によれば、プログラムは、コンピュータに、伝導体が設けられた羽と、前記伝導体を帯電させる電圧印加手段と、前記羽を回転させる駆動手段と、を備えるファンの、前記伝導体と直列に接続されている抵抗の電圧の大きさが所定の閾値より大きいか否かを判定することと、前記抵抗の電圧の大きさが前記閾値よりも大きいと判定した場合、前記ファンの清掃時期であることを通知することと、を実行させるプログラムである。
【発明の効果】
(【0011】以降は省略されています)
この特許をJ-PlatPat(特許庁公式サイト)で参照する
関連特許
日本電気株式会社
監視装置
20日前
日本電気株式会社
管理装置
20日前
日本電気株式会社
監視装置
20日前
日本電気株式会社
異常検知装置
12日前
日本電気株式会社
光モジュール
7日前
日本電気株式会社
ラインカード及びイジェクタ
18日前
日本電気株式会社
考査装置、考査方法、プログラム
今日
日本電気株式会社
考査装置、考査方法、プログラム
今日
日本電気株式会社
交渉装置、交渉方法及びプログラム
7日前
日本電気株式会社
端末、端末の制御方法及びプログラム
18日前
日本電気株式会社
レコメンド装置およびレコメンド方法
14日前
日本電気株式会社
処理システム、処理方法、およびプログラム
11日前
日本電気株式会社
健康管理装置、健康管理方法及びプログラム
7日前
日本電気株式会社
行動推奨装置、行動推奨方法及びプログラム
12日前
日本電気株式会社
処理システム、処理方法、およびプログラム
13日前
日本電気株式会社
合意判定装置、合意判定方法及びプログラム
5日前
日本電気株式会社
視聴支援装置、視聴支援方法及びプログラム
5日前
日本電気株式会社
情報処理装置、分析方法、及び分析プログラム
5日前
日本電気株式会社
情報処理装置、情報処理方法、及びプログラム
11日前
日本電気株式会社
画像生成装置、画像生成方法、及びプログラム
5日前
日本電気株式会社
視線検出装置、視線検出方法、及びプログラム
11日前
日本電気株式会社
情報処理装置、情報処理方法、及びプログラム
5日前
日本電気株式会社
情報処理装置、情報処理方法、及びプログラム
11日前
日本電気株式会社
蓄電制御装置、蓄電制御方法、およびプログラム
18日前
日本電気株式会社
補聴支援装置、補聴支援方法、及び、プログラム
18日前
日本電気株式会社
サーバ装置、サーバ装置の制御方法及びプログラム
14日前
日本電気株式会社
情報処理装置、情報処理方法、及び、制御プログラム
8日前
日本電気株式会社
制御装置、制御システム、制御方法、及びプログラム
8日前
日本電気株式会社
情報出力装置、情報出力方法および情報出力プログラム
19日前
日本電気株式会社
情報処理装置、回答生成方法、及び回答生成プログラム
8日前
日本電気株式会社
棚システム、制御装置、棚段の制御方法、及びプログラム
5日前
日本電気株式会社
処理装置
21日前
日本電気株式会社
システム
21日前
日本電気株式会社
質問提案装置、質問提案方法およびコンピュータプログラム
13日前
日本電気株式会社
改善提案装置、改善提案方法およびコンピュータプログラム
21日前
日本電気株式会社
サーバ装置、システム、サーバ装置の制御方法及びプログラム
14日前
続きを見る
他の特許を見る