TOP
|
特許
|
意匠
|
商標
特許ウォッチ
Twitter
他の特許を見る
10個以上の画像は省略されています。
公開番号
2025151578
公報種別
公開特許公報(A)
公開日
2025-10-09
出願番号
2024053084
出願日
2024-03-28
発明の名称
情報処理装置、情報処理方法及びプログラム
出願人
日本電気株式会社
代理人
個人
主分類
G06F
21/32 20130101AFI20251002BHJP(計算;計数)
要約
【課題】対象の音声を用いた強固な認証を可能にする情報処理装置、情報処理方法及びプログラムを提供する。
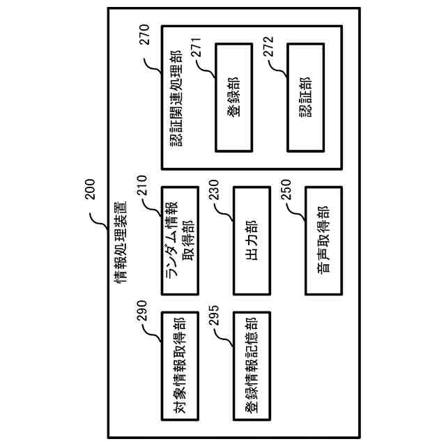
【解決手段】情報処理装置は、出力部と、音声取得部と、認証関連処理部とを備える。出力部は、ランダムに生成されたランダム情報を含む出力情報を出力する。音声取得部は、出力情報に対する応答音声を取得する。認証関連処理部は、応答音声に含まれる声紋情報及びワード情報の少なくとも1つを用いて、対象の認証に関連する処理を行う。
【選択図】図1
特許請求の範囲
【請求項1】
ランダムに生成されたランダム情報を含む出力情報を出力する出力手段と、
前記出力情報に対する応答音声を取得する音声取得手段と、
前記応答音声に含まれる声紋情報及びワード情報の少なくとも1つを用いて、対象の認証に関連する処理を行う認証関連処理手段と、を備える
情報処理装置。
続きを表示(約 1,500 文字)
【請求項2】
前記ランダム情報を取得するランダム情報取得手段をさらに備え、
前記ランダム情報は、第1の質問に関連してランダムに生成された第2の質問と、ランダムに生成された文字列との少なくとも1つを含み、
前記ワード情報は、前記第2の質問に対する前記応答音声に含まれるキーワードと、前記ランダムに生成された文字列との少なくとも1つを含む
請求項1に記載の情報処理装置。
【請求項3】
前記出力情報は、予め定められた情報の要求をさらに含む
請求項1又は2に記載の情報処理装置。
【請求項4】
前記認証関連処理手段は、前記応答音声に含まれる声紋情報及びワード情報を用いて、前記対象の認証に関連する処理を行う
請求項1又は2に記載の情報処理装置。
【請求項5】
前記出力情報は、前記対象を登録するために出力される登録用出力情報を含み、
前記応答音声は、前記登録用出力情報に対する応答音声である登録用応答音声を含み、
前記対象の認証に関連する処理は、前記登録用応答音声に含まれる声紋情報及びワード情報を、前記対象の登録情報として登録することを含む
請求項3に記載の情報処理装置。
【請求項6】
前記出力情報は、前記対象を認証するために出力される認証用出力情報を含み、
前記応答音声は、前記認証用出力情報に対する応答音声である認証用応答音声を含み、
前記対象の認証に関連する処理は、前記認証用応答音声に含まれる声紋情報及びワード情報と、前記登録情報とを用いて、前記対象を認証することを含む
請求項5に記載の情報処理装置。
【請求項7】
前記ランダム情報は、ランダムに生成された文字列を含み、
前記ワード情報は、前記ランダム情報に対する前記応答音声に含まれる文字列を含み、
前記登録情報は、前記対象の前記声紋情報及び前記ランダムに生成された文字列を関連付ける情報であり、
前記認証関連処理手段は、前記認証用応答音声と前記登録情報との各々に含まれる声紋情報及び文字列を用いて、前記対象を認証する
請求項6に記載の情報処理装置。
【請求項8】
前記登録情報は、前記対象の前記声紋情報と、質問及び当該質問に対するキーワードとを関連付ける情報であり、
前記認証用出力情報は、前記登録情報に登録された質問である第1の質問とともに、前記ランダム情報として、当該第1の質問に関連してランダムに生成された第2の質問を含み、
前記認証関連処理手段は、前記認証用応答音声と前記登録情報との各々に含まれる声紋情報と第1の質問に対するキーワードとを用いて前記対象を認証するとともに、前記第2の質問と当該第2の質問に対するキーワードとを、前記対象の登録情報として登録する
請求項6に記載の情報処理装置。
【請求項9】
1つ以上のコンピュータが、
ランダムに生成されたランダム情報を含む出力情報を出力し、
前記出力情報に対する応答音声を取得し、
前記応答音声に含まれる声紋情報及びワード情報の少なくとも1つを用いて、対象の認証に関連する処理を行う
情報処理方法。
【請求項10】
1つ以上のコンピュータに、
ランダムに生成されたランダム情報を含む出力情報を出力し、
前記出力情報に対する応答音声を取得し、
前記応答音声に含まれる声紋情報及びワード情報の少なくとも1つを用いて、対象の認証に関連する処理を行うことを実行させるためのプログラム。
発明の詳細な説明
【技術分野】
【0001】
本開示は、情報処理装置、情報処理方法及びプログラムに関する。
続きを表示(約 1,300 文字)
【背景技術】
【0002】
例えば特許文献1に記載の認証装置は、生体認証部と、質問認証部と、スコア計算部と、判定部と、生体認証情報蓄積部と、質問認証情報蓄積部と、を備える。
【0003】
生体認証部は、認証対象者の生体認証情報を入力して生体認証情報蓄積部に格納された生体認証情報と比較し、本人らしさを定量的に判定して生体認証スコアを付与する。
【0004】
質問認証部は、認証対象者に対して質問を提示して回答を入力し、入力した回答が質問に対して予め登録された回答と一致しているか否か判定し、回答内容の正誤により質問認証スコアを付与する。質問認証部は、例えば、質問の難易度に応じて0~50の間で付与したスコアを質問認証情報蓄積部に質問と回答に関連付けて格納しておき、入力した回答が登録された回答と一致する場合は質問に関連付けられたスコアを質問認証スコアとして付与する。一致しない場合、つまり回答を間違えた場合、質問認証部は質問認証スコアを0とする。質問認証部は、難易度の低い質問には低いスコアを与え、難易度の高い質問には高いスコアを与える。
【0005】
スコア計算部は、質問認証部から質問認証スコアを受け取って、生体認証スコアと質問認証スコアとを合計して合計スコアを計算する。判定部は、合計スコアが予め定めた設定値以上であるか否か判定し、合計スコアが設定値以上の場合は認証成功とし、合計スコアが設定値より低い場合に、質問認証部による質問の回数が所定の回数に達しているときは認証失敗とする。
【0006】
生体認証情報蓄積部は、各認証対象者の生体認証情報を、認証対象者を識別するユーザIDに関連付けて格納する。質問認証情報蓄積部は、認証対象者毎に、質問、回答、およびスコアの組みを複数組格納する。認証対象者は、予め準備されている質問に対する回答を質問認証情報蓄積部に登録する。
【先行技術文献】
【特許文献】
【0007】
特開2014-85913号公報
【発明の概要】
【発明が解決しようとする課題】
【0008】
本開示は、上述した先行技術文献に記載の技術を改良することを目的とする。
【課題を解決するための手段】
【0009】
本開示における情報処理装置は、
ランダムに生成されたランダム情報を含む出力情報を出力する出力手段と、
前記出力情報に対する応答音声を取得する音声取得手段と、
前記応答音声に含まれる声紋情報及びワード情報の少なくとも1つを用いて、対象の認証に関連する処理を行う認証関連処理手段と、を備える。
【0010】
本開示における情報処理方法は、
1つ以上のコンピュータが、
ランダムに生成されたランダム情報を含む出力情報を出力し、
前記出力情報に対する応答音声を取得し、
前記応答音声に含まれる声紋情報及びワード情報の少なくとも1つを用いて、対象の認証に関連する処理を行う。
(【0011】以降は省略されています)
この特許をJ-PlatPat(特許庁公式サイト)で参照する
関連特許
日本電気株式会社
監視装置
1か月前
日本電気株式会社
監視装置
1か月前
日本電気株式会社
管理装置
1か月前
日本電気株式会社
光モジュール
26日前
日本電気株式会社
異常検知装置
1か月前
日本電気株式会社
海底分岐装置
1か月前
日本電気株式会社
光集積回路素子
1か月前
日本電気株式会社
超伝導量子回路装置
1か月前
日本電気株式会社
システム、装置及び方法
1か月前
日本電気株式会社
推論装置および推論方法
18日前
日本電気株式会社
ラインカード及びイジェクタ
1か月前
日本電気株式会社
時刻維持装置および時刻維持方法
17日前
日本電気株式会社
考査装置、考査方法、プログラム
19日前
日本電気株式会社
考査装置、考査方法、プログラム
19日前
日本電気株式会社
交渉装置、交渉方法及びプログラム
3日前
日本電気株式会社
交渉装置、交渉方法及びプログラム
26日前
日本電気株式会社
レコメンド装置およびレコメンド方法
1か月前
日本電気株式会社
端末、端末の制御方法及びプログラム
1か月前
日本電気株式会社
監視装置、監視方法、及びプログラム
16日前
日本電気株式会社
安否確認支援装置、方法及びプログラム
1か月前
日本電気株式会社
乗車誘導計画装置および乗車誘導計画方法
9日前
日本電気株式会社
情報処理装置、情報処理方法、プログラム
18日前
日本電気株式会社
店舗端末、情報処理方法、及びプログラム
18日前
日本電気株式会社
追跡支援装置、追跡支援方法及びプログラム
1か月前
日本電気株式会社
処理システム、処理方法、およびプログラム
1か月前
日本電気株式会社
合意判定装置、合意判定方法及びプログラム
3日前
日本電気株式会社
情報処理装置、計算方法、およびプログラム
1か月前
日本電気株式会社
情報処理装置、提示方法、およびプログラム
1か月前
日本電気株式会社
追跡支援装置、追跡支援方法及びプログラム
1か月前
日本電気株式会社
行動推奨装置、行動推奨方法及びプログラム
1か月前
日本電気株式会社
処理システム、処理方法、およびプログラム
1か月前
日本電気株式会社
視聴支援装置、視聴支援方法及びプログラム
24日前
日本電気株式会社
合意判定装置、合意判定方法及びプログラム
24日前
日本電気株式会社
経路選択装置、経路選択方法及びプログラム
16日前
日本電気株式会社
健康管理装置、健康管理方法及びプログラム
26日前
日本電気株式会社
情報処理装置、情報処理方法、及びプログラム
24日前
続きを見る
他の特許を見る