TOP
|
特許
|
意匠
|
商標
特許ウォッチ
Twitter
他の特許を見る
10個以上の画像は省略されています。
公開番号
2025155114
公報種別
公開特許公報(A)
公開日
2025-10-14
出願番号
2024058576
出願日
2024-04-01
発明の名称
安否確認支援装置、方法及びプログラム
出願人
日本電気株式会社
代理人
個人
主分類
G08B
25/04 20060101AFI20251006BHJP(信号)
要約
【課題】災害発生時に被災者の安否状況を迅速に収集すること。
【解決手段】安否確認支援装置は、災害時に、対象地域内に登録された対象者群の各通信端末に対して、第1の通信方法により安否確認に関する通知を行う第1の通知部と、対象地域内の複数の部分地域の中で、通知に関する回答率が閾値より低い部分地域を特定する特定部と、特定した部分地域を対象として、第1の通信方法とは異なる第2の通信方法により通知の再確認通知を行う第2の通知部と、を備える。
【選択図】図1
特許請求の範囲
【請求項1】
災害時に、対象地域内に登録された対象者群の各通信端末に対して、第1の通信方法により安否確認に関する通知を行う第1の通知部と、
前記対象地域内の複数の部分地域の中で、前記通知に関する回答率が閾値より低い部分地域を特定する特定部と、
前記特定した部分地域を対象として、前記第1の通信方法とは異なる第2の通信方法により前記通知の再確認通知を行う第2の通知部と、
を備える安否確認支援装置。
続きを表示(約 1,100 文字)
【請求項2】
前記第2の通信方法は、前記特定した部分地域を対象とした防災無線放送である
請求項1に記載の安否確認支援装置。
【請求項3】
前記通信端末は、前記第1の通信方法及び前記第2の通信方法の両方により通信可能であり、
前記第2の通知部は、前記特定した部分地域内に登録され、かつ、前記通知に未回答である未回答対象者の通信端末に対して、前記第2の通信方法により前記再確認通知を行う
請求項1に記載の安否確認支援装置。
【請求項4】
前記第2の通信方法は、前記未回答対象者の通信端末に対する電話発信である
請求項3に記載の安否確認支援装置。
【請求項5】
前記第2の通知部は、前記未回答対象者の属性情報に応じて決定された通知内容により前記再確認通知を行う
請求項3又は4に記載の安否確認支援装置。
【請求項6】
前記第2の通知部は、前記特定した部分地域における前記回答率に応じて決定された通知内容により前記再確認通知を行う
請求項1又は2に記載の安否確認支援装置。
【請求項7】
前記特定部は、前記回答率が、前記災害の警戒レベルに応じて決定される前記閾値より低い部分地域を特定する
請求項1又は2に記載の安否確認支援装置。
【請求項8】
前記特定部は、前記災害の警戒レベルに応じて決定される集計間隔により前記回答率を集計し、当該集計された回答率が前記閾値より低い部分地域を特定する
請求項1又は2に記載の安否確認支援装置。
【請求項9】
コンピュータが、
災害時に、対象地域内に登録された対象者群の各通信端末に対して、第1の通信方法により安否確認に関する通知を行い、
前記対象地域内の複数の部分地域の中で、前記通知に関する回答率が閾値より低い部分地域を特定し、
前記特定した部分地域を対象として、前記第1の通信方法とは異なる第2の通信方法により前記通知の再確認通知を行う、
安否確認支援方法。
【請求項10】
災害時に、対象地域内に登録された対象者群の各通信端末に対して、第1の通信方法により安否確認に関する通知を行う第1の通知処理と、
前記対象地域内の複数の部分地域の中で、前記通知に関する回答率が閾値より低い部分地域を特定する特定処理と、
前記特定した部分地域を対象として、前記第1の通信方法とは異なる第2の通信方法により前記通知の再確認通知を行う第2の通知処理と、
をコンピュータに実行させる安否確認支援プログラム。
発明の詳細な説明
【技術分野】
【0001】
本開示は、安否確認支援装置、方法及びプログラムに関する。
続きを表示(約 1,600 文字)
【背景技術】
【0002】
特許文献1には、災害発生時に通信端末を利用して被災者のうち特に要救助者の安否情報を収集する情報管理システムに関する技術が開示されている。特許文献1にかかる情報管理システムは、災害発生時に通知を受信した通信端末の位置情報に基づいて、協力要請を行う通信端末を決定する。
【先行技術文献】
【特許文献】
【0003】
特開2017-147579号公報
【発明の概要】
【発明が解決しようとする課題】
【0004】
ここで、災害時に特定の情報システムを介して発信される安否確認通知に対して、安否状況の回答が十分に得られない場合に、支援の必要性が高い要支援者又は要支援者に対する支援候補者への有効な通知の仕組みが求められている。
【0005】
本開示の目的は、上述した課題を鑑み、災害発生時に被災者の安否状況を迅速に収集することを支援するための安否確認支援装置、方法、及び、プログラムを提供することにある。
【課題を解決するための手段】
【0006】
本開示にかかる安否確認支援装置は、
災害時に、対象地域内に登録された対象者群の各通信端末に対して、第1の通信方法により安否確認に関する通知を行う第1の通知部と、
前記対象地域内の複数の部分地域の中で、前記通知に関する回答率が閾値より低い部分地域を特定する特定部と、
前記特定した部分地域を対象として、前記第1の通信方法とは異なる第2の通信方法により前記通知の再確認通知を行う第2の通知部と、
を備える。
【0007】
本開示にかかる安否確認支援方法は、
コンピュータが、
災害時に、対象地域内に登録された対象者群の各通信端末に対して、第1の通信方法により安否確認に関する通知を行い、
前記対象地域内の複数の部分地域の中で、前記通知に関する回答率が閾値より低い部分地域を特定し、
前記特定した部分地域を対象として、前記第1の通信方法とは異なる第2の通信方法により前記通知の再確認通知を行う。
【0008】
本開示にかかる安否確認支援プログラムは、
災害時に、対象地域内に登録された対象者群の各通信端末に対して、第1の通信方法により安否確認に関する通知を行う第1の通知処理と、
前記対象地域内の複数の部分地域の中で、前記通知に関する回答率が閾値より低い部分地域を特定する特定処理と、
前記特定した部分地域を対象として、前記第1の通信方法とは異なる第2の通信方法により前記通知の再確認通知を行う第2の通知処理と、
をコンピュータに実行させる。
【発明の効果】
【0009】
本開示により、災害発生時に被災者の安否状況を迅速に収集することを支援できる。
【図面の簡単な説明】
【0010】
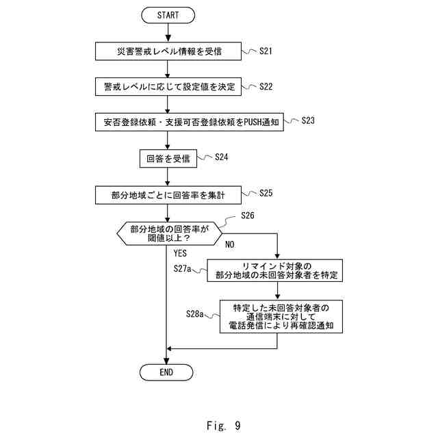
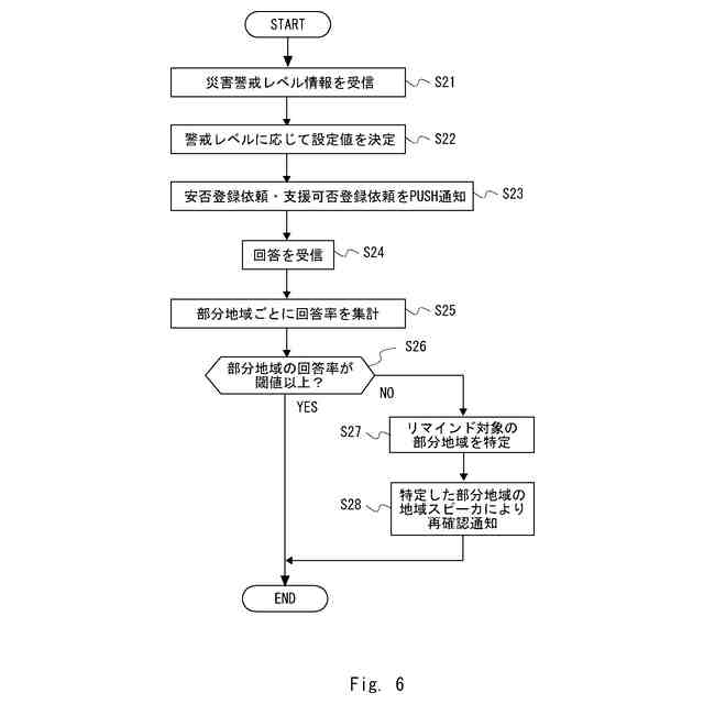
本開示にかかる安否確認支援装置の構成を示すブロック図である。
本開示にかかる安否確認支援方法の流れを示すフローチャートである。
本開示にかかる安否確認支援システムの全体構成を示すブロック図である。
本開示にかかる安否確認支援装置の構成を示すブロック図である。
本開示にかかる安否確認支援装置のハードウェア構成を示すブロック図である。
本開示にかかる安否確認支援処理の流れを示すフローチャートである。
本開示にかかる安否確認支援システムの全体構成を示すブロック図である。
本開示にかかる安否確認支援装置の構成を示すブロック図である。
本開示にかかる安否確認支援処理の流れを示すフローチャートである。
【発明を実施するための形態】
(【0011】以降は省略されています)
この特許をJ-PlatPat(特許庁公式サイト)で参照する
関連特許
日本電気株式会社
監視装置
今日
日本電気株式会社
管理装置
今日
日本電気株式会社
監視装置
今日
日本電気株式会社
海底分岐装置
1日前
日本電気株式会社
安否確認支援装置、方法及びプログラム
1日前
日本電気株式会社
追跡支援装置、追跡支援方法及びプログラム
5日前
日本電気株式会社
セルロース系樹脂組成物及びこれを用いた成形体
5日前
日本電気株式会社
繊維状カーボンナノホーン集合体の接着分離方法
1日前
日本電気株式会社
画像処理装置、点検システム、方法およびプログラム
1日前
日本電気株式会社
情報管理装置、情報管理方法、及び、制御プログラム
1日前
日本電気株式会社
健康改善支援装置、健康改善支援方法及びプログラム
5日前
日本電気株式会社
システム
1日前
日本電気株式会社
処理装置
1日前
日本電気株式会社
改善提案装置、改善提案方法およびコンピュータプログラム
1日前
日本電気株式会社
衣服情報管理装置、衣服情報管理装置方法、およびプログラム
今日
日本電気株式会社
見直し提案装置、見直し提案方法およびコンピュータプログラム
1日前
日本電気株式会社
フレーム転送装置、フレーム転送方法およびフレーム転送プログラム
1日前
日本電気株式会社
情報処理装置、情報管理システム、情報処理方法、およびプログラム
5日前
日本電気株式会社
ナノカーボン複合体、これを用いたボロメータ、およびこれらの製造方法
1日前
日本電気株式会社
コンテンツ生成装置、コンテンツ生成方法、及びコンテンツ生成プログラム
5日前
日本電気株式会社
地図情報提供装置、地図情報提供システム、地図情報提供方法及び地図情報提供プログラム
1日前
日本電気株式会社
三次元スキャナの設置位置設定支援装置、三次元スキャナの設置位置設定支援方法、及び、三次元スキャナの設置位置設定支援プログラム
1日前
日本精機株式会社
警報システム
1か月前
株式会社SUBARU
車両
6日前
個人
自動電動車椅子
27日前
スズキ株式会社
運転支援装置
1か月前
エムケー精工株式会社
車両誘導装置
1か月前
ニッタン株式会社
検知器
1か月前
ニッタン株式会社
発信機
2か月前
個人
磁気路上での車両の路線離脱防御
16日前
ニッタン株式会社
検知器
1か月前
ニッタン株式会社
検知器
13日前
ニッタン株式会社
発信機
2か月前
ニッタン株式会社
検知器
1か月前
株式会社国際電気
防災システム
1か月前
トヨタ自動車株式会社
車両
2か月前
続きを見る
他の特許を見る