TOP
|
特許
|
意匠
|
商標
特許ウォッチ
Twitter
他の特許を見る
10個以上の画像は省略されています。
公開番号
2025116361
公報種別
公開特許公報(A)
公開日
2025-08-08
出願番号
2024010736
出願日
2024-01-29
発明の名称
水垢の処理方法、着色剤、及び着色済み基材
出願人
株式会社LIXIL
代理人
弁理士法人グランダム特許事務所
主分類
B08B
3/08 20060101AFI20250801BHJP(清掃)
要約
【課題】水垢を目立たなくするための新たな技術を提供する。
【解決手段】水垢20の処理方法は、基材10に生じた水垢20に色素31を付着させ、色素31を付着させる前よりも、色素31を付着させた後において水垢20を目立たなくする。
【選択図】図4
特許請求の範囲
【請求項1】
基材に生じた水垢に色素を付着させ、
前記色素を付着させる前よりも、前記色素を付着させた後において前記水垢を目立たなくする、水垢の処理方法。
続きを表示(約 280 文字)
【請求項2】
前記基材は、水回り部材である、請求項1に記載の水垢の処理方法。
【請求項3】
請求項1及び請求項2のいずれかに記載の水垢の処理方法に用いられる着色剤であって、
前記色素と、シリカ系バインダー、ジルコニア系バインダー、アルミナ系バインダー、及びチタニア系バインダーからなる群から選択される1種以上のバインダーと、を含む、着色剤。
【請求項4】
基材と、
前記基材に生じた水垢に、色素が付着した水垢着色部と、を備え、
表面において測定した色差ΔEの最大値が、5.5以下である、着色済み基材。
発明の詳細な説明
【技術分野】
【0001】
本開示は、水垢の処理方法、着色剤、及び着色済み基材に関するものである。
続きを表示(約 1,600 文字)
【背景技術】
【0002】
特許文献1は、固形水垢除去剤を開示している。この固形水垢除去剤は、水と共に研磨するだけで基材に生じた水垢を除去することができる、と記載されている。
【先行技術文献】
【特許文献】
【0003】
特開2000-44987号公報
【発明の概要】
【発明が解決しようとする課題】
【0004】
特許文献1の技術は、研磨によって水垢を除去するから、意図せず基材の表面も削られることが懸念される。基材の表面が局所的に削られた部位は、例えば、テカリを生じる可能性がある。また、基材の表面に滑り止め等の凹凸が形成されている場合には、凹凸が削れる可能性がある。
【0005】
本開示は、上記従来の実情に鑑みてなされたものであって、上記の課題の少なくとも1つ以上を解決できる、水垢を目立たなくするための新たな技術を提供することを目的としている。
【課題を解決するための手段】
【0006】
本開示の水垢の処理方法は、基材に生じた水垢に色素を付着させ、前記色素を付着させる前よりも、前記色素を付着させた後において前記水垢を目立たなくする。
【図面の簡単な説明】
【0007】
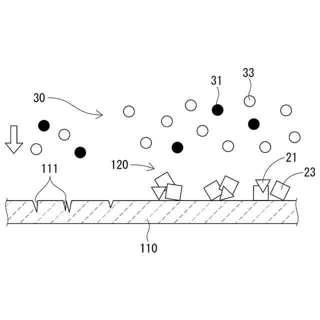
実施形態1に係る初期状態の基材を模式的に示す図である。
水垢が生じた基材を模式的に示す図である。
図2の水垢に色素を付着させる様子を模式的に示す図である。
着色済み基材を模式的に示す図である。
色差の測定方法を説明するための図である。
研磨後の状態を模式的に示す図である。
図6の水垢に色素を付着させる様子を模式的に示す図である。
着色済み基材を模式的に示す図である。
実験2における各タイルの写真である。
【発明を実施するための形態】
【0008】
最初に本開示の実施形態を列記して説明する。下記の複数の実施形態について矛盾を生じない範囲で任意に組み合わせたものも発明を実施するための形態に含まれる。
[1]本開示の水垢の処理方法は、基材に生じた水垢に色素を付着させ、前記色素を付着させる前よりも、前記色素を付着させた後において前記水垢を目立たなくする。
[2]上記[1]に記載に水垢の処理方法において、前記基材は、水回り部材である。
[3]本開示の着色剤は、上記[1]及び[2]のいずれか記載の水垢の処理方法に用いられる着色剤であって、前記色素と、シリカ系バインダー、ジルコニア系バインダー、アルミナ系バインダー、及びチタニア系バインダーからなる群から選択される1種以上のバインダーと、を含む。
[4]本開示の着色済み基材は、基材と、前記基材に生じた水垢に、色素が付着した水垢着色部と、を備え、表面において測定した色差ΔEの最大値が、5.5以下である。
【0009】
本開示の水垢の処理方法の実施形態1について、図面を参照しつつ説明する。尚、本明細書において、数値範囲について「以上」「以下」を用いた記載では、特に断りがない限り、下限値及び上限値を含むものとする。例えば、「10以上20以下」という記載では、下限値である「10」、上限値である「20」のいずれも含むものとする。また、本明細書において、各数値範囲の上限値及び下限値は、任意に組み合わせることができる。
【0010】
実施形態1の水垢20の処理方法は、図1から図4に示すように、基材10に生じた水垢20に色素31を付着させ、色素31を付着させる前よりも、色素31を付着させた後において水垢20を目立たなくする。
(【0011】以降は省略されています)
この特許をJ-PlatPat(特許庁公式サイト)で参照する
関連特許
株式会社LIXIL
カーテンウォール
17日前
株式会社LIXIL
カーテンウォール
17日前
株式会社LIXIL
カバー材及び改装建具
4日前
株式会社LIXIL
カバー材及び改装建具
4日前
株式会社LIXIL
カバー材及び改装建具
4日前
株式会社LIXIL
混合装置及び水回り装置
10日前
株式会社LIXIL
床モジュール、床構造体及び床構造体の施工方法
13日前
株式会社LIXIL
管理装置、管理方法、及びコンピュータプログラム
4日前
株式会社LIXIL
管理装置、管理方法、及びコンピュータプログラム
4日前
株式会社LIXIL
管理装置、管理方法、及びコンピュータプログラム
4日前
株式会社LIXIL
屋根構造体
19日前
株式会社LIXIL
制御装置、コンピュータプログラム、調整方法、及び、制御システム
10日前
株式会社LIXIL
吐水システム、浴室ユニット、コンピュータプログラム及び制御方法
18日前
大和ハウス工業株式会社
外壁の断熱改修構造および外壁の断熱改修方法
10日前
株式会社LIXIL
制御装置、混合装置ユニット、水回り装置、コンピュータプログラム、及び制御方法
10日前
株式会社LIXIL
制御装置、混合装置ユニット、水回り装置、コンピュータプログラム、及び制御方法
10日前
個人
ブラシ付きノズル
2か月前
個人
物体表面洗浄装置
1か月前
ノリタケ株式会社
洗浄装置
24日前
株式会社シロハチ
長尺物用の清掃用具
2か月前
三浦工業株式会社
洗浄システム
2か月前
株式会社未来造形
チェーン洗浄具
1か月前
GOLDEN通商株式会社
ごみバンカの清掃方法
10日前
有限会社アサヒライフ企画
2WAY水切りワイパー
4か月前
三浦工業株式会社
洗浄装置
3か月前
株式会社三幸社
衣服立体乾燥機の吊り下げ型掃除用具
11日前
大裕株式会社
敷鉄板表面の溶接残留物除去装置
2か月前
国立大学法人東海国立大学機構
微小重力環境用洗浄装置
10日前
トヨタ自動車株式会社
配管洗浄装置
3か月前
栗田工業株式会社
管内面の洗浄用プラグ及び洗浄方法
26日前
ノリタケ株式会社
スラリーアイス洗浄装置用の管状部品
24日前
株式会社PFA
異物除去装置、異物除去方法およびプログラム
4か月前
株式会社ブリヂストン
配管清掃方法
4か月前
工機ホールディングス株式会社
作業機
3か月前
株式会社エスエスティー
異形物体の洗浄方法
10日前
株式会社松井製作所
液体供給装置及び液体供給方法
4か月前
続きを見る
他の特許を見る