TOP
|
特許
|
意匠
|
商標
特許ウォッチ
Twitter
他の特許を見る
公開番号
2025167024
公報種別
公開特許公報(A)
公開日
2025-11-07
出願番号
2024071282
出願日
2024-04-25
発明の名称
湯水混合装置
出願人
株式会社LIXIL
代理人
弁理士法人グランダム特許事務所
主分類
F24H
9/00 20220101AFI20251030BHJP(加熱;レンジ;換気)
要約
【課題】給水圧と給湯圧との差圧が生じても温度安定性に優れた湯水混合装置を提供する。
【解決手段】湯水混合装置1は、湯水混合水の所定の流量と設定流量Q
S
との間において、流量を複数段階に分けて変化させ、段階ごとの湯水混合水の流量を目標流量に設定する第1制御と、段階ごとに、目標流量、設定温度T
S
、水の測定流量Q
C
、及び湯の測定流量Q
H
に基づき、水及び湯の目標流量を算出し、水側流量調節弁の弁開度が湯側流量調節弁の弁開度以上であるとき、水の測定流量Q
C
に基づいて湯の目標流量を算出更新し、水側の弁開度が湯側の弁開度よりも小さいとき、湯の測定流量Q
H
に基づいて水の目標流量を算出更新する第2制御と、水側流量調節弁の開閉弁速度を算出した水の目標流量と測定流量Q
C
との差に応じて変化させ、湯側流量調節弁4Hの開閉弁速度を算出した湯の目標流量と測定流量Q
H
との差に応じて変化させる第3制御と、を実行する。
【選択図】図2
特許請求の範囲
【請求項1】
混合水路と、
前記混合水路の上流端が接続されている混合部と、
下流端が前記混合部に接続され、前記混合部に向けて水を供給する給水路と、
下流端が前記混合部に接続され、前記混合部に向けて湯を供給する給湯路と、
前記給水路に設けられた水温センサ、水側流量計、及び水側流量調節弁と、
前記給湯路に設けられた湯温センサ、湯側流量計、及び湯側流量調節弁と、
前記混合水路を流れる湯水混合水の設定流量及び設定温度を設定する設定部と、
前記水側流量調節弁及び前記湯側流量調節弁を制御する制御部と、
を備えており、
前記制御部は、
湯水混合水の所定の流量と前記設定流量との間において、流量を複数段階に分けて変化させ、段階ごとに分けた際の湯水混合水の流量を湯水混合水の目標流量に設定する第1制御と、
前記段階ごとに、前記目標流量、前記設定温度、前記水側流量計によって測定された水の測定流量、及び前記湯側流量計によって測定された湯の測定流量に基づき、前記給水路を流れる水の目標流量及び前記給湯路を流れる湯の目標流量を算出し、
前記水側流量調節弁の弁開度が前記湯側流量調節弁の弁開度以上であるとき、前記水の測定流量に基づいて湯の目標流量を算出して更新し、前記水側流量調節弁の弁開度が前記湯側流量調節弁の弁開度よりも小さいとき、前記湯の測定流量に基づいて水の目標流量を算出して更新する第2制御と、
前記水側流量調節弁の開閉弁速度を算出した前記水の目標流量と前記水の測定流量との差に応じて変化させ、前記湯側流量調節弁の開閉弁速度を算出した前記湯の目標流量と前記湯の測定流量との差に応じて変化させる第3制御と、
を実行する湯水混合装置。
続きを表示(約 690 文字)
【請求項2】
前記第1制御において、流量を複数段階に分けて変化させ、段階ごとに分けた際の湯水混合水の流量を湯水混合水の目標流量に設定するとは、所定時間ごとに湯水混合水の目標流量を所定量ずつ増減させることである請求項1に記載の湯水混合装置。
【請求項3】
前記制御部は、
前記水側流量調節弁及び前記湯側流量調節弁を同時に開弁してから前記水側流量計及び前記湯側流量計の検出信号が入力されるまでの間、
前記水側流量調節弁の弁開度、及び前記湯側流量調節弁の弁開度を徐々に増大させる第4制御を実行する請求項1及び請求項2のいずれか一項に記載の湯水混合装置。
【請求項4】
前記制御部は、
前記水側流量計及び前記湯側流量計の検出信号が入力された後、前記湯水混合水の所定の流量になるまで、前記湯水混合水の所定の流量を前記湯水混合水の目標流量に設定して前記第2制御及び前記第3制御を実行する請求項3に記載の湯水混合装置。
【請求項5】
前記制御部は、
前記湯水混合水の所定の流量から前記水側流量調節弁及び前記湯側流量調節弁が閉弁するまでの間、
前記水側流量調節弁の弁開度と前記湯側流量調節弁の弁開度の大きい方の弁の閉弁速度V1によって閉弁までの時間Tを算出し、弁開度の小さい方の弁が時間Tをかけて閉弁するための閉弁速度V2を算出し、前記水側流量調節弁及び前記湯側流量調節弁を各閉弁速度V1,V2で同時に閉弁方向に動作させる第5制御を実行する請求項1及び請求項2のいずれか一項に記載の湯水混合装置。
発明の詳細な説明
【技術分野】
【0001】
本開示は湯水混合装置に関するものである。
続きを表示(約 3,200 文字)
【背景技術】
【0002】
特許文献1は従来の湯水混合装置を開示している。この湯水混合装置は、水温センサ、水側流量調節ユニット、湯温センサ、湯側流量調節ユニット、及び制御部を備えている。水温センサは、吐水部に向けて給水を行う給水路に設けられている。水側流量調節ユニットは、給水路の水流量を調節する。湯温センサは、吐水部に向けて給湯を行う給湯路に設けられている。湯側流量調節ユニットは、給湯路の湯流量を調節する。制御部は、湯側流量調節ユニット及び水側流量調節ユニットを動作させる。水側流量調節ユニット及び湯側流量調節ユニットの夫々は、ダイヤフラム弁機構を有する定流量弁を有している。この湯水混合装置は、一次側の流路の圧力が変動するような外乱が発生すると、流量が一定に保たれるように定流量弁が作動し、温度制御や流量制御を行う。
【先行技術文献】
【特許文献】
【0003】
特開2015-183986号公報
【発明の概要】
【発明が解決しようとする課題】
【0004】
特許文献1の湯水混合装置は、ダイヤフラム弁機構の第一圧力室中の圧力と第二圧力室中の圧力とによるダイヤフラム部にかかる力が釣り合うことによって流量を一定に保つものである。このため、この湯水混合装置は、流路が複雑であり、一次側の流路の圧力が変動した際の温度が安定するまでに時間がかかるおそれがある。この湯水混合装置は、給水圧と給湯圧との圧力との差、いわゆる差圧を考慮していない。
【0005】
本開示は、上記従来の実情に鑑みてなされたものであって、給水圧と給湯圧との差圧が生じても温度安定性に優れた湯水混合装置を提供することを解決すべき課題としている。
【課題を解決するための手段】
【0006】
本開示の湯水混合装置は、混合水路と、前記混合水路の上流端が接続されている混合部と、下流端が前記混合部に接続され、前記混合部に向けて水を供給する給水路と、下流端が前記混合部に接続され、前記混合部に向けて湯を供給する給湯路と、前記給水路に設けられた水温センサ、水側流量計、及び水側流量調節弁と、前記給湯路に設けられた湯温センサ、湯側流量計、及び湯側流量調節弁と、前記混合水路を流れる湯水混合水の設定流量及び設定温度を設定する設定部と、前記水側流量調節弁及び前記湯側流量調節弁を制御する制御部と、を備えており、前記制御部は、湯水混合水の所定の流量と前記設定流量との間において、流量を複数段階に分けて変化させ、段階ごとに分けた際の湯水混合水の流量を湯水混合水の目標流量に設定する第1制御と、前記段階ごとに、前記目標流量、前記設定温度、前記水側流量計によって測定された水の測定流量、及び前記湯側流量計によって測定された湯の測定流量に基づき、前記給水路を流れる水の目標流量及び前記給湯路を流れる湯の目標流量を算出し、前記水側流量調節弁の弁開度が前記湯側流量調節弁の弁開度以上であるとき、前記水の測定流量に基づいて湯の目標流量を算出して更新し、前記水側流量調節弁の弁開度が前記湯側流量調節弁の弁開度よりも小さいとき、前記湯の測定流量に基づいて水の目標流量を算出して更新する第2制御と、前記水側流量調節弁の開閉弁速度を算出した前記水の目標流量と前記水の測定流量との差に応じて変化させ、前記湯側流量調節弁の開閉弁速度を算出した前記湯の目標流量と前記湯の測定流量との差に応じて変化させる第3制御と、を実行する。
【図面の簡単な説明】
【0007】
実施形態1の湯水混合装置を示す模式図である。
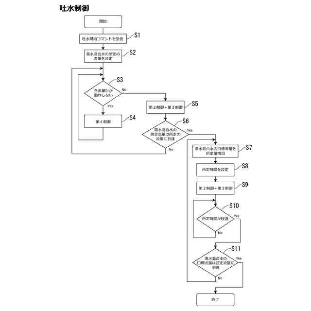
実施形態1の湯水混合装置の吐水制御を示すフローチャートである。
実施形態1の湯水混合装置の吐水時における各制御、及び各流量調節弁の弁開度、各測定流量、湯水混合水の測定温度を示す図である。
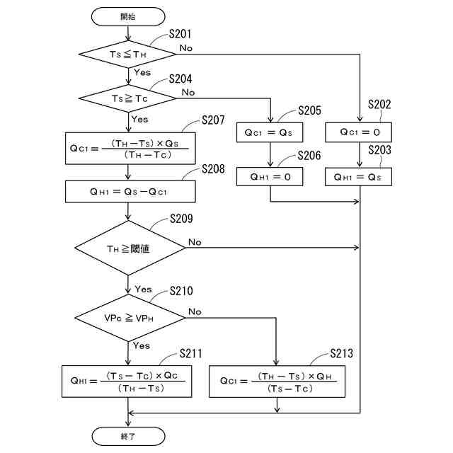
実施形態1の制御部における第2制御を示すフローチャートである。
実施形態1の湯水混合装置の止水制御を示すフローチャートである。
実施形態1の湯水混合装置の止水時における各制御、及び各流量調節弁の弁開度、各測定流量、湯水混合水の測定温度を示す図である。
実施形態1の制御部における第5制御を実行した際の湯側流量調節弁及び水側流量調節弁の閉弁速度を示すグラフである。
【発明を実施するための形態】
【0008】
最初に本開示の実施形態を列記して説明する。下記の複数の実施形態について矛盾を生じない範囲で任意に組み合わせたものも発明を実施するための形態に含まれる。
[1]本開示の湯水混合装置は、混合水路と、前記混合水路の上流端が接続されている混合部と、下流端が前記混合部に接続され、前記混合部に向けて水を供給する給水路と、下流端が前記混合部に接続され、前記混合部に向けて湯を供給する給湯路と、前記給水路に設けられた水温センサ、水側流量計、及び水側流量調節弁と、前記給湯路に設けられた湯温センサ、湯側流量計、及び湯側流量調節弁と、前記混合水路を流れる湯水混合水の設定流量及び設定温度を設定する設定部と、前記水側流量調節弁及び前記湯側流量調節弁を制御する制御部と、を備えており、前記制御部は、湯水混合水の所定の流量と前記設定流量との間において、流量を複数段階に分けて変化させ、段階ごとに分けた際の湯水混合水の流量を湯水混合水の目標流量に設定する第1制御と、前記段階ごとに、前記目標流量、前記設定温度、前記水側流量計によって測定された水の測定流量、及び前記湯側流量計によって測定された湯の測定流量に基づき、前記給水路を流れる水の目標流量及び前記給湯路を流れる湯の目標流量を算出し、前記水側流量調節弁の弁開度が前記湯側流量調節弁の弁開度以上であるとき、前記水の測定流量に基づいて湯の目標流量を算出して更新し、前記水側流量調節弁の弁開度が前記湯側流量調節弁の弁開度よりも小さいとき、前記湯の測定流量に基づいて水の目標流量を算出して更新する第2制御と、前記水側流量調節弁の開閉弁速度を算出した前記水の目標流量と前記水の測定流量との差に応じて変化させ、前記湯側流量調節弁の開閉弁速度を算出した前記湯の目標流量と前記湯の測定流量との差に応じて変化させる第3制御と、を実行する。この湯水混合装置は、第1制御、第2制御、及び第3制御を制御部が実行することによって、給水圧と給湯圧との差圧が生じた状態であっても温度安定性に優れている。
【0009】
[2]上記[1]に記載の湯水混合装置において、前記第1制御において、流量を複数段階に分けて変化させ、段階ごとに分けた際の湯水混合水の流量を湯水混合水の目標流量に設定するとは、所定時間ごとに湯水混合水の目標流量を所定量ずつ増減させることである。この湯水混合装置の制御部は、第1制御を容易に実行することができる。
【0010】
[3]上記[1]及び[2]のいずれかに記載の湯水混合装置において、前記制御部は、前記水側流量調節弁及び前記湯側流量調節弁を同時に開弁してから前記水側流量計及び前記湯側流量計の検出信号が入力されるまでの間、前記水側流量調節弁の弁開度、及び前記湯側流量調節弁の弁開度を徐々に増大させる第4制御を実行する。この湯水混合装置は、吐水制御時において、第4制御を実行することによって、吐水開始から水側流量計及び湯側流量計の検出信号が入力されるまでの間に、水の流量及び湯の流量を増加させる。このため、この湯水混合装置は、湯水混合水の吐水量を速やかに設定流量にすることができ、吐水時における応答性に優れている。
(【0011】以降は省略されています)
この特許をJ-PlatPat(特許庁公式サイト)で参照する
関連特許
株式会社LIXIL
トレーラー
3日前
株式会社LIXIL
湯水混合装置
1日前
株式会社LIXIL
カーテンウォール
22日前
株式会社LIXIL
カーテンウォール
22日前
株式会社LIXIL
カバー材及び改装建具
9日前
株式会社LIXIL
カバー材及び改装建具
9日前
株式会社LIXIL
カバー材及び改装建具
9日前
株式会社LIXIL
混合装置及び水回り装置
15日前
株式会社LIXIL
ソファベッド、及び、トレーラー
3日前
株式会社LIXIL
支援装置、支援プログラム、及び方法
25日前
株式会社LIXIL
床モジュール、床構造体及び床構造体の施工方法
18日前
株式会社LIXIL
管理装置、管理方法、及びコンピュータプログラム
9日前
株式会社LIXIL
管理装置、管理方法、及びコンピュータプログラム
9日前
株式会社LIXIL
管理装置、管理方法、及びコンピュータプログラム
9日前
株式会社LIXIL
液膜装置、液膜形成方法、制御装置、及び水回り装置
3日前
株式会社LIXIL
屋根構造体
24日前
株式会社LIXIL
吐水システム、浴室ユニット、コンピュータプログラム及び制御方法
23日前
株式会社LIXIL
制御装置、コンピュータプログラム、調整方法、及び、制御システム
15日前
大和ハウス工業株式会社
外壁の断熱改修構造および外壁の断熱改修方法
15日前
株式会社LIXIL
便器装置及び便器装置のカバー構造
1日前
株式会社LIXIL
制御装置、混合装置ユニット、水回り装置、コンピュータプログラム、及び制御方法
15日前
株式会社LIXIL
制御装置、混合装置ユニット、水回り装置、コンピュータプログラム、及び制御方法
15日前
株式会社LIXILトータルサービス
コンピュータープログラム、情報管理装置、端末装置、情報管理システム及び制御方法
29日前
個人
空気調和機
5か月前
個人
エアコン室内機
5か月前
個人
集熱器具
1日前
株式会社トヨトミ
五徳
15日前
個人
油ハネ防止カーテン
4日前
株式会社コロナ
空調装置
4か月前
株式会社コロナ
空調装置
1か月前
株式会社コロナ
空調装置
2か月前
株式会社コロナ
空調装置
1か月前
株式会社コロナ
空調装置
1か月前
株式会社コロナ
給湯装置
3か月前
株式会社コロナ
加湿装置
1か月前
株式会社コロナ
空調装置
15日前
続きを見る
他の特許を見る