TOP
|
特許
|
意匠
|
商標
特許ウォッチ
Twitter
他の特許を見る
10個以上の画像は省略されています。
公開番号
2025157500
公報種別
公開特許公報(A)
公開日
2025-10-15
出願番号
2025123300,2023181026
出願日
2025-07-23,2017-02-03
発明の名称
屋根構造体
出願人
株式会社LIXIL
代理人
個人
,
個人
,
個人
主分類
E04B
1/343 20060101AFI20251007BHJP(建築物)
要約
【課題】意匠性を向上できると共に施工性を向上できる屋根構造体及び屋根構造体の施工方法を提供すること。
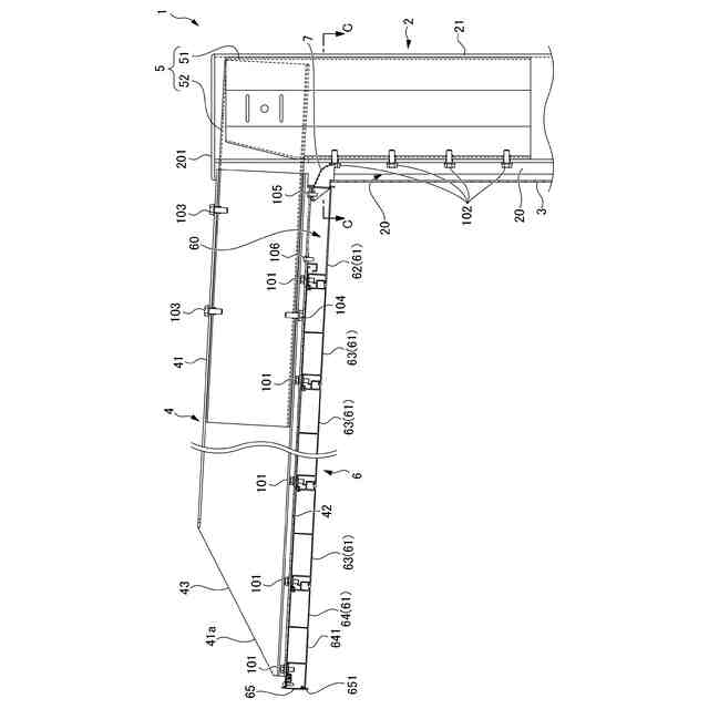
【解決手段】柱材2と、柱材2に接続される梁4と、梁4に接続される屋根体6であって、所定方向に並んで連設される複数の長尺材61を有し、下面6bが平面状に形成される屋根体6と、を備える。複数の長尺材61は、梁4が延びる方向に並んで配置されることが好ましい。複数の長尺材61は、それぞれ、梁4に直接固定されることが好ましい。
【選択図】図2
特許請求の範囲
【請求項1】
柱材と、
前記柱材に接続される梁と、
前記梁に接続される屋根体であって、所定方向に並んで連設される複数の長尺材を有し、下面が平面状に形成される屋根体と、を備え、
前記屋根体は、前記梁の下方において前記梁に吊られて配置され、
前記複数の長尺材は、前記梁が延びる方向に並んで前記梁に対して直交して配置されると共に、それぞれが、前記梁に直接固定され、
前記複数の長尺材は、それぞれ、前記梁から前記梁が延びる方向に直交する水平方向の一方にのみ延出する延出板部に固定されている屋根構造体。
発明の詳細な説明
【技術分野】
【0001】
本発明は、柱材と梁と屋根体とを備える屋根構造体及び屋根構造体の施工方法に関する。
続きを表示(約 1,600 文字)
【背景技術】
【0002】
従来、柱材と、柱材に接続される梁と、梁に接続される屋根体と、を備える片持ち支持構造のカーポート(屋根構造体)が知られている(例えば、特許文献1参照)。特許文献1に記載のカーポートの屋根体は、枠組みされたフレーム(枠体)と、フレームの内側に配置されたパネル材と、により構成されている。
また、柱材と、柱材に接続される梁と、梁に接続される屋根体と、屋根体の下方に配置され下面をフラットに形成した天井材と、を備えるカーポートが知られている(例えば、特許文献2参照)。特許文献2に記載の天井材は、屋根体の下面が見えないように、屋根体の下方に配置されている。
【先行技術文献】
【特許文献】
【0003】
特許第5185523号公報
特開2015-132081号公報
【発明の概要】
【発明が解決しようとする課題】
【0004】
特許文献1に記載のカーポートの屋根体は、フレームとパネル材とで構成しているため、フレームがパネル材よりも厚く構成されており、フレーム及びパネル材の凹凸が、外部から視認される状態である。そのため、意匠性を向上させることが望まれる。また、特許文献1に記載のカーポートにおいては、カーポートを施工する現場において、フレームにパネル材を取り付ける場合に、パネル材が大きく取り扱いにくい。そのため、屋根体の施工を向上させることが望まれる。
また、特許文献2に記載のカーポートにおいては、フレームにパネル材を取り付けた屋根体の下方において、下面をフラットに形成した天井材が配置されており、屋根体と天井材との二重の構造となっている。特許文献2に記載のカーポートにおいては、屋根部分が、屋根体と天井材との二重の構造となっているため、部品点数が増加し、構造が複雑になりがちである。そのため、製造コストが増大すると共に、屋根部分の施工に手間がかかりやすい。
従って、意匠性を向上できると共に施工性を向上できるカーポート(屋根構造体)が望まれる。
【0005】
本発明は、意匠性を向上できると共に施工性を向上できる屋根構造体及び屋根構造体の施工方法を提供することを目的とする。
【課題を解決するための手段】
【0006】
本発明は、柱材(例えば、後述の支柱2)と、前記柱材に接続される梁(例えば、後述の梁4)と、前記梁に接続される屋根体(例えば、後述の)であって、所定方向に並んで連設される複数の長尺材(例えば、後述の長尺形材61)を有し、下面(例えば、後述の下面6b)が平面状に形成される屋根体(例えば、後述の屋根体6)と、を備える屋根構造体(例えば、後述のカーポート1)に関する。
【0007】
また、前記複数の長尺材は、前記梁が延びる方向に並んで配置されることが好ましい。
【0008】
また、前記複数の長尺材は、それぞれ、前記梁に直接固定されることが好ましい。
【0009】
また、前記屋根体は、前記梁の下方において前記梁に吊られて配置されることが好ましい。
【0010】
また、前記複数の長尺材のうちの前記梁に取り付けられた第1長尺材(例えば、後述の樋構成形材62、中間形材)は、長手方向に直交する幅方向の一端部側に配置される第1係合部(例えば、後述の引っ掛け係合部628a,638a)を有し、前記複数の長尺材のうちの前記第1長尺材に隣接して前記梁に取り付けられる第2長尺材(例えば、後述の中間形材)は、長手方向に直交する幅方向の前記第1長尺材側の端部側に配置され前記第1係合部に係合可能であって前記第1係合部を中心に回転可能な第2係合部を有することが好ましい。
(【0011】以降は省略されています)
この特許をJ-PlatPat(特許庁公式サイト)で参照する
関連特許
株式会社LIXIL
建具
8日前
株式会社LIXIL
トイレ装置
8日前
株式会社LIXIL
カーテンウォール
1日前
株式会社LIXIL
カーテンウォール
1日前
株式会社LIXIL
建具及び建具の施工方法
8日前
株式会社LIXIL
シリンダ錠及び建物設備機器群
11日前
株式会社LIXIL
支援装置、支援プログラム、及び方法
4日前
株式会社LIXIL
物品収納提案装置、物品収納提案方法、端末装置
8日前
株式会社LIXIL
屋根構造体
3日前
株式会社LIXIL
吐水システム、浴室ユニット、コンピュータプログラム及び制御方法
2日前
株式会社LIXILトータルサービス
コンピュータープログラム、情報管理装置、端末装置、情報管理システム及び制御方法
8日前
個人
接合構造
12日前
個人
屋台
29日前
個人
タッチミー
11日前
個人
野良猫ハウス
1か月前
個人
転落防止用手摺
1か月前
個人
フェンス
2か月前
個人
地下型マンション
3か月前
個人
居住車両用駐車場
1か月前
個人
筋交自動設定装置
19日前
個人
ベンリナアングル
11日前
ニチハ株式会社
建築板
1か月前
積水樹脂株式会社
柵体
1か月前
個人
熱抵抗多層断熱建材
1か月前
個人
鋼管結合資材
3か月前
株式会社タナクロ
テント
3か月前
個人
壁断熱パネル
4か月前
個人
柵
2か月前
個人
補強部材
1か月前
個人
循環流水式屋根融雪装置
3か月前
成友建設株式会社
建物
1か月前
個人
身体用シェルター
19日前
個人
身体用シェルター
19日前
個人
防災建築物
1日前
鹿島建設株式会社
壁体
1か月前
三協立山株式会社
構造体
19日前
続きを見る
他の特許を見る