TOP
|
特許
|
意匠
|
商標
特許ウォッチ
Twitter
他の特許を見る
公開番号
2025161227
公報種別
公開特許公報(A)
公開日
2025-10-24
出願番号
2024064239
出願日
2024-04-11
発明の名称
混合装置及び水回り装置
出願人
株式会社LIXIL
代理人
弁理士法人 快友国際特許事務所
主分類
E03C
1/044 20060101AFI20251017BHJP(上水;下水)
要約
【課題】経路内の水の流れが他の経路の水の流れから受ける影響を低減し得る技術を提供する。
【解決手段】混合装置は、第1の水が流れる第1経路と、第2の水が流れる第2経路と、前記第1経路から前記第1の水が流入し、前記第2経路から前記第2の水が流入する混合室と、前記混合室よりも上流側において前記第1経路を流れる前記第1の水の流量を検出する第1検出部と、前記第2経路から前記混合室に向かう前記第2の水を前記第1経路から隔離する隔離構造と、を備えていてもよい。
【選択図】図3
特許請求の範囲
【請求項1】
第1の水が流れる第1経路と、
第2の水が流れる第2経路と、
前記第1経路から前記第1の水が流入し、前記第2経路から前記第2の水が流入する混合室と、
前記混合室よりも上流側において前記第1経路を流れる前記第1の水の流量を検出する第1検出部と、
前記第2経路から前記混合室に向かう前記第2の水を前記第1経路から隔離する隔離構造と、を備える、混合装置。
続きを表示(約 960 文字)
【請求項2】
前記隔離構造は、
前記第1経路と前記混合室との間であって、前記第2経路と前記混合室との間に配置されており、
前記第1経路に連通する内側経路を画定する第1画定部と、
前記第2経路に連通する外側経路を画定する第2画定部と、を備える、請求項1に記載の混合装置。
【請求項3】
前記第1画定部は、筒形状を有し、
前記第2画定部は、筒形状を有し、
前記第1画定部は、前記第1経路と前記外側経路との接続箇所と前記内側経路との間に配置される、請求項2に記載の混合装置。
【請求項4】
前記内側経路は、前記第1経路の延長線上に延びており、
前記第2経路は、前記第1経路に対して傾斜して延びており、
前記外側経路は、前記内側経路の外周において前記内側経路に沿って延びており、
前記第1画定部は、前記接続箇所において、前記第2経路の前記外側経路側の開口に対向して配置されている、請求項3に記載の混合装置。
【請求項5】
前記第2経路の前記外側経路側の前記開口から前記第1画定部を見た場合、前記第1画定部は、前記第2経路の延長上からずれて配置されている、請求項4に記載の混合装置。
【請求項6】
前記隔離構造は、前記外側経路の前記第2の水の流れを、前記内側経路の前記第1の水の流れ方向に対して傾斜させる案内部を備える、請求項2から5のいずれか一項に記載の混合装置。
【請求項7】
前記案内部は、前記外側経路の前記第2の水を、前記混合室に向けて前記第1画定部の周方向に沿った螺旋状に流す、請求項6に記載の混合装置。
【請求項8】
前記混合室よりも上流側において前記第2経路を流れる前記第2の水の流量を検出する第2検出部をさらに備える、請求項1から5のいずれか一項に記載の混合装置。
【請求項9】
前記第1の水の温度は、前記第2の水の温度よりも高い、請求項1から5のいずれか一項に記載の混合装置。
【請求項10】
請求項1から3のいずれか一項に記載の混合装置と、
前記混合室に連通する水栓金具と、を備える、水回り装置。
発明の詳細な説明
【技術分野】
【0001】
本明細書が開示する技術は、混合装置及び水回り装置に関する。
続きを表示(約 1,600 文字)
【背景技術】
【0002】
特許文献1には、湯と水とを混合させる混合栓が開示されている。混合栓は、湯流路を流れる湯と、水流路を流れる水と、を混合室において混合させる。湯流路には、湯の流量を検出する流量センサが配置されている。経路には、水の流量を検出する流量センサが配置されている。
【先行技術文献】
【特許文献】
【0003】
特開平3-198114号公報
【発明の概要】
【発明が解決しようとする課題】
【0004】
複数の経路を流れる水が混合室において混合される構成では、1個の経路からの水の流れが、混合室に連通する他の経路の水の流れに影響を及ぼす場合がある。経路には、水の流量を検出する検出部が配置されている。経路内の水の流れが変化すると、検出部が流量を正確に検出することができない場合がある。
【0005】
本明細書では、経路内の水の流れが他の経路の水の流れから受ける影響を低減し得る技術を提供する。
【課題を解決するための手段】
【0006】
本明細書で開示の技術は、混合装置に関する。混合装置は、第1の水が流れる第1経路と、第2の水が流れる第2経路と、前記第1経路から前記第1の水が流入し、前記第2経路から前記第2の水が流入する混合室と、前記混合室よりも上流側において前記第1経路を流れる前記第1の水の流量を検出する第1検出部と、前記第2経路から前記混合室に向かう前記第2の水を前記第1経路から隔離する隔離構造と、を備えていてもよい。
【0007】
本明細書で開示の他の技術は、水回り装置に関する。水回り装置は、上記した混合装置と、前記混合室に連通する水栓金具と、を備えていてもよい。
【図面の簡単な説明】
【0008】
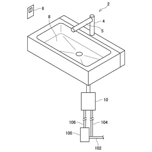
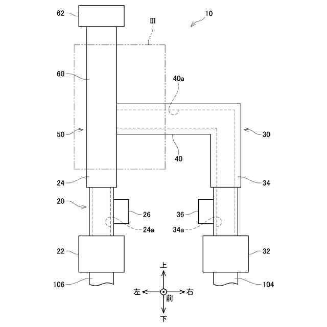
本実施形態の水回り装置の概要図を示す。
本実施形態の混合装置の概要正面図を示す。
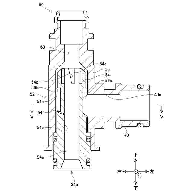
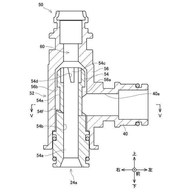
図2の領域IIIの縦断面図を示す。
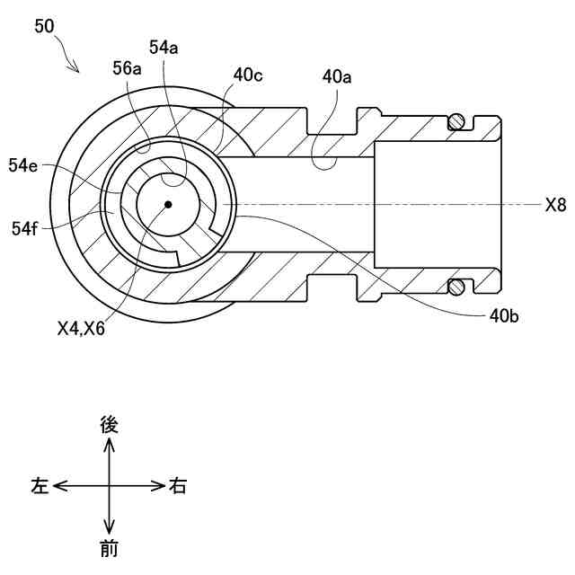
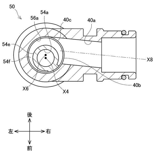
画定部の上端部の平面図を示す。
図3のV-V断面の断面図を示す。
第2実施形態の図3のV-V断面の断面図を示す。
第3実施形態の図3のV-V断面の断面図を示す。
【発明を実施するための形態】
【0009】
(水回り装置の構成)
図1に示すように、水回り装置2は、水栓金具4と、水栓金具4から吐出される水を受け入れて排経路に流すボウル8と、混合装置10と、を備える。図1では、水栓金具4及びボウル8を斜視図で示す。図1では、水栓金具4と混合装置10を含む上流側との接続関係を表しており、混合装置10を含む上流側はブロック図で示される。水栓金具4は、混合装置10から流れる水をボウル8に吐水する蛇口5と、蛇口5から吐水される水の温度をユーザが調整するための操作装置6と、を備える。操作装置6は、ユーザに操作される1個以上のボタンを有する。ユーザは、操作装置6を操作することによって、蛇口5から吐出される水の流量及び温度を設定することができる。操作装置6は、ユーザによって設定された流量及び温度を表す信号を混合装置10に送信する。水回り装置2は、洗面台、キッチンユニット、浴槽ユニット等に用いられる。
【0010】
(混合装置の構成)
混合装置10は、上水管に連通する配管102と水栓金具4との間に配置される。混合装置10は、配管104、106のそれぞれに接続される。配管104には、配管102から水が供給される。配管106には、配管102から給湯装置100を通過した水が供給される。給湯装置100は、配管102から供給される水を温める。配管106には、給湯装置100を通過した水が流れる。以下では、配管106を通過する水を、配管104を流れる水と区別するために「湯」と呼ぶ。
(【0011】以降は省略されています)
この特許をJ-PlatPat(特許庁公式サイト)で参照する
関連特許
他の特許を見る