TOP
|
特許
|
意匠
|
商標
特許ウォッチ
Twitter
他の特許を見る
10個以上の画像は省略されています。
公開番号
2025158894
公報種別
公開特許公報(A)
公開日
2025-10-17
出願番号
2024153309
出願日
2024-09-05
発明の名称
カーテンウォール
出願人
株式会社LIXIL
代理人
個人
,
個人
,
個人
主分類
E04B
2/96 20060101AFI20251009BHJP(建築物)
要約
【課題】簡易な構成で断熱性を高めることができるカーテンウォールを提供する。
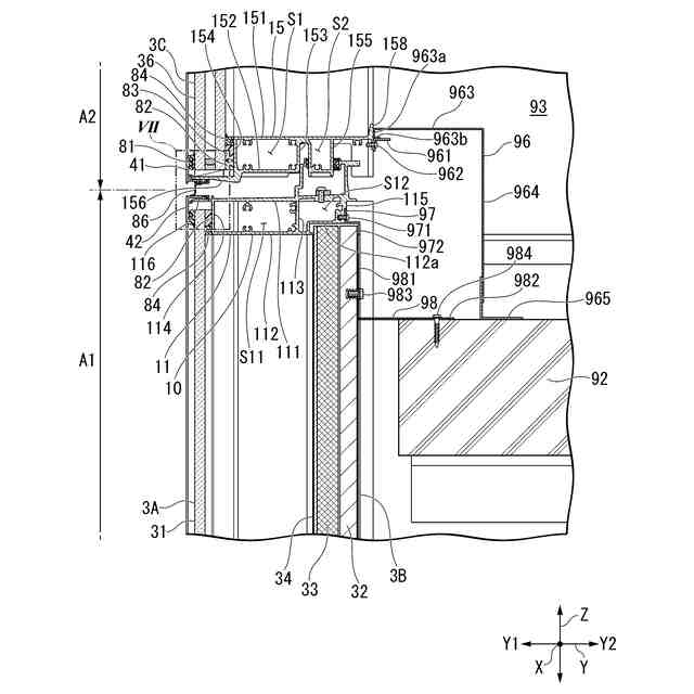
【解決手段】カーテンウォールは、枠側係止部157を有する設けられた枠材15と、枠側係止部157に係止される押縁側係止部414が設けられた押縁41と、枠材15及び押縁41で形成されたパネル溝18と、パネル溝18に、端部が配置されたパネル36と、枠側係止部157と押縁側係止部414との間に配置された断熱材51と、を備える。
【選択図】図7
特許請求の範囲
【請求項1】
枠側係止部を有する設けられた枠材と、
前記枠側係止部に係止される押縁側係止部が設けられた押縁と、
前記枠材及び前記押縁で形成されたパネル溝と、
前記パネル溝に、端部が配置されたパネルと、
前記枠側係止部と前記押縁側係止部との間に配置された断熱材と、を備えるカーテンウォール。
続きを表示(約 340 文字)
【請求項2】
前記断熱材は、前記押縁に固定されている請求項1に記載のカーテンウォール。
【請求項3】
前記枠側係止部及び前記押縁側係止部は、それぞれ2箇所に設けられている請求項2に記載のカーテンウォール。
【請求項4】
前記断熱材は、2箇所の前記押縁側係止部の間の領域にも固定されている請求項3に記載のカーテンウォール。
【請求項5】
前記断熱材における前記枠材に接触する部分は、前記断熱材における前記枠材に接触しない部分のすべり性よりも高いすべり性を有するすべり材を有する請求項1または2に記載のカーテンウォール。
【請求項6】
前記すべり材は、フッ素樹脂コーティングである請求項5に記載のカーテンウォール。
発明の詳細な説明
【技術分野】
【0001】
本開示は、カーテンウォールに関するものである。
続きを表示(約 1,300 文字)
【背景技術】
【0002】
従来から、建物の開口部に設置されるカーテンウォールが知られている。特許文献1に開示されたカーテンウォールでは、ガラス等の外壁パネルを支持する無目や方立等の枠材は、断熱性を高めるために、金属製の室内側部材と金属製の室外側部材との間に断熱材が嵌め込まれている。
【先行技術文献】
【特許文献】
【0003】
特開2004-353390号公報
【発明の概要】
【発明が解決しようとする課題】
【0004】
室内側部材と室外側部材との間に断熱材を嵌め込む枠材を製造することは、室内側部材及び室外側部材の加工が複雑になるという問題点がある。
【0005】
本開示は、上記事情に鑑みてなされたものであり、簡易な構成で断熱性を高めることができるカーテンウォールを提供する。
【課題を解決するための手段】
【0006】
本開示の一態様に係るカーテンウォールは、枠側係止部を有する設けられた枠材と、前記枠側係止部に係止される押縁側係止部が設けられた押縁と、前記枠材及び前記押縁で形成されたパネル溝と、前記パネル溝に、端部が配置されたパネルと、前記枠側係止部と前記押縁側係止部との間に配置された断熱材と、を備える。
【図面の簡単な説明】
【0007】
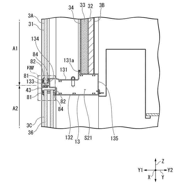
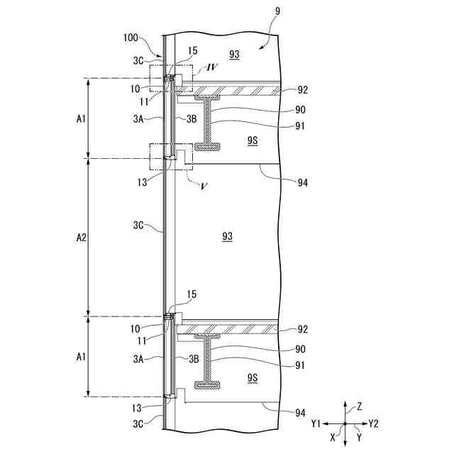
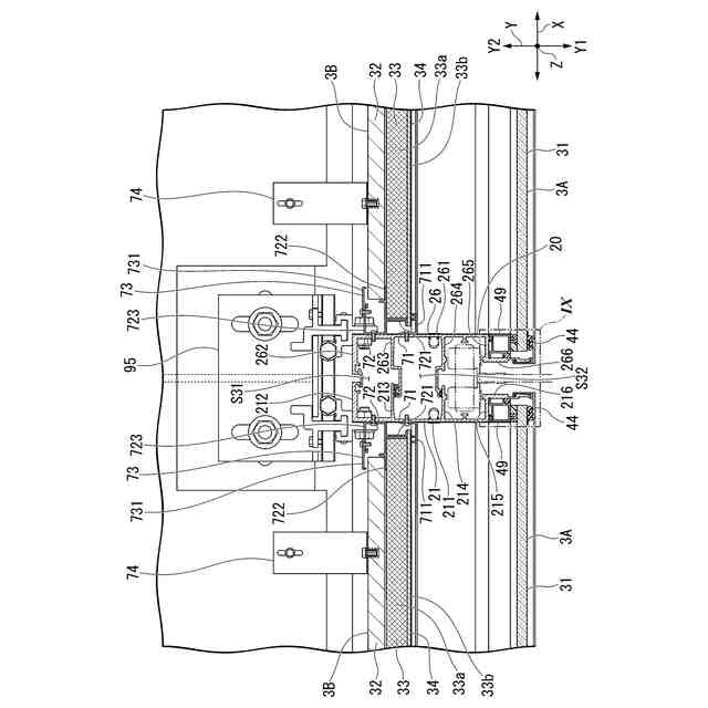
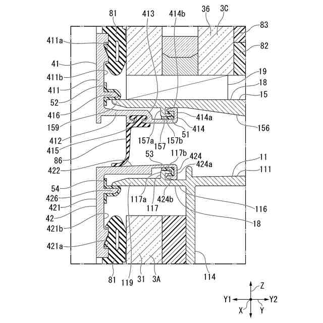
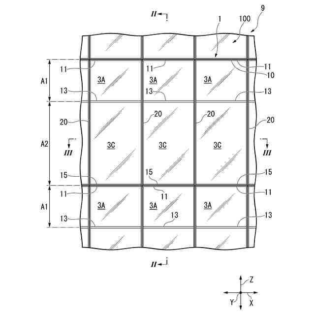
第1実施形態に係るカーテンウォールの正面図である。
図1のII-II線断面図である。
図1のIII-III線断面図である。
図2のIV部拡大図である。
図2のV部拡大図である。
図3のVI部拡大図である。
図4のVII部拡大図である。
図5のVIII部拡大図である。
図6のIX部拡大図である。
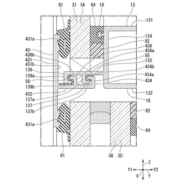
第2実施形態に係るカーテンウォールの図4のVII部拡大図である。
第2実施形態に係るカーテンウォールの図5のVIII部拡大図である。
第2実施形態に係るカーテンウォールの図6のIX部拡大図である。
第3実施形態に係るカーテンウォールの押縁を示す図である。
【発明を実施するための形態】
【0008】
(第1実施形態)
以下、第1実施形態に係るカーテンウォールについて、図面に基づいて説明する。以下の実施形態は、本開示の一態様を示すものであり、本開示を限定するものではなく、本開示の技術的思想の範囲内で任意に変更可能である。以下の図面においては、各構成を分かりやすくするために、実際の構造と各構造における縮尺等を異ならせている。
【0009】
以下の説明では、屋外側と屋内側とを結び水平方向に沿う方向を、屋内外方向Yと称する。屋内外方向Yと直交し水平方向に沿う方向を、左右方向Xと称する。屋内外方向Y及び左右方向Xと直交する方向を、上下方向Zと称する。屋内外方向Yのうち、居室側を屋内側Y2と称し、居室と反対側を屋外側Y1と称する。
【0010】
図1に示すように、ビルなどの建築物9は、図2に示す構造体90と、カーテンウォール100と、を備えている。
(【0011】以降は省略されています)
この特許をJ-PlatPat(特許庁公式サイト)で参照する
関連特許
株式会社LIXIL
建具
1か月前
株式会社LIXIL
建具
1か月前
株式会社LIXIL
トイレ装置
1か月前
株式会社LIXIL
シリンダ錠
1か月前
株式会社LIXIL
トレーラー
24日前
株式会社LIXIL
シャワー装置
9日前
株式会社LIXIL
湯水混合装置
22日前
株式会社LIXIL
カーテンウォール
1か月前
株式会社LIXIL
洗浄水タンク装置
1か月前
株式会社LIXIL
二重窓の改装方法
15日前
株式会社LIXIL
カーテンウォール
1か月前
株式会社LIXIL
可燃性ガス回収装置
1か月前
株式会社LIXIL
カバー材及び改装建具
1か月前
株式会社LIXIL
カバー材及び改装建具
1か月前
株式会社LIXIL
ドア開閉装置及びドア
9日前
株式会社LIXIL
カバー材及び改装建具
1か月前
株式会社LIXIL
建具及び建具の施工方法
1か月前
株式会社LIXIL
混合装置及び水回り装置
1か月前
株式会社LIXIL
建具および建具の改装方法
1か月前
株式会社LIXIL
建具および建具の改装方法
1か月前
株式会社LIXIL
建具および建具の改装方法
1か月前
株式会社LIXIL
トイレ装置及びトイレシステム
1か月前
株式会社LIXIL
シリンダ錠及び建物設備機器群
1か月前
株式会社LIXIL
ソファベッド、及び、トレーラー
24日前
株式会社LIXIL
ポンプ、及び電気温水器システム
1日前
株式会社LIXIL
支援装置、支援プログラム、及び方法
1か月前
株式会社LIXIL
トイレ装置、トイレシステム及び排卵推測装置
1か月前
株式会社LIXIL
太陽光発電給電シート、建物およびペリカバー
1か月前
株式会社LIXIL
物品収納提案装置、物品収納提案方法、端末装置
1か月前
株式会社LIXIL
床モジュール、床構造体及び床構造体の施工方法
1か月前
株式会社LIXIL
管理装置、管理方法、及びコンピュータプログラム
1か月前
株式会社LIXIL
管理装置、管理方法、及びコンピュータプログラム
1か月前
株式会社LIXIL
管理装置、管理方法、及びコンピュータプログラム
1か月前
株式会社LIXIL
建具
1日前
株式会社LIXIL
液膜装置、液膜形成方法、制御装置、及び水回り装置
24日前
株式会社LIXIL
開き窓
9日前
続きを見る
他の特許を見る