TOP
|
特許
|
意匠
|
商標
特許ウォッチ
Twitter
他の特許を見る
公開番号
2025155373
公報種別
公開特許公報(A)
公開日
2025-10-14
出願番号
2024059178
出願日
2024-04-01
発明の名称
支援装置、支援プログラム、及び方法
出願人
株式会社LIXIL
代理人
個人
主分類
G06T
7/70 20170101AFI20251006BHJP(計算;計数)
要約
【課題】建築物に設置された配管を改修する際の作業を支援する技術を提供する。
【解決手段】支援装置10は、建築物の内部の第1空間の間取りを示す間取り図面及び建築物において配管を有し且つ第1空間とは異なる階に位置する第2空間の間取り及び配管を示す配管図面を記憶装置から読み出して取得する図面取得部26と、間取り図面に記載された構築物と配管図面に記載された構築物とのうち共通する構築物を特定する特定部27と、間取り図面及び配管図面における前記共通する構築物の位置を一致させるように間取り図面及び配管図面を位置合わせすることにより、間取り図面が示す間取りに配管図面が示す配管が反映された合成図面を生成する合成部29と、合成図面を表示装置に表示する表示制御部24と、を含む。
【選択図】図1
特許請求の範囲
【請求項1】
建築物の内部の第1空間の間取りを示す間取り図面及び前記建築物において配管が配置され且つ前記第1空間とは異なる階に位置する第2空間の間取り及び配管を示す配管図面を記憶装置から読み出して取得する図面取得部と、
前記間取り図面に記載された構築物と前記配管図面に記載された構築物とのうち共通する構築物を特定する特定部と、
前記間取り図面及び前記配管図面における前記共通する構築物の位置を一致させるように前記間取り図面及び前記配管図面を位置合わせすることにより、前記間取り図面が示す間取りに前記配管図面が示す前記配管が反映された合成図面を生成する合成部と、
前記合成図面を表示装置に表示する表示制御部と、
を含む、
支援装置。
続きを表示(約 1,300 文字)
【請求項2】
撮像装置が撮像した前記第1空間の画像及び前記第2空間の画像を取得する画像取得部と、
前記第1空間の画像に基づいて前記間取り図面を作成して前記記憶装置に記憶する間取り図面作成部と、
前記第2空間の画像に基づいて前記配管図面を作成して前記記憶装置に記憶する配管図面作成部と、
をさらに含む、
請求項1に記載の支援装置。
【請求項3】
前記共通する構築物は、前記建築物の外周を構成する外周壁と前記建築物の柱の少なくとも1つである、
請求項1に記載の支援装置。
【請求項4】
前記間取り図面及び前記配管図面の各々について前記共通する構築物の中心位置を特定し、前記中心位置に基づいて前記間取り図面及び前記配管図面の各々について前記位置合わせの基準となる基準点を生成する基準生成部をさらに含み、
前記合成部は、前記間取り図面及び前記配管図面の各々についての前記基準点を一致させるように前記間取り図面及び前記配管図面を位置合わせする、
請求項2に記載の支援装置。
【請求項5】
前記配管図面作成部は、前記第2空間の画像における前記配管の材質、色、及び構造の少なくとも1つに基づいて前記配管の種類を特定し、各配管についてその特定した種類を示すように前記配管図面を作成する、
請求項2に記載の支援装置。
【請求項6】
前記配管図面作成部は、前記第2空間の画像に基づいて前記配管の寸法を特定し、各配管についてその特定した寸法を示すように前記配管図面を作成する、
請求項2に記載の支援装置。
【請求項7】
コンピュータに、
建築物の内部の第1空間の間取りを示す間取り図面及び前記建築物において配管が配置され且つ前記第1空間とは異なる階に位置する第2空間の間取り及び配管を示す配管図面を記憶装置から読み出して取得することと、
前記間取り図面に記載された構築物と前記配管図面に記載された構築物とのうち共通する構築物を特定することと、
前記間取り図面及び前記配管図面における前記共通する構築物の位置を一致させるように前記間取り図面及び前記配管図面を位置合わせすることにより、前記間取り図面が示す間取りに前記配管図面が示す前記配管が反映された合成図面を生成することと、
前記合成図面を表示装置に表示することと、
を実行させる支援プログラム。
【請求項8】
建築物の内部の第1空間の間取りを示す間取り図面及び前記建築物において配管が配置され且つ前記第1空間とは異なる階に位置する第2空間の間取り及び配管を示す配管図面を記憶装置から読み出して取得することと、
前記間取り図面に記載された構築物と前記配管図面に記載された構築物とのうち共通する構築物を特定することと、
前記間取り図面及び前記配管図面における前記共通する構築物の位置を一致させるように前記間取り図面及び前記配管図面を位置合わせすることにより、前記間取り図面が示す間取りに前記配管図面が示す前記配管が反映された合成図面を生成することと、
前記合成図面を表示装置に表示することと、
を含む、方法。
発明の詳細な説明
【技術分野】
【0001】
本開示は、建築物に設置された配管を改修する際の作業を支援する技術に関する。
続きを表示(約 1,900 文字)
【背景技術】
【0002】
建築物における配管の改修工事等を支援するための様々な技術が提案されている。例えば、特許文献1には、施工現場における三次元画像データ、計測データ及びルートトンネル情報から、新たに配置される追加配管等の配置位置を割り出す技術が開示されている。
【先行技術文献】
【非特許文献】
【0003】
特開2015-90525号公報
特開2019-145072号公報
【発明の概要】
【発明が解決しようとする課題】
【0004】
マンションやオフィス等の建築物に設けられた配管の改修工事等の設計では、例えば地下の配管の位置と地上階の間取りとの位置関係を把握することが重要である。そのため、配管と配管が配置された空間とは別の階にある他の空間の間取りとの位置関係を適切に可視化することが求められる。
【0005】
上記を鑑み、本開示は、配管と間取りとの位置関係を適切に可視化することにより、建築物に設置された配管を改修する際の作業を支援する技術を提供することを目的とする。
【課題を解決するための手段】
【0006】
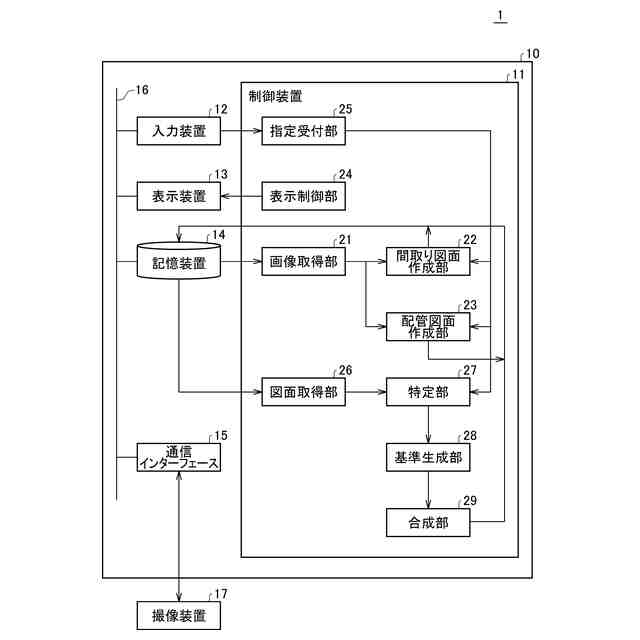
上記課題を解決するために、本開示のある態様の支援装置は、建築物の内部の第1空間の間取りを示す間取り図面及び前記建築物において配管が配置され且つ前記第1空間とは異なる階に位置する第2空間の間取り及び配管を示す配管図面を記憶装置から読み出して取得する図面取得部と、前記間取り図面に記載された構築物と前記配管図面に記載された構築物とのうち共通する構築物を特定する特定部と、前記間取り図面及び前記配管図面における前記共通する構築物の位置を一致させるように前記間取り図面及び前記配管図面を位置合わせすることにより、前記間取り図面が示す間取りに前記配管図面が示す前記配管が反映された合成図面を生成する合成部と、前記合成図面を表示装置に表示する表示制御部と、を含む。
【0007】
本開示の他の態様の支援プログラムは、コンピュータに、建築物の内部の第1空間の間取りを示す間取り図面及び前記建築物において配管が配置され且つ前記第1空間とは異なる階に位置する第2空間の間取り及び配管を示す配管図面を記憶装置から読み出して取得することと、前記間取り図面に記載された構築物と前記配管図面に記載された構築物とのうち共通する構築物を特定することと、前記間取り図面及び前記配管図面における前記共通する構築物の位置を一致させるように前記間取り図面及び前記配管図面を位置合わせすることにより、前記間取り図面が示す間取りに前記配管図面が示す前記配管が反映された合成図面を生成することと、前記合成図面を表示装置に表示することと、を実行させる。
【0008】
本開示のさらに他の態様の方法は、建築物の内部の第1空間の間取りを示す間取り図面及び前記建築物において配管が配置され且つ前記第1空間とは異なる階に位置する第2空間の間取り及び配管を示す配管図面を記憶装置から読み出して取得することと、前記間取り図面に記載された構築物と前記配管図面に記載された構築物とのうち共通する構築物を特定することと、前記間取り図面及び前記配管図面における前記共通する構築物の位置を一致させるように前記間取り図面及び前記配管図面を位置合わせすることにより、前記間取り図面が示す間取りに前記配管図面が示す前記配管が反映された合成図面を生成することと、前記合成図面を表示装置に表示することと、を含む。
【図面の簡単な説明】
【0009】
実施形態の支援システムの構成を示す図である。
建築物の配置空間の例を示す図である。
表示装置に表示された画面の例を示す図である。
配管図面の例を示す図である。
間取り図面の例を示す図である。
合成図面の例を示す図である。
合成図面の他の例を示す図である。
配管空間及び居住空間における外周壁の断面図である。
【発明を実施するための形態】
【0010】
以下、好適な実施形態について図面を参照しながら説明する。各図面に示される同一または同等の構成要素、部材、処理には、同一の符号を付するものとし、適宜重複した説明は省略する。実施形態は、例示であって、実施形態に記述されるすべての特徴やその組み合わせは、必ずしも本開示の本質的なものであるとは限らない。
(【0011】以降は省略されています)
この特許をJ-PlatPat(特許庁公式サイト)で参照する
関連特許
株式会社LIXIL
カバー材及び改装建具
5日前
株式会社LIXIL
カバー材及び改装建具
5日前
株式会社LIXIL
カバー材及び改装建具
5日前
株式会社LIXIL
混合装置及び水回り装置
11日前
株式会社LIXIL
床モジュール、床構造体及び床構造体の施工方法
14日前
株式会社LIXIL
管理装置、管理方法、及びコンピュータプログラム
5日前
株式会社LIXIL
管理装置、管理方法、及びコンピュータプログラム
5日前
株式会社LIXIL
管理装置、管理方法、及びコンピュータプログラム
5日前
株式会社LIXIL
制御装置、コンピュータプログラム、調整方法、及び、制御システム
11日前
大和ハウス工業株式会社
外壁の断熱改修構造および外壁の断熱改修方法
11日前
株式会社LIXIL
制御装置、混合装置ユニット、水回り装置、コンピュータプログラム、及び制御方法
11日前
株式会社LIXIL
制御装置、混合装置ユニット、水回り装置、コンピュータプログラム、及び制御方法
11日前
個人
詐欺保険
21日前
個人
縁伊達ポイン
21日前
個人
RFタグシート
8日前
個人
QRコードの彩色
25日前
個人
地球保全システム
1か月前
個人
ペルソナ認証方式
5日前
個人
情報処理装置
今日
個人
自動調理装置
7日前
個人
冷凍食品輸出支援構造
2か月前
個人
為替ポイント伊達夢貯
2か月前
個人
農作物用途分配システム
20日前
個人
残土処理システム
27日前
個人
表変換編集支援システム
1か月前
個人
タッチパネル操作指代替具
14日前
個人
知的財産出願支援システム
28日前
個人
知財出願支援AIシステム
2か月前
個人
インターネットの利用構造
4日前
個人
スケジュール調整プログラム
13日前
個人
行動時間管理システム
1か月前
個人
パスワード管理支援システム
1か月前
個人
携帯端末障害問合せシステム
13日前
個人
システム及びプログラム
1か月前
個人
食品レシピ生成システム
1か月前
個人
海外支援型農作物活用システム
1か月前
続きを見る
他の特許を見る