TOP
|
特許
|
意匠
|
商標
特許ウォッチ
Twitter
他の特許を見る
10個以上の画像は省略されています。
公開番号
2025159565
公報種別
公開特許公報(A)
公開日
2025-10-21
出願番号
2024062237
出願日
2024-04-08
発明の名称
床モジュール、床構造体及び床構造体の施工方法
出願人
株式会社LIXIL
代理人
個人
,
個人
,
個人
主分類
E04F
15/02 20060101AFI20251014BHJP(建築物)
要約
【課題】本開示は、容易に設置できるとともに、設置後に面積拡張や変更が容易にできる、床モジュール、床構造体及び床構造体の施工方法を提供すること。
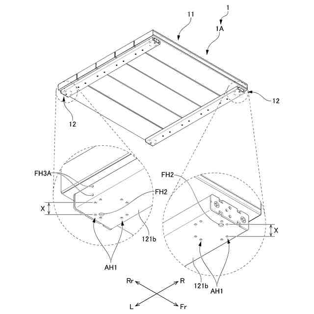
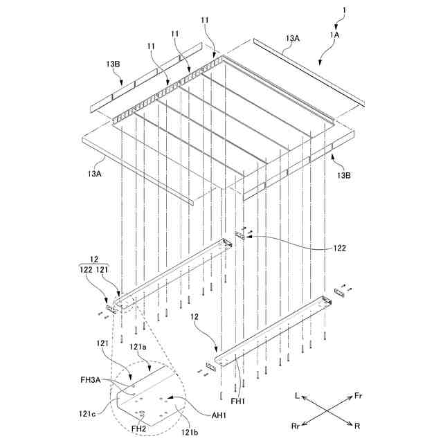
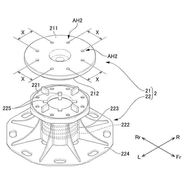
【解決手段】床モジュール1は、複数連結されることで床構造体10を構成する平面視略矩形状の床モジュール1であって、所定方向に並んで配置された複数の床板部材11と、複数の床板部材11の延びる方向の一端と他端の下面に所定方向に延びるように設けられ、複数の床板部材11を連結する一対のフレーム部材12と、を有し、フレーム部材12の延びる方向の一端と他端の下面には、床モジュール1を支持する支柱部材2を取付けるための取付孔AH1が形成される。
【選択図】図9
特許請求の範囲
【請求項1】
複数連結されることで床構造体を構成する平面視略矩形状の床モジュールであって、
所定方向に並んで配置された複数の床板部材と、
前記複数の床板部材の延びる方向の一端と他端の下面に前記所定方向に延びるように設けられ、前記複数の床板部材を連結する一対のフレーム部材と、を有し、
前記フレーム部材の延びる方向の一端と他端の下面には、前記床モジュールを支持する支柱部材を取付けるための取付孔が形成される、床モジュール。
続きを表示(約 800 文字)
【請求項2】
前記取付孔は、前記床モジュールに対する前記支柱部材の取付位置を変更可能とする複数の取付孔により構成される、請求項1に記載の床モジュール。
【請求項3】
前記取付孔は、前記床モジュールの四辺にそれぞれ平行な方向に一対ずつ並んで形成される、請求項2に記載の床モジュール。
【請求項4】
請求項1又は2に記載の床モジュールが複数連結されて構成される、床構造体。
【請求項5】
互いに隣接して配置される前記床モジュールを連結する連結部材を備える、請求項4に記載の床構造体。
【請求項6】
前記連結部材は、互いに隣接して配置される前記床モジュールの前記フレーム部材に取付けられる、請求項5に記載の床構造体。
【請求項7】
前記連結部材は、互いに隣接して配置される前記床モジュールの一方に取付けられる第1連結金具と、前記床モジュールの他方に取付けられる第2連結金具と、を備える連結金具であり、
前記第1連結金具及び前記第2連結金具は、互いに隣接して配置される前記床モジュール同士の隙間を介して、前記床モジュールの上方から共締め可能に構成される、請求項5に記載の床構造体。
【請求項8】
前記第1連結金具は、締結部材が締結される締結孔を有し、
前記第2連結金具は、前記締結孔に締結された締結部材に係合する切欠き部を有し、
前記第1連結金具及び前記第2連結金具は、前記締結部材により共締めされる、請求項7に記載の床構造体。
【請求項9】
前記連結部材は、マグネットである、請求項5に記載の床構造体。
【請求項10】
前記取付孔に取付けられる前記支柱部材をさらに備える、請求項5に記載の床構造体。
(【請求項11】以降は省略されています)
発明の詳細な説明
【技術分野】
【0001】
本発明は、床モジュール、床構造体及び床構造体の施工方法に関する。
続きを表示(約 2,400 文字)
【背景技術】
【0002】
従来、庭、屋上やベランダ等の建物の室外に配置され、床のように使用される床構造体が知られている。このような構造体は、例えば床部及び柱部で構成され、柱部は床部を支持する基礎である(特許文献1参照)。柱部は、束石と、その上に設置された束柱によって構成される。また床部は、床板及び、その下部に設けられた大引によって構成され、大引が束柱の上端に固定されて、床構造体が構成される。
【先行技術文献】
【特許文献】
【0003】
特開2022-12551号公報
【発明の概要】
【発明が解決しようとする課題】
【0004】
ところで、特許文献1に記載された床構造体は、必要な部品点数が多く、また施工のための工程も多いため、工期が長くかかるという問題があった。さらに、複雑な工程を理解する熟練工が現場に必要であり、簡単に床構造体を設置できないという問題もあり、そのため、ライフステージやライフスタイルの変化により、設置時の床構造体の状態から面積拡張や変更を行う場合には、大掛りな専門工事が必要となり、容易には対応ができない問題があった。
【0005】
本開示は、容易に設置できるとともに、設置後に面積拡張や変更が容易にできる、床モジュール、床構造体及び床構造体の施工方法を提供することを目的とする。
【課題を解決するための手段】
【0006】
本開示は、複数連結されることで床構造体を構成する平面視略矩形状の床モジュールであって、所定方向に並んで配置された複数の床板部材と、複数の床板部材の延びる方向の一端と他端の下面に所定方向に延びるように設けられ、複数の床板部材を連結する一対のフレーム部材と、を有し、フレーム部材の延びる方向の一端と他端の下面には、床モジュールを支持する支柱部材を取付けるための取付孔が形成される、床モジュール、床構造体及び床構造体の施工方法に関する。
【図面の簡単な説明】
【0007】
本開示に係るデッキを示す斜視図である。
本開示に係る床モジュール1を上方から見た分解斜視図である。
本開示に係る床モジュール1を下方から見た分解斜視図である。
図1のIV-IV線拡大断面図である。
本開示に係るアジャスタを示す斜視図である。
本開示に係るアジャスタの分解斜視図である。
本開示に係るアジャスタのヘッド部材を下方から見た斜視図である。
本開示に係るアジャスタの高さ調整機能及び傾き調整機能を示す模式図である。
本開示に係る床モジュールを下方から見た様子を示す斜視図である。
本開示に係るフレームの第1固定孔を示す底面図である。
本開示に係る床モジュールにアジャスタを取付けた様子を示す平面図である。
本開示に係るデッキにアジャスタを取付けた様子を示す平面図である。
本開示に係るデッキの変形例である。
本開示に係るデッキの変形例である。
本開示に係るデッキの変形例である。
本開示に係るデッキの変形例である。
本開示に係る幕板を上方から見た様子を示す斜視図である。
本開示に係る幕板を下方から見た様子を示す斜視図である。
本開示に係るフェンスを上方から見た様子を示す斜視図である。
本開示に係るフェンスを下方から見た様子を示す斜視図である。
図20のXXI-XXI線拡大断面図である。
本開示に係るベンチを上方から見た様子を示す斜視図である。
本開示に係るベンチを下方から見た様子を示す斜視図である。
本開示に係るボックスを示す斜視図である。
本開示に係るアクセサリを取付けたデッキを示す斜視図である。
本開示に係るアジャスタの取付け方法を示す斜視図である。
本開示に係る床モジュールの連結方法を示す斜視図である。
本開示に係る連結金具を示す斜視図である。
本開示に係る連結金具が係合する様子を示す斜視図である。
本開示に係る床モジュールの連結方法を示す斜視図である。
本開示に係る床モジュールに連結金具を取付けた様子を示す平面図である。
本開示に係る床モジュールの変形例である。
【発明を実施するための形態】
【0008】
以下、本開示の実施形態について、図面を参照しながら詳細に説明する。
【0009】
本開示の図面においては、互いに直交し合う所定の4方向を「Fr方向」「Rr方向」「R方向」「L方向」で表す。「Fr方向」は正面方向を、「Rr方向」はデッキ10の背面方向を、「R方向」はデッキ10を正面から見た場合の右方向を、「L方向」はデッキ10を正面から見た場合の左方向を、それぞれ示す。
【0010】
図1に示すように、デッキ10は、4つの床モジュール1と、アジャスタ2と、図示しない連結金具7と、を有する。アジャスタ2は、床モジュール1を支持するように床モジュール1の下面部に設けられる。連結金具7は、床モジュール1を連結させる連結部材であり、デッキ10の外観上には現れない。デッキ10は、床モジュール1の組み合わせを自由に変更することができ、種々の形状の敷地や不陸な敷地でも設置が可能である。例えば、マンションのバルコニー等のタイル床面に設置することもできるし、屋外における土や芝生の上に設置することもできる。また、屋内空間に設置することもでき、例えばOAフロアとして用いることもできる。
(【0011】以降は省略されています)
この特許をJ-PlatPat(特許庁公式サイト)で参照する
関連特許
株式会社LIXIL
建具
14日前
株式会社LIXIL
シリンダ錠
17日前
株式会社LIXIL
トイレ装置
14日前
株式会社LIXIL
カーテンウォール
7日前
株式会社LIXIL
カーテンウォール
7日前
株式会社LIXIL
混合装置及び水回り装置
今日
株式会社LIXIL
建具及び建具の施工方法
14日前
株式会社LIXIL
シリンダ錠及び建物設備機器群
17日前
株式会社LIXIL
支援装置、支援プログラム、及び方法
10日前
株式会社LIXIL
物品収納提案装置、物品収納提案方法、端末装置
14日前
株式会社LIXIL
床モジュール、床構造体及び床構造体の施工方法
3日前
株式会社LIXIL
屋根構造体
9日前
株式会社LIXIL
表示制御装置、表示制御システム、プログラム及び表示制御方法
17日前
株式会社LIXIL
吐水システム、浴室ユニット、コンピュータプログラム及び制御方法
8日前
株式会社LIXIL
制御装置、コンピュータプログラム、調整方法、及び、制御システム
今日
大和ハウス工業株式会社
外壁の断熱改修構造および外壁の断熱改修方法
今日
株式会社LIXIL
制御装置、混合装置ユニット、水回り装置、コンピュータプログラム、及び制御方法
今日
株式会社LIXIL
制御装置、混合装置ユニット、水回り装置、コンピュータプログラム、及び制御方法
今日
株式会社LIXILトータルサービス
コンピュータープログラム、情報管理装置、端末装置、情報管理システム及び制御方法
14日前
個人
接合構造
18日前
個人
屋台
1か月前
個人
タッチミー
17日前
個人
野良猫ハウス
1か月前
個人
フェンス
2か月前
個人
転落防止用手摺
1か月前
個人
安心補助てすり
1日前
個人
居住車両用駐車場
1か月前
個人
地下型マンション
3か月前
ニチハ株式会社
建築板
1か月前
個人
ベンリナアングル
17日前
個人
筋交自動設定装置
25日前
積水樹脂株式会社
柵体
1か月前
個人
壁断熱パネル
4か月前
個人
熱抵抗多層断熱建材
1か月前
株式会社タナクロ
テント
3か月前
個人
鋼管結合資材
3か月前
続きを見る
他の特許を見る