TOP
|
特許
|
意匠
|
商標
特許ウォッチ
Twitter
他の特許を見る
10個以上の画像は省略されています。
公開番号
2025153962
公報種別
公開特許公報(A)
公開日
2025-10-10
出願番号
2024056704
出願日
2024-03-29
発明の名称
建具
出願人
株式会社LIXIL
代理人
個人
,
個人
,
個人
主分類
E06B
1/32 20060101AFI20251002BHJP(戸,窓,シャッタまたはローラブラインド一般;はしご)
要約
【課題】樹脂製の枠体の熱軟化及び荷重による変形を抑制することができる建具を提供すること。
【解決手段】枠体と、枠体の内側にスライド移動可能に納められる障子と、を備える建具であって、枠体は、樹脂製の枠本体と、枠本体の内面から見付け方向に突出して障子と接触もしくは見込み方向に近接して配置される突出部と、を有し、突出部の少なくとも一部が金属で構成されるか、もしくは、枠本体及び突出部のうちの少なくとも突出部の少なくとも一部が耐熱性樹脂で構成される、建具。
【選択図】図1
特許請求の範囲
【請求項1】
枠体と、前記枠体の内側にスライド移動可能に納められる障子と、を備える建具であって、
前記枠体は、樹脂製の枠本体と、前記枠本体の内面から見付け方向に突出して前記障子と接触もしくは見込み方向に近接して配置される突出部と、を有し、
前記突出部の少なくとも一部が金属で構成されるか、もしくは、前記枠本体及び前記突出部のうちの少なくとも前記突出部の少なくとも一部が耐熱性樹脂で構成される、建具。
続きを表示(約 610 文字)
【請求項2】
前記突出部は、前記枠本体と一体に形成される突出部本体と、前記突出部本体を補強する補強部と、を有し、
前記補強部は、金属で構成されるか、もしくは、前記突出部本体及び前記補強部のうちの少なくとも前記補強部は、耐熱性樹脂で構成される、請求項1に記載の建具。
【請求項3】
前記枠体は、前記枠本体の内面に、見込み方向に配列される複数の前記突出部を有し、
前記複数の突出部の前記補強部は、それぞれ前記突出部本体に沿うように見付け方向に延びる見付け壁部を有し、
前記複数の突出部の前記見付け壁部同士は、金属もしくは耐熱性樹脂で構成される見込み方向連結部によって連結される、請求項2に記載の建具。
【請求項4】
前記枠体は、前記枠本体の内面に、見込み方向に配列される複数の前記突出部を有し、
前記複数の突出部は、それぞれ金属もしくは耐熱性樹脂で構成され、
前記複数の突出部同士は、金属もしくは耐熱性樹脂で構成される見込み方向連結部によって連結される、請求項1に記載の建具。
【請求項5】
前記耐熱性樹脂の熱変形温度は、塩化ビニル樹脂の熱変形温度よりも高い、請求項1~4のいずれか1項に記載の建具。
【請求項6】
前記枠体は、二重窓における内窓を構成する枠体である、請求項1~4のいずれか1項に記載の建具。
発明の詳細な説明
【技術分野】
【0001】
本開示は、建具に関する。
続きを表示(約 2,100 文字)
【背景技術】
【0002】
従来、樹脂製の枠体の内側に障子をスライド移動可能に納めることによって断熱性能に優れる建具が知られている。枠体の上枠及び下枠には、障子のスライド移動をガイドする樹脂製のレールが一体に形成されている(例えば、特許文献1参照)。
【先行技術文献】
【特許文献】
【0003】
特開2024-6277号公報
【発明の概要】
【発明が解決しようとする課題】
【0004】
樹脂製の枠体は、通常の使用時において、直射日光等によって温められて軟化する場合がある。特に、障子をスライド移動可能に納めた枠体の場合、障子の荷重が戸車に集中し、下枠に形成されるレールの特定の箇所に大きな荷重が掛かることがある。また、風等によって障子に見込み方向の力が加わると、障子に係合もしくは近接して配置される上枠及び下枠のレールや縦枠のフィンに見込み方向の力が掛かることがある。枠体が直射日光等によって温められると、枠体が熱軟化し、枠体に掛かる荷重によって、枠体に変形が生じることがある。
【0005】
本開示は、樹脂製の枠体の熱軟化及び荷重による変形を抑制することができる建具を提供することを目的とする。
【課題を解決するための手段】
【0006】
本開示は、枠体と、前記枠体の内側にスライド移動可能に納められる障子と、を備える建具であって、前記枠体は、樹脂製の枠本体と、前記枠本体の内面から見付け方向に突出して前記障子と接触もしくは見込み方向に近接して配置される突出部と、を有し、前記突出部の少なくとも一部が金属で構成されるか、もしくは、前記枠本体及び前記突出部のうちの少なくとも前記突出部の少なくとも一部が耐熱性樹脂で構成される、建具に関する。
【図面の簡単な説明】
【0007】
第1実施形態に係る建具の縦断面図である。
第1実施形態に係る建具の横断面図である。
図1に示す建具における上枠の拡大図である。
図3に示す上枠を分解して示す図である。
図1に示す建具における下枠の拡大図である。
図5に示す下枠を分解して示す図である。
図2に示す建具における一方の縦枠の拡大図である。
図2に示す建具における他方の縦枠の拡大図である。
第2実施形態に係る建具の縦断面図である。
第2実施形態に係る建具の横断面図である。
図9に示す建具における上枠を分解して示す図である。
図9に示す建具における下枠を分解して示す図である。
図10に示す建具における一方の縦枠の拡大図である。
図10に示す建具における他方の縦枠の拡大図である。
第3実施形態に係る建具の縦断面図である。
図15に示す建具における上枠を分解して示す図である。
図15に示す建具における下枠を分解して示す図である。
第3実施形態に係る建具における一方の縦枠の拡大図である。
第3実施形態に係る建具における他方の縦枠の拡大図である。
【発明を実施するための形態】
【0008】
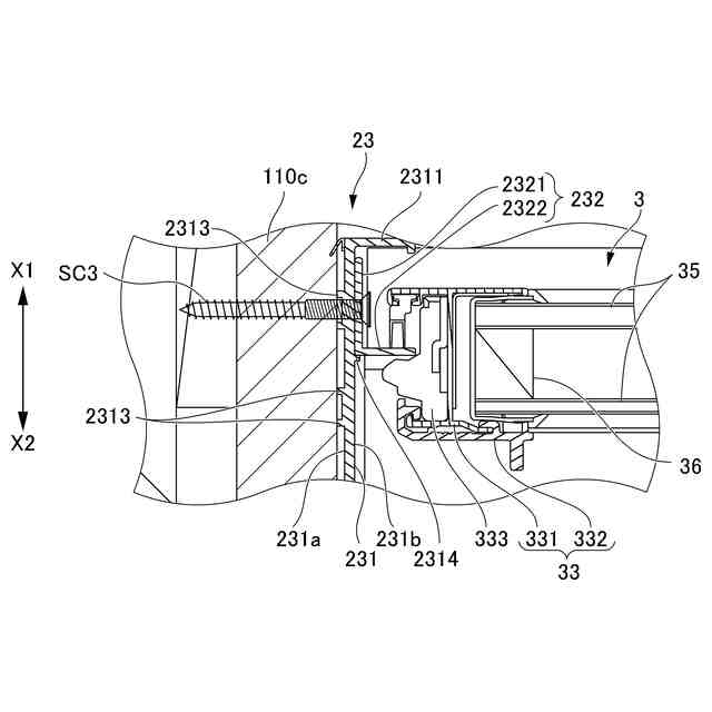
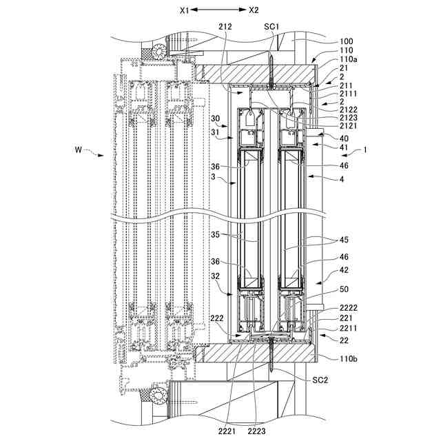
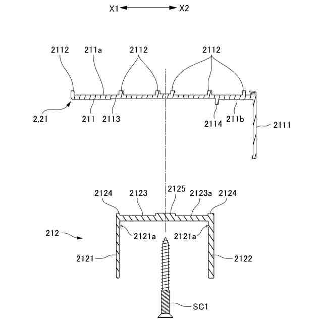
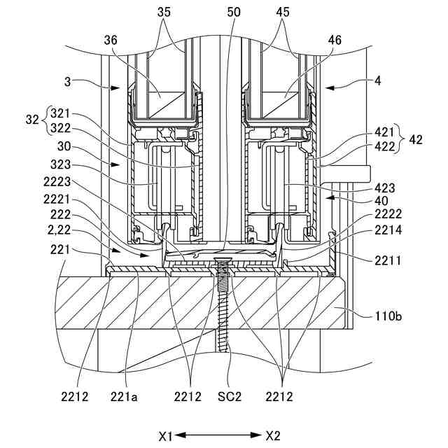
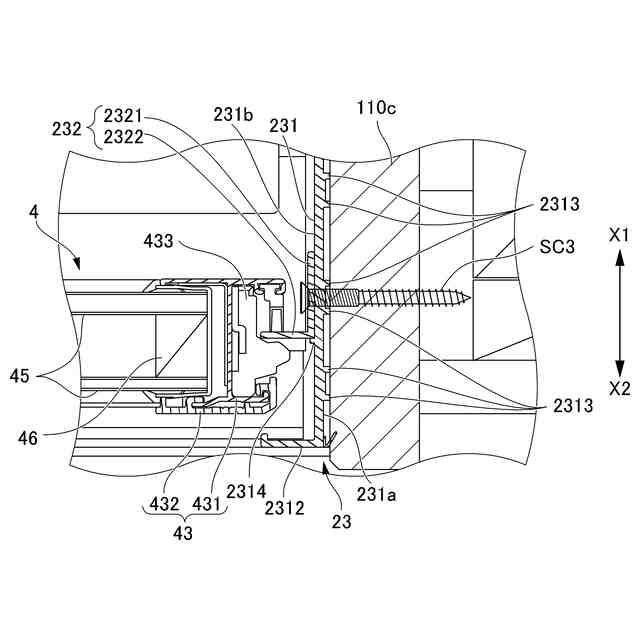
以下、本実施形態に係る建具について図面を参照して詳細に説明する。図1~図8は、第1実施形態に係る建具の適用例を示している。この建具は、建物躯体100の矩形の開口部に取り付けられる二重窓を構成する内窓1である。二重窓は、外窓Wと、内窓1と、によって構成される。外窓Wは、引き違い窓であり、図1及び図2では破線で示されている。
【0009】
内窓1は、外窓Wの室内側X2に配置される樹脂サッシである。外窓Wの室内側X2には、建物躯体100の開口部の四周に亘る額縁部材110が設けられている。額縁部材110は、上部に配置される上額縁部材110a、下部に配置される下額縁部材110b及び左右の縦額縁部材110cによって構成される。内窓1は、額縁部材110の内周面に取り付けられる。内窓1は、枠体2と、枠体2の内側に横方向にスライド移動可能に納められる外障子3及び内障子4と、を有して構成される引き違い窓である。但し、本開示の建具は、引き違い窓に限定されず、二重窓の内窓を構成するものに限定されない。本開示の建具は、枠体の内側に、レールに沿って横方向にスライド移動する少なくとも1枚の障子を納めたスライド窓に適用可能である。
【0010】
ここで、図中の矢印で示す方向について定義する。X1-X2方向は、内窓1の室内外方向を示す。X1は室外側であり、X2は室内側である。X1-X2方向は、内窓1の見込み方向を示す。内窓1において、見込み方向に沿って配置される面を見込み面という。見込み方向に直交する方向は、内窓1の見付け方向を示す。内窓1において、見付け方向に沿って配置される面を見付け面という。見付け方向において、枠体2の外側に向かう方向を外方といい、外方に向いた面を外面という。また、見付け方向において、枠体2の内側に向かう方向を内方といい、内方に向いた面を内面という。
(【0011】以降は省略されています)
この特許をJ-PlatPat(特許庁公式サイト)で参照する
関連特許
株式会社LIXIL
トレーラー
24日前
株式会社LIXIL
シャワー装置
9日前
株式会社LIXIL
湯水混合装置
22日前
株式会社LIXIL
二重窓の改装方法
15日前
株式会社LIXIL
カバー材及び改装建具
1か月前
株式会社LIXIL
カバー材及び改装建具
1か月前
株式会社LIXIL
カバー材及び改装建具
1か月前
株式会社LIXIL
ドア開閉装置及びドア
9日前
株式会社LIXIL
ポンプ、及び電気温水器システム
1日前
株式会社LIXIL
ソファベッド、及び、トレーラー
24日前
株式会社LIXIL
管理装置、管理方法、及びコンピュータプログラム
1か月前
株式会社LIXIL
管理装置、管理方法、及びコンピュータプログラム
1か月前
株式会社LIXIL
管理装置、管理方法、及びコンピュータプログラム
1か月前
株式会社LIXIL
液膜装置、液膜形成方法、制御装置、及び水回り装置
24日前
株式会社LIXIL
建具
1日前
株式会社LIXIL
開き窓
9日前
株式会社LIXIL
便器装置
1日前
株式会社LIXIL
トイレ用キャビネット
1日前
株式会社LIXIL
ホームシステム、人物検出装置、人物検出方法および人物検出プログラム
1日前
株式会社LIXIL
評価装置、評価システム、ユーザ端末、評価方法、および評価プログラム
1日前
大和ハウス工業株式会社
外壁の断熱改修構造および外壁の断熱改修方法
1か月前
株式会社LIXIL
樹脂組成物成形体の製造方法
9日前
株式会社セブン-イレブン・ジャパン
店舗営業支援システム
17日前
株式会社LIXIL
便器装置及び便器装置のカバー構造
22日前
株式会社LIXIL
情報処理装置、サーバ、情報処理システム、情報処理方法および情報処理プログラム
9日前
株式会社LIXIL
制御装置、混合装置ユニット、水回り装置、コンピュータプログラム、及び制御方法
1か月前
株式会社LIXIL
ホームシステム、トリガー発生装置、トリガー発生方法およびトリガー発生プログラム
17日前
株式会社LIXIL
枠ユニットおよび枠ユニットの施工方法
1日前
株式会社LIXIL
制御装置、制御システム、制御方法およびプログラム
1日前
株式会社ナカオ
作業台
2か月前
株式会社ESP
止水板
3か月前
中国電力株式会社
脚立
3か月前
株式会社ニチベイ
遮蔽装置
1か月前
三協立山株式会社
開口部装置
2か月前
三協立山株式会社
開口部建材
23日前
三協立山株式会社
開口部装置
1か月前
続きを見る
他の特許を見る