TOP
|
特許
|
意匠
|
商標
特許ウォッチ
Twitter
他の特許を見る
10個以上の画像は省略されています。
公開番号
2025148044
公報種別
公開特許公報(A)
公開日
2025-10-07
出願番号
2024048620
出願日
2024-03-25
発明の名称
シリンダ錠
出願人
株式会社LIXIL
代理人
個人
,
個人
,
個人
主分類
E05B
15/00 20060101AFI20250930BHJP(錠;鍵;窓または戸の付属品;金庫)
要約
【課題】キーチェンジ回数を増加させることができるとともに小型化が可能なシリンダ錠を提供すること。
【解決手段】解錠鍵を挿入する鍵穴を有する内筒と、内筒を回動可能に嵌合する外筒と、内筒と外筒との間のシアーラインを挟んで設けられるキーチェンジ機構を構成するピン構造体と、を備えるシリンダ錠であって、ピン構造体をシリンダ錠の軸方向に沿って所定のピッチで複数配列することによってそれぞれ構成される第1のピン構造体列及び第2のピン構造体列を有し、第1のピン構造体列と第2のピン構造体列とは、鍵穴を挟んで対角位置に配置されるとともに、シリンダ錠の軸方向に半ピッチずれて配置される。
【選択図】図9
特許請求の範囲
【請求項1】
解錠鍵を挿入する鍵穴を有する内筒と、
前記内筒を回動可能に嵌合する外筒と、
前記内筒と前記外筒との間のシアーラインを挟んで設けられるキーチェンジ機構を構成するピン構造体と、を備えるシリンダ錠であって、
前記ピン構造体を前記シリンダ錠の軸方向に沿って所定のピッチで複数配列することによってそれぞれ構成される第1のピン構造体列及び第2のピン構造体列を有し、
前記第1のピン構造体列と前記第2のピン構造体列とは、前記鍵穴を挟んで対角位置に配置されるとともに、前記シリンダ錠の軸方向に半ピッチずれて配置される、シリンダ錠。
続きを表示(約 920 文字)
【請求項2】
前記キーチェンジ機構は、
前記外筒に径方向に沿って設けられる上ピン孔と、
前記内筒に径方向に沿って貫通して設けられる下ピン孔と、
前記内筒に設けられる球体収容溝と、
前記ピン構造体と、を備え、
前記ピン構造体は、
前記上ピン孔に径方向に移動可能に収容される上ピンと、
前記上ピンを径方向内側に向けて付勢する付勢部材と、
前記下ピン孔に径方向に移動可能に収容され、先端部が前記鍵穴に突出可能に配置される下ピンと、
前記上ピンと前記下ピンとの間に配置される中間体と、を備え、
前記中間体収容溝は、前記下ピン孔に対して解錠時の前記内筒の回動方向と反対方向に隣接して配置され、
前記解錠鍵のキーチェンジ用係合溝と前記下ピンとの係合状態において、前記付勢部材の付勢力で前記上ピンが径方向内側に移動することによって、前記中間体を前記内筒と共に解錠方向に回動するように前記下ピン孔内に配置させ、且つ前記上ピンを、前記シアーラインを超えないように前記上ピン孔内に配置させ、
前記解錠鍵の前記キーチェンジ用係合溝と前記下ピンとの非係合状態において、前記下ピンに押された前記上ピンが前記付勢部材の付勢力に抗して径方向外側に移動することによって、前記内筒の解錠方向への回動時に前記中間体を前記上ピン孔内に配置させ、前記上ピン孔と前記中間体収容溝とが一致した際に、前記上ピン孔内の前記中間体を前記中間体収容溝に収容し、且つ前記内筒の復帰方向への回動によって前記外筒の前記上ピン孔と前記内筒の前記下ピン孔とが一致した際に、前記上ピンが、前記付勢部材の付勢力によって前記シアーラインを超えて前記下ピン孔内に挿入されるように構成される、請求項1に記載のシリンダ錠。
【請求項3】
前記下ピン孔は、前記内筒の外周面への開口部位に、径方向外側に向かうに従って次第に拡径するテーパ面を有する、請求項2に記載のシリンダ錠。
【請求項4】
前記上ピンの径方向内側の先端面には、凹球面が形成されている、請求項2又は3に記載のシリンダ錠。
発明の詳細な説明
【技術分野】
【0001】
本開示は、シリンダ錠に関する。
続きを表示(約 2,100 文字)
【背景技術】
【0002】
キーチェンジ機構を備えるシリンダ錠としては、内筒と外筒とに亘って、中間ピン、中間ピン収納部、ストッカーピン、中間ピン待避孔、及び抑え上ピンを有するキーチェンジ機構を備え、新たな鍵が使用されると、元の鍵が使用不可となるように構成されるものが知られている(例えば、特許文献1参照)。
【0003】
このシリンダ錠は、新たな鍵を鍵穴に挿入すると、内筒の中間ピン収納部に収納される中間ピンがシアーラインを超えて外筒側に移動するように構成される。この状態で、挿入した鍵を鍵変更操作方向に回転させると、外筒側に移動した中間ピンは、内筒における元の中間ピン収納部の隣りに配置される中間ピン待避孔に収納される。これによって、元の中間ピン収納部に対応する外筒内のタンブラーピンがシアーラインを超えて内筒側に突出するため、以後、元の鍵での解錠操作は不可能になる。
【0004】
このシリンダ錠には、軸方向に沿って4つのキーチェンジ機構が配列されている。したがって、このシリンダ錠は4回のキーチェンジが可能である。
【先行技術文献】
【特許文献】
【0005】
特開2008-38429号公報
【発明の概要】
【発明が解決しようとする課題】
【0006】
キーチェンジの回数を増やすためには、シリンダ錠の軸方向に沿って配列されるキーチェンジ機構の数を増加する必要があるが、キーチェンジ機構の数の増加に伴って、シリンダ錠は軸方向に長尺化する。そのため、キーチェンジ回数の増加とシリンダ錠の小型化とを両立させることは困難であった。
【0007】
そこで、本開示は、キーチェンジ回数を増加させることができるとともに小型化が可能なシリンダ錠を提供することを目的とする。
【課題を解決するための手段】
【0008】
本開示は、解錠鍵を挿入する鍵穴を有する内筒と、前記内筒を回動可能に嵌合する外筒と、前記内筒と前記外筒との間のシアーラインを挟んで設けられるキーチェンジ機構を構成するピン構造体と、を備えるシリンダ錠であって、前記ピン構造体を前記シリンダ錠の軸方向に沿って所定のピッチで複数配列することによってそれぞれ構成される第1のピン構造体列及び第2のピン構造体列を有し、前記第1のピン構造体列と前記第2のピン構造体列とは、前記鍵穴を挟んで対角位置に配置されるとともに、前記シリンダ錠の軸方向に半ピッチずれて配置される、シリンダ錠に関する。
【図面の簡単な説明】
【0009】
本実施形態に係るシリンダ錠及び解錠鍵を示す斜視図である。
本実施形態に係るシリンダ錠の分解斜視図である。
本実施形態に係るシリンダ錠を図2とは異なる方向から視た分解斜視図である。
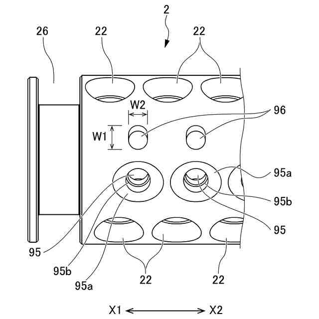
本実施形態に係るシリンダ錠を解錠鍵の挿入側から視た正面図である。
本実施形態に係るシリンダ錠を解錠鍵の挿入側と反対側から視た背面図である。
図4中のA-A線に沿う断面図である。
本実施形態に係るシリンダ錠に設けられる蓋材の正面図である。
内筒の前方側の外周面を示す図である。
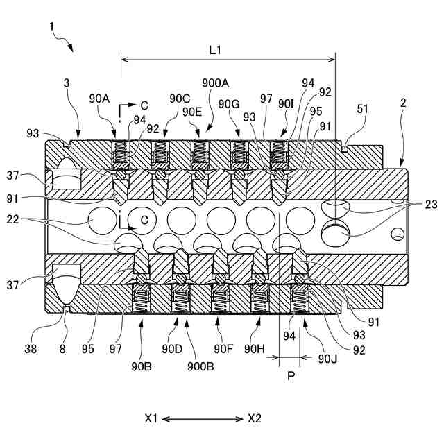
図4中のB-B線に沿う断面図である。
キーチェンジ機構を示す断面図である。
第1番目の解錠鍵の係合溝を示す図である。
鍵穴に第1番目の解錠鍵を挿入した際のキーチェンジ機構の動作を示す断面図である。
鍵穴に第1番目の解錠鍵を挿入した際のキーチェンジ機構の動作を示す断面図である。
第2番目の解錠鍵の係合溝を示す図である。
鍵穴に第2番目の解錠鍵を挿入した際のキーチェンジ機構の動作を示す断面図である。
鍵穴に第2番目の解錠鍵を挿入した際のキーチェンジ機構の動作を示す断面図である。
鍵穴に第2番目の解錠鍵を挿入した際のキーチェンジ機構の動作を示す断面図である。
鍵穴に第2番目の解錠鍵を挿入した際のキーチェンジ機構の動作を示す断面図である。
鍵穴に第2番目の解錠鍵を挿入した際のキーチェンジ機構の動作を示す断面図である。
本実施形態に係るシリンダ錠を備える玄関ドアを示す正面図である。
本実施形態に係るシリンダ錠を備える宅配ボックスを示す正面図である。
本実施形態に係るシリンダ錠を備える門扉を示す正面図である。
【発明を実施するための形態】
【0010】
以下、本開示の実施形態について図面を参照して詳細に説明する。本実施形態に係るシリンダ錠1は、シリンダ錠1を施解錠可能な複数の解錠鍵と共に用いられる。本実施形態に係るシリンダ錠1では、第1番目から第11番目までの11の解錠鍵を使用可能であるが、本明細書及び図面では、11の解錠鍵のうちの2つの解錠鍵100(図1、図11参照)及び解錠鍵100A(図14参照)のみを示して説明する。解錠鍵100は、第1番目の解錠鍵であり、解錠鍵100Aは、第2番目の解錠鍵である。
(【0011】以降は省略されています)
この特許をJ-PlatPat(特許庁公式サイト)で参照する
関連特許
株式会社LIXIL
トレーラー
14日前
株式会社LIXIL
湯水混合装置
12日前
株式会社LIXIL
二重窓の改装方法
5日前
株式会社LIXIL
カバー材及び改装建具
20日前
株式会社LIXIL
カバー材及び改装建具
20日前
株式会社LIXIL
カバー材及び改装建具
20日前
株式会社LIXIL
ソファベッド、及び、トレーラー
14日前
株式会社LIXIL
管理装置、管理方法、及びコンピュータプログラム
20日前
株式会社LIXIL
管理装置、管理方法、及びコンピュータプログラム
20日前
株式会社LIXIL
管理装置、管理方法、及びコンピュータプログラム
20日前
株式会社LIXIL
液膜装置、液膜形成方法、制御装置、及び水回り装置
14日前
大和ハウス工業株式会社
外壁の断熱改修構造および外壁の断熱改修方法
26日前
株式会社セブン-イレブン・ジャパン
店舗営業支援システム
7日前
株式会社LIXIL
便器装置及び便器装置のカバー構造
12日前
株式会社LIXIL
ホームシステム、トリガー発生装置、トリガー発生方法およびトリガー発生プログラム
7日前
個人
物品保管箱
3か月前
個人
防犯用ドア装置
3か月前
個人
ピンシリンダー錠。
4か月前
個人
顔認証による入室システム
4か月前
個人
ポスト機能付き手提げ金庫
2か月前
株式会社ベスト
軸釣装置
15日前
個人
二重ロック機能付小物入れ
3か月前
株式会社ソリック
ドア装置
23日前
ミサワホーム株式会社
錠受具
4か月前
三協立山株式会社
開口部装置
2か月前
個人
無人貸金庫システム
1か月前
リョービ株式会社
ドアクローザ
3か月前
株式会社アルファ
電気錠
3か月前
リョービ株式会社
ドアクローザ
3か月前
有限会社シティング
引き戸
2か月前
株式会社ベスト
扉及び個室
1か月前
積水ハウス株式会社
引き戸
1か月前
株式会社榮伸
カバン蓋の係止装置
3か月前
株式会社セリュール
電子錠、電気錠装置
7日前
トヨタ自動車株式会社
車両
26日前
株式会社セリュール
電子錠、電気錠装置
7日前
続きを見る
他の特許を見る