TOP
|
特許
|
意匠
|
商標
特許ウォッチ
Twitter
他の特許を見る
公開番号
2025176638
公報種別
公開特許公報(A)
公開日
2025-12-04
出願番号
2024082922
出願日
2024-05-21
発明の名称
電動ステー装置
出願人
タキゲン製造株式会社
代理人
個人
主分類
E05F
15/622 20150101AFI20251127BHJP(錠;鍵;窓または戸の付属品;金庫)
要約
【課題】ウィングを支持体に対して任意の開放角度位置で保持し、障害物によるウィングの停止時や手動開閉操作時の過負荷を回避できる電動ステーを提供する。
【解決手段】電動ステー装置1は、アウターパイプ2、インナーパイプ3、ギアドモータ4,すべりねじ棒6、すべりナット7、リニアガイド8,9からなるリニアアクチュエータ構造を含む。すべりねじ棒6は、過負荷過負荷保護クラッチ機構を含むカップリング5を介してギアドモータ4に連結される。過負荷過負荷保護クラッチ機構は、ギアドモータ4の回転軸41に固着される外側部材51と、これに軸周り相対回転自在に嵌合し、すべりねじ棒6に固着される内側部材52と、これらの間に保持されるばね53と鋼球54を具備する。鋼球54がばね53で内側部材52の球受け凹部52aに落ち込んでいる限り、ギアドモータ4からすべりねじ棒6へ回転が伝わる。
【選択図】図2
特許請求の範囲
【請求項1】
支持体に対して蝶着されたウィングを開閉するための電動ステー装置であって、 一端側が前記支持体に枢支され、他端側が開放するアウターパイプと、
一端側が前記ウィングに枢支され、他端側が前記アウターパイプ内に軸線方向出入り自在に挿入され、他端にガイド部材とすべりナットが固着されるインナーパイプと、
前記アウターパイプの一端側の内部に固着されるギアドモータと、
一端側が前記ギアドモータの回転軸にカップリングを介して連結され、中間において前記すべりナットに螺合して他端側が前記インナーパイプ内を軸心に沿って延びるすべりねじ棒と、
前記アウターパイプ内を軸線に沿って延び、両端部において当該アウターパイプの両端部に支持され、中間部において前記ガイド部材に対し軸線方向相対摺動自在、軸周り相対回転不能とするように係合する一対のリニアガイドとを具備し
前記カップリングは、前記ギアドモータの回転軸に固着される外側部材と、前記すべりねじ棒の一端に固着され当該外側部材の内側に軸周り相対回転自在に嵌合する内側部材と、前記外側部材内に保持され前記内側部材の球受け凹部落ち込むように当該内側部材の軸線方向にばねで付勢される複数の鋼球とからなる過負荷保護クラッチ機構を具備し、
前記一対のリニアガイドとこれに係合する前記ガイド部材32との相対位置より、アウターパイプに対するインナーパイプの最伸長位置および最収縮位置を感知してギアドモータの動作を制御する感知機構とを具備することを特徴とする電動ステー装置。
続きを表示(約 230 文字)
【請求項2】
前記感知機構は、両端部において前記アウターパイプの両端部にばねを介して軸線方向に弾性的に移動自在に支持される前記一対のリニアガイドと、前記インナーパイプの最伸長位置および最収縮位置付近において前記ガイド部材32に当接して当該リニアガイドを移動させるように突設される感知突起と、前記リニアガイドの移動により接点を開閉するように前記アウターパイプの一端部に設けられる一対のリミットスイッチとを含むことを特徴とする請求項1に記載の電動ステー装置。
発明の詳細な説明
【技術分野】
【0001】
本発明は、例えば筐体の枠のような支持体と、当該筐体に蝶着される蓋体のようなウィングとの間に介設され、支持体に対してウィングを開閉操作し、かつ任意の開放位置を維持するため電動ステー装置に関する。
続きを表示(約 2,100 文字)
【背景技術】
【0002】
従来、天蓋や前蓋のような、開口を開閉するために開口の枠に枢支された扉を任意の開放位置で支持する扉用ステーとしては、一般に手動で操作する機械式のものが用いられている(例えば特許文献1)。
一方、上記のようなステーに適用可能性のある電気機械式のリニアアクチュエータとして、例えば特許文献2に記載されたものが知られている。このリニアアクチュエータは、電気機械式のリニアアクチュエータであって、ねじ伝動機構を備え、ねじ伝動機構が、ねじ主軸とねじナットとを有するものである。
【先行技術文献】
【特許文献】
【0003】
特開2010-281161号公報
特開2024-8894号公報
【発明の概要】
【発明が解決しようとする課題】
【0004】
上記従来の電気機械式のリニアアクチュエータは、これをそのまま扉用のステーとして適用することはできない。
従って、本発明は、電気機械式のリニアアクチュエータの基本的構成を有しながら、扉用のステーとして適用するための具体的構成を有する電動式のステーを提供することを課題とする。
【課題を解決するための手段】
【0005】
以下の説明において添付図面の符号を参照するが、本発明はこれに限定されるものではない。
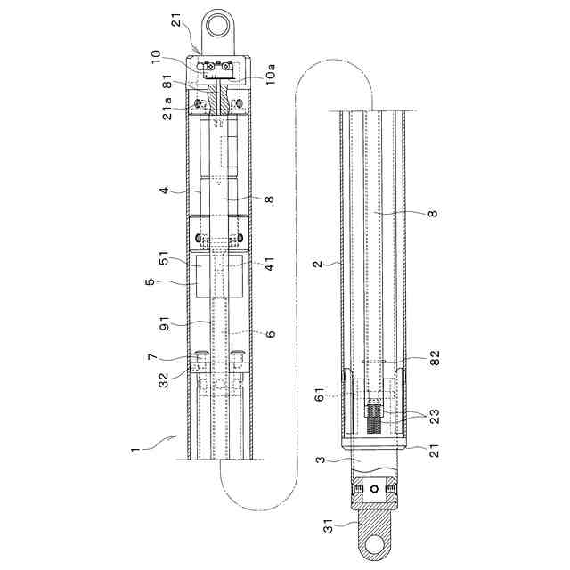
上記課題を解決するための、本発明の電動ステー装置1は、支持体101に対して蝶着されたウィング102を開閉するための電動ステー装置であって、一端側が支持体101に枢支され、他端側が開放するアウターパイプ2と、一端側がウィング102に枢支され、他端側がアウターパイプ2内に軸線方向出入り自在に挿入され、他端にガイド部材32とすべりナット7が固着されるインナーパイプ3とを具備する。アウターパイプ2の一端側の内部にはギアドモータ4が固着され、それの回転軸41にカップリング5を介してすべりねじ棒6が連結される。すべりねじ棒6は、中間においてすべりナット7に螺合してインナーパイプ3内を軸心に沿って延びる。アウターパイプ2内には、リニアガイド8,9の両端部が支持される。リニアガイド8,9は、アウターパイプ2内を軸線に沿って延び、中間部においてインナーパイプ3のガイド部材32に対し軸線方向相対摺動自在、軸周り相対回転不能となるように係合する。カップリング5には、過負荷保護クラッチ機構が内装される。過負荷保護クラッチ機構は、外側部材51、内側部材52、これらの間に保持されるばね53、鋼球54を具備する。外側部材51は、ギアドモータ4の回転軸41に固着される。内側部材52は、すべりねじ棒6の一端に固着され、外側部材51に軸周り相対回転自在に嵌合すると共に、外側部材51に対向する複数の球受け凹部52aを具備する。鋼球54は、各球受け凹部52aに落ち込むように設けられ、外側部材51側のばね53で内側部材52側へ付勢される。一対のリニアガイド8,9とこれに係合するインナーパイプ3のガイド部材32との相対位置によりアウターパイプに対するインナーパイプ3の最伸長位置および最収縮位置を感知してギアドモータの動作を制御する感知機構を具備する。
【発明の効果】
【0006】
本発明によれば、ウィングを支持体に対して任意の開放角度位置で保持でき、開閉動作時にウィングが何らかの障害物に当接して停止した状態でモータが回り続けたり、停電が生じてモータが停止した後、手動にてウィングを開閉操作する必要が生じたりした場合、装置が過負荷により損傷することがない電動ステーを提供することができる。
【図面の簡単な説明】
【0007】
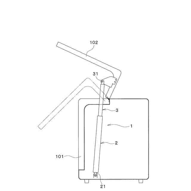
本発明のステーを筐体とそれの開口を開閉する扉との間に介設した実施形態を示す説明図である。
図1のステーの分解斜視図である。
図1のステーの収縮状態の横断面図である。
図1のステーの収縮状態の縦断面図である。
【発明を実施するための形態】
【0008】
図面を参照して本発明の実施の形態を説明する。
図1において、電動ステー装置1は、筐体のような支持体101に対して蝶着された蓋体のようなウィング102を開閉するために用いられる。
【0009】
電動ステー装置1は、一端側が支持体101に枢支され、他端側が開放するアウターパイプ2と、一端側がウィング102に枢支され、他端側がアウターパイプ2内に軸線方向出入り自在に挿入されるインナーパイプ3とを具備する。
【0010】
図2~4に示すように、アウターパイプ2は、一端側が引き手部材21で閉じられ、他端側は開放し、内側にスリーブ22が嵌め込まれる。アウターパイプ2の一端側の内部には、ギアドモータ4が固着される。ギアドモータ4の回転軸41(図3)にカップリング5を介してすべりねじ棒6の一端が連結される。
(【0011】以降は省略されています)
この特許をJ-PlatPat(特許庁公式サイト)で参照する
関連特許
日本発條株式会社
リッド開閉装置
6日前
タキゲン製造株式会社
電動ステー装置
5日前
株式会社パイオラックス
回転アクチュエータ
11日前
株式会社大林組
障子および障子の組付構造
5日前
株式会社久力製作所
引戸用引手
4日前
三井金属アクト株式会社
フードロック装置
11日前
株式会社東海理化電機製作所
制御装置および制御方法
11日前
株式会社SUBARU
ドアロックシステム
11日前
個人
スマートロッカーのアクセスシステム及びそのアクセス方法
5日前
ナブテスコ株式会社
自動ドア装置
4日前
株式会社ベスト
軸釣装置の上吊り手段
4日前
TOPPANホールディングス株式会社
デジタルキーシステム、施錠管理方法
4日前
株式会社LIXIL
情報出力方法、箱錠、ドア、情報出力装置及び情報出力プログラム
6日前
ピン ジーニー インコーポレイテッド
電気ドアロック装置
4日前
株式会社デンソーテン
スマートキーシステム、車載装置、スマートキー、および、スマートキーシステムの制御方法
5日前
他の特許を見る