TOP
|
特許
|
意匠
|
商標
特許ウォッチ
Twitter
他の特許を見る
10個以上の画像は省略されています。
公開番号
2025175880
公報種別
公開特許公報(A)
公開日
2025-12-03
出願番号
2024082194
出願日
2024-05-20
発明の名称
情報出力方法、箱錠、ドア、情報出力装置及び情報出力プログラム
出願人
株式会社LIXIL
代理人
個人
,
個人
,
個人
主分類
E05C
1/16 20060101AFI20251126BHJP(錠;鍵;窓または戸の付属品;金庫)
要約
【課題】箱錠及びドアに関する感性的な価値を客観的に評価するための情報が得られる情報出力方法、箱錠、ドア、情報出力装置及び情報出力プログラムを提供する。
【解決手段】箱錠におけるラッチの開閉操作についての情報出力方法であって、ラッチハブを回転させ、梃子部を介してラッチボルトが移動するときの箱錠の物性を示す物性情報を取得することと、物性に対する箱錠に関する感性的な価値の複数の人による評価結果に応じて作成された出力モデルであって、物性情報から感性的な価値を出力する出力モデルを用いて、取得した物性情報に基づいて感性的な価値を示す感性価値情報を出力することと、を含む。
【選択図】図12
特許請求の範囲
【請求項1】
ケースと、
ラッチを有し前記ケースに対して進退移動するラッチボルトと、
前記ラッチが前記ケースから突出する第1位置から、前記ラッチボルトの進退移動方向と直交する中心軸を中心とする第1周方向の一方側に回転したときに、前記ラッチが前記ケース内に引き込まれるラッチハブと、
前記ラッチハブに取り付けられ、前記ラッチハブとともに前記第1周方向に移動可能な梃子部と、
を備え、
前記ラッチボルトは、前記進退移動方向に移動可能に設けられ前記梃子部とともに移動可能な作動部を有し、
前記ラッチハブは、前記中心軸と平行な回転軸に沿って延びる軸部及び前記軸部が前記回転軸を中心として回転可能に嵌まる凹部の何れか一方を有し、
前記梃子部は、
前記軸部及び前記凹部の何れか他方と、
前記中心軸から離れる方向に前記回転軸から延び、先端側に係合部を有する第1部分と、
前記中心軸に近づく方向に前記回転軸から延び、先端側に前記回転軸からの最大距離が前記回転軸から前記係合部までの最大距離よりも長く、前記回転軸を中心とする第2周方向の一方側に回転したときに、前記作動部を移動させる移動部を有する第2部分と、
を有し、
前記ケースは、
前記ラッチハブが前記第1位置にあるときの前記係合部よりも前記第1周方向の一方側に位置する係合壁と、
前記係合壁における前記中心軸に近い側の端部から前記進退移動方向の後退側に延び、前記係合部と前記中心軸から遠い側で対向する対向壁と、
前記係合壁と前記対向壁とを繋ぐ湾曲壁と、
を有し、
前記梃子部は、前記ラッチハブが前記第1位置から前記第1周方向の一方側に回転して前記係合部が前記係合壁、前記湾曲壁及び前記対向壁に順次係合したときに、前記第2周方向の一方側に回転して前記移動部が前記作動部とともに移動するとともに、前記移動部が前記ラッチハブとともに前記第1周方向の一方側に回転する箱錠における前記ラッチの開閉操作についての情報出力方法であって、
前記ラッチハブを回転させ、前記梃子部を介して前記ラッチボルトが移動するときの前記箱錠の物性を示す物性情報を取得することと、
前記物性に対する前記箱錠に関する感性的な価値の複数の人による評価結果に応じて作成された出力モデルであって、前記物性情報から前記感性的な価値を出力する出力モデルを用いて、取得した前記物性情報に基づいて前記感性的な価値を示す感性価値情報を出力することと、
を含む情報出力方法。
続きを表示(約 1,700 文字)
【請求項2】
前記感性価値情報を出力することは、前記感性価値情報に基づいて、前記感性的な価値が所定の基準を満たすか否かの評価結果を出力する、
請求項1に記載の情報出力方法。
【請求項3】
前記物性情報は、前記ラッチの開方向に前記ラッチハブを回転させる際の回転角度を示す操作角のデータと、回転操作時の荷重の推移を示す荷重データとを含み、
前記感性価値情報は、前記ラッチの開操作に関する精緻度合いを示す操作精緻度を含む、請求項1に記載の情報出力方法。
【請求項4】
前記操作角に関する第1因子及び前記荷重に関する第2因子を説明変数とすると、
前記操作精緻度は、0.29×第1因子+0.97×第2因子+0.07で出力される、請求項3に記載の情報出力方法。
【請求項5】
前記箱錠は、ドアに着脱可能に設けられ、
前記物性情報は、前記ドアを閉めたときの音響データを含み、
前記感性価値情報は、前記ドアを閉めたときに生じる音に関する精緻度合いを示す音精緻度を含む、
請求項1に記載の情報出力方法。
【請求項6】
前記ドアを閉めたときに生じるラッチ音の周波数に関する第3因子及び前記ドアの戸当り音最大ラウドネスに関する第4因子を説明変数とすると、
前記音精緻度は、-0.0003×第3因子-0.44×第4因子+2.53の式で出力される、
請求項5に記載の情報出力方法。
【請求項7】
前記湾曲壁は、前記中心軸に沿う方向に見て、前記中心軸から遠い側に曲率中心を有する、請求項1から6のいずれか一項に記載の情報出力方法。
【請求項8】
ケースと、
ラッチを有し前記ケースに対して進退移動するラッチボルトと、
前記ラッチが前記ケースから突出する第1位置から、前記ラッチボルトの進退移動方向と直交する中心軸を中心とする第1周方向の一方側に回転したときに、前記ラッチが前記ケース内に引き込まれるラッチハブと、
前記ラッチハブに取り付けられ、前記ラッチハブとともに前記第1周方向に移動可能な梃子部と、
を備え、
前記ラッチボルトは、前記進退移動方向に移動可能に設けられ前記梃子部とともに移動可能な作動部を有し、前記ラッチハブは、前記中心軸と平行な回転軸に沿って延びる軸部及び前記軸部が前記回転軸を中心として回転可能に嵌まる凹部の何れか一方を有し、
前記梃子部は、
前記軸部及び前記凹部の何れか他方と、
前記中心軸から離れる方向に前記回転軸から延び、先端側に係合部を有する第1部分と、
前記中心軸に近づく方向に前記回転軸から延び、先端側に前記回転軸からの最大距離が前記回転軸から前記係合部までの最大距離よりも長く、前記回転軸を中心とする第2周方向の一方側に回転したときに、前記作動部を移動させる移動部を有する第2部分と、
を有し、
前記ケースは、
前記ラッチハブが前記第1位置にあるときの前記係合部よりも前記第1周方向の一方側に位置する係合壁と、
前記係合壁における前記中心軸に近い側の端部から前記進退移動方向の後退側に延び、前記係合部と前記中心軸から遠い側で対向する対向壁と、
前記係合壁と前記対向壁とを繋ぐ湾曲壁と、
を有し、
前記梃子部は、前記ラッチハブが前記第1位置から前記第1周方向の一方側に回転して前記係合部が前記係合壁、前記湾曲壁及び前記対向壁に順次係合したときに、前記第2周方向の一方側に回転して前記移動部が前記作動部とともに移動するとともに、前記移動部が前記ラッチハブとともに前記第1周方向の一方側に回転する、箱錠。
【請求項9】
請求項4に記載の情報出力方法で出力される決定係数が0.42以上である、
請求項8に記載の箱錠。
【請求項10】
前記湾曲壁は、前記中心軸に沿う方向に見て、前記中心軸から遠い側に曲率中心を有する、請求項8に記載の箱錠。
(【請求項11】以降は省略されています)
発明の詳細な説明
【技術分野】
【0001】
本開示は、情報出力方法、箱錠、ドア、情報出力装置及び情報出力プログラムに関する。
続きを表示(約 2,500 文字)
【背景技術】
【0002】
室内ドアハンドル操作角において、高齢者や子供でも開けやすい小さい操作角度を実現したユニバーサルデザインの商品がある。ドアに設けられたハンドルの操作角度を小さくする従来技術としては、ドアの解錠の際にラッチを引込み作動させる箱錠内部のハブ部品に追加部品を連結し、梃子の原理を応用してラッチ引込み量を確保しつつ小さい操作角を実現している。
【0003】
ドアハンドルの操作角度を小さくした場合には、応力が集中することで箱錠の内部部品に負荷が加わることによって変形または破損に繋がる可能性がある。部品が破損した場合には、部品が内部に詰まることでハンドル操作が効かなくなり、室内閉じ込めに繋がる可能性がある。
【0004】
ラッチ引込機能付きのドアでは、高級感や重厚感が要求される場合がある。しかし、感性は人によって異なるため、より多くの人に共感を得られるように、ドアの感性的な価値を客観的に評価する必要がある。特許文献1には、引戸等のスライド式の開閉体の感性的な価値を客観的に評価する方法が開示されている。
【先行技術文献】
【特許文献】
【0005】
特開2021-161756号公報
【発明の概要】
【発明が解決しようとする課題】
【0006】
ラッチ引込機能付きの箱錠及びドアの感性的な価値を客観的に評価する評価方法は未だ提案されていない。
【0007】
本開示は、以上のような点を考慮してなされたもので、箱錠及びドアに関する感性的な価値を客観的に評価するための情報が得られる情報出力方法、箱錠、ドア、情報出力装置及び情報出力プログラムを提供することを目的とする。
【0008】
本開示の別の目的は、客観的に評価するための情報により良好な感性的な価値が得られる箱錠を提供することを目的とする。
【課題を解決するための手段】
【0009】
本開示の第1の態様は、ケースと、ラッチを有し前記ケースに対して進退移動するラッチボルトと、前記ラッチが前記ケースから突出する第1位置から、前記ラッチボルトの進退移動方向と直交する中心軸を中心とする第1周方向の一方側に回転したときに、前記ラッチが前記ケース内に引き込まれるラッチハブと、前記ラッチハブに取り付けられ、前記ラッチハブとともに前記第1周方向に移動可能な梃子部と、を備え、前記ラッチボルトは、前記進退移動方向に移動可能に設けられ前記梃子部とともに移動可能な作動部を有し、前記ラッチハブは、前記中心軸と平行な回転軸に沿って延びる軸部及び前記軸部が前記回転軸を中心として回転可能に嵌まる凹部の何れか一方を有し、前記梃子部は、前記軸部及び前記凹部の何れか他方と、前記中心軸から離れる方向に前記回転軸から延び、先端側に係合部を有する第1部分と、前記中心軸に近づく方向に前記回転軸から延び、先端側に前記回転軸からの最大距離が前記回転軸から前記係合部までの最大距離よりも長く、前記回転軸を中心とする第2周方向の一方側に回転したときに、前記作動部を移動させる移動を有する第2部分と、を有し、前記ケースは、前記ラッチハブが前記第1位置にあるときの前記係合部よりも前記第1周方向の一方側に位置する係合壁と、前記係合壁における前記中心軸に近い側の端部から前記進退移動方向の後退側に延び、前記係合部と前記中心軸から遠い側で対向する対向壁と、前記係合壁と前記対向壁とを繋ぐ湾曲壁と、有し、前記梃子部は、前記ラッチハブが前記第1位置から前記第1周方向の一方側に回転して前記係合部が前記係合壁、前記湾曲壁及び前記対向壁に順次係合したときに、前記第2周方向の一方側に回転して前記移動部が前記作動部とともに移動するとともに、前記移動部が前記ラッチハブとともに前記第1周方向の一方側に回転する箱錠における前記ラッチの開閉操作についての情報出力方法であって、前記ラッチハブを回転させ、前記梃子部を介して前記ラッチボルトが移動するときの前記箱錠の物性を示す物性情報を取得することと、前記物性に対する前記箱錠に関する感性的な価値の複数の人による評価結果に応じて作成された出力モデルであって、前記物性情報から前記感性的な価値を出力する出力モデルを用いて、取得した前記物性情報に基づいて前記感性的な価値を示す感性価値情報を出力することと、を含む情報出力方法である。
【図面の簡単な説明】
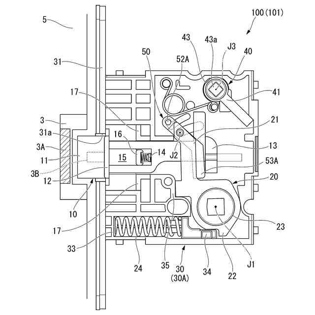
【0010】
本開示の錠装置の箱錠を取り付けたドアを示す斜視図である。
本開示の箱錠の分解斜視図である。
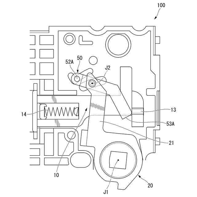
本開示の箱錠における内部構成を示す図である。
ラッチハブ及び梃子部の分解斜視図である。
軸部及び回転軸を含む面における断面図である。
ガイド溝、ガイド軸、溝部、係合部の位置関係を示す図である。
ガイド溝、ガイド軸、溝部、係合部の位置関係を示す図である。
本開示の箱錠における内部構成を部分的に示す図である。
ガイド溝、ガイド軸、溝部、係合部の位置関係を示す図である。
本開示の箱錠における内部構成を部分的に示す図である。
情報出力装置の機能ブロック図である。
処理部が行う処理フローを示すフローチャートである。
試作品及び試験体を用いて測定した操作角及び荷重データの図。
ラッチの開操作に関するスネークチャートを示す図。
操作精緻度の予測値と実測値の関係を示す図。
第1因子の予測値と実測値の関係を示す図。
第2因子の予測値と実測値の関係を示す図。
試作品及び試験体を用いて測定したラウドネスの図。
ドアを閉めたときに関するスネークチャートを示す図。
音精緻度の予測値と実測値の関係を示す図。
ラッチ音の最大ラウドネスの周波数と形容詞対の関係を示す図。
【発明を実施するための形態】
(【0011】以降は省略されています)
この特許をJ-PlatPat(特許庁公式サイト)で参照する
関連特許
株式会社LIXIL
シャワー装置
18日前
株式会社LIXIL
二重窓の改装方法
24日前
株式会社LIXIL
ドア開閉装置及びドア
18日前
株式会社LIXIL
ポンプ、及び電気温水器システム
10日前
株式会社LIXIL
建具
10日前
株式会社LIXIL
開き窓
18日前
株式会社LIXIL
便器装置
10日前
株式会社LIXIL
情報出力方法、箱錠、ドア、情報出力装置及び情報出力プログラム
5日前
株式会社LIXIL
トイレ用キャビネット
10日前
株式会社LIXIL
ホームシステム、人物検出装置、人物検出方法および人物検出プログラム
10日前
株式会社LIXIL
評価装置、評価システム、ユーザ端末、評価方法、および評価プログラム
10日前
株式会社LIXIL
樹脂組成物成形体の製造方法
18日前
株式会社LIXIL
情報処理装置、サーバ、情報処理システム、情報処理方法および情報処理プログラム
18日前
株式会社セブン-イレブン・ジャパン
店舗営業支援システム
26日前
株式会社LIXIL
ホームシステム、トリガー発生装置、トリガー発生方法およびトリガー発生プログラム
26日前
株式会社LIXIL
枠ユニットおよび枠ユニットの施工方法
10日前
株式会社LIXIL
制御装置、制御システム、制御方法およびプログラム
10日前
個人
物品保管箱
3か月前
個人
防犯用ドア装置
4か月前
個人
ピンシリンダー錠。
5か月前
個人
顔認証による入室システム
5か月前
株式会社ベスト
軸釣装置
1か月前
個人
ポスト機能付き手提げ金庫
3か月前
個人
二重ロック機能付小物入れ
4か月前
株式会社ソリック
ドア装置
1か月前
三協立山株式会社
開口部装置
3か月前
ミサワホーム株式会社
錠受具
5か月前
リョービ株式会社
ドアクローザ
4か月前
株式会社アルファ
電気錠
4か月前
個人
無人貸金庫システム
2か月前
リョービ株式会社
ドアクローザ
4か月前
株式会社セリュール
電子錠、電気錠装置
26日前
株式会社セリュール
電子錠、電気錠装置
26日前
積水ハウス株式会社
引き戸
2か月前
株式会社ベスト
扉及び個室
2か月前
積水ハウス株式会社
引き戸
2か月前
続きを見る
他の特許を見る