TOP
|
特許
|
意匠
|
商標
特許ウォッチ
Twitter
他の特許を見る
10個以上の画像は省略されています。
公開番号
2025178199
公報種別
公開特許公報(A)
公開日
2025-12-05
出願番号
2025085928
出願日
2025-05-22
発明の名称
電気ドアロック装置
出願人
ピン ジーニー インコーポレイテッド
,
PIN GENIE INC
代理人
TRY国際弁理士法人
主分類
E05B
47/00 20060101AFI20251128BHJP(錠;鍵;窓または戸の付属品;金庫)
要約
【課題】本来であれば電子ドアロックでは使用されることのなかった標準的なドアノブを使用する際の柔軟性を提供する。
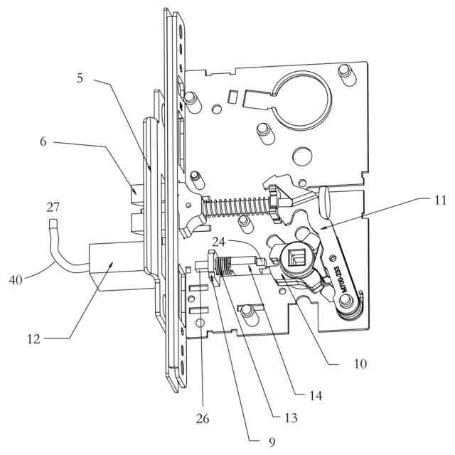
【解決手段】電子ドアロック装置及び電子ドアロックは、従来の電子ドアロック装置に対する制限である実際のドア内部ではなく、ドア枠のストライク板側に電子部品を設ける。電気配線接続は、任意のドアの使用における柔軟性を可能にするために、及び、ドアが開閉されたときのドア移動に起因する電気配線の切断を回避するために、ドア自体を関与させる必要はない。電磁拡張ブロックは、ドアノブがロックされたときにドアノブが回転するのを防止するために、カムをロックする補助ラッチを移動させる。カムは、ドアをロックするためにロック舌に係合するリンクストリップと接触している。代替的に、電磁気モジュールによって移動するブロッキングブロックは、カムをロックするために使用されてもよい。
【選択図】図1
特許請求の範囲
【請求項1】
電気ドアロック装置であって、
ストライクアセンブリとロック本体とを含み、
前記ストライクアセンブリは、電気モジュール又は電磁気パワーモジュールのいずれかとして作動するパワーモジュールを含み、
前記ロック本体は、
移動可能なカムであって、カムの中心はドアノブシャフトが挿通可能な穴を画定し、前記カムは、溝をさらに画定するカムと、
前記カムの溝に係合するための、前記パワーモジュールと前記カムとの間に配置されたカムロック部材と、
前記カムと接触するリンクストリップであって、リンクされたストラップの移動は、前記カムの移動によって制御されるリンクストリップと、
前記リンクストリップの移動によって制御されるロック舌機構であって、前記ロック舌機構は、ロック舌を有するロック舌本体と前記本体に配置されたロック舌ばねとを含み、前記ロック舌本体は前記リンクストリップと接触し、前記ロック舌は、前記ストライクアセンブリのドア枠ストライク板内に後退及び伸張することが可能であるロック舌機構と、を含み、
前記ドア枠内のドアが閉じられると、前記ロック舌は、前記ドア枠ストライク板内に伸張し、前記カムロック部材は、前記カムをロックして前記カムの移動を防止して前記ドアをロックした状態を維持するために、前記カムに向かって移動し、前記溝に係合する、ことを特徴とする装置。
続きを表示(約 2,700 文字)
【請求項2】
前記カムロック部材は、前記パワーモジュールに面する近位端と、前記カムに面する遠位端とをさらに含み、前記遠位端は、前記カムの溝に係合し、前記パワーモジュールを制御する電子キーをさらに含み、前記電子キーが入力されると、前記パワーモジュールは、前記カムロック部材の前記遠位端を前記カムの溝から離脱させて、前記カムが移動することを可能にし、前記ドアノブシャフトによる前記カムの移動は、前記リンクストリップを駆動して移動させ、前記リンクストリップは、前記ドアをロック解除するために、前記ロック舌を駆動して前記ストライクング板から後退させ、前記カムロック部材は、補助ラッチ又はブロッキングブロックであり、前記カムは、前記カムの中心を中心に回転可能であり、前記カムの前記中心は、ドアノブシャフトが挿通可能な穴を画定し、前記複数の突起は、前記カムが回転すると円形の方向性経路を移動し、前記カムは、水平又は垂直のいずれかに移動可能である、ことを特徴とする請求項1に記載の装置。
【請求項3】
前記パワーモジュールを制御する電子キーをさらに含み、前記電子キーが入力されると、前記パワーモジュールは、前記カムロック部材の前記遠位端を前記カムの溝から離脱させて、前記カムが移動することを可能にし、前記ドアノブシャフトによる前記カムの移動は、前記リンクストリップを駆動して移動させ、前記リンクストリップは、前記ドアをロック解除するために、前記ロック舌を駆動して前記ストライクング板から後退させ、前記カムロック部材は、補助ラッチ又はブロッキングブロックである、ことを特徴とする請求項2に記載の装置。
【請求項4】
前記パワーモジュールは、前記補助ラッチ用の電気モジュール、又は前記ブロッキングブロック用の電磁気モジュールであり、前記電気モジュールは、前記電気モジュールによって制御されるブロックをさらに含み、前記ブロックは、前記パワーモジュールに対して直線遠位方向及び直線近位方向に移動可能である、ことを特徴とする請求項3に記載の装置。
【請求項5】
前記ブロックは、前記電気モジュールの内部に配置され、前記補助ラッチの近位端と接触する拡張ブロックであり、前記ドアが閉じられると、前記拡張ブロックは、前記補助ラッチを移動させるために伸張し、前記補助ラッチの遠位端を前記カムの溝に係合させて前記カムをロックし、前記カムの移動を防止し、前記ドアをロックした状態に維持し、前記電子キーの入力後、前記拡張ブロックは前記電気モジュール内に後退し、前記補助ラッチの前記遠位端は前記カムの溝から離脱して、これにより、前記カムは移動し、前記リンクストリップを駆動して前記ロック舌を前記ストライク板から後退させて、前記ドアを開けることを可能にする、ことを特徴とする請求項4に記載の装置。
【請求項6】
前記ブロッキングブロックは、前記電磁気モジュールの外部に配置され、前記ドアが閉じられると、前記ブロッキングブロックの遠位端は、前記カムをロックして前記カムの移動を防止して前記ドアロックをロックした状態に維持するために、前記カムの溝内に突出し、前記電子キーの入力後、前記電磁気モジュールは、磁界を発生させて前記ブロッキングブロックの近位端を前記電磁気モジュールのより近くに移動させ、前記ブロッキングブロックの前記遠位端は前記カムの溝から離脱し、これにより、前記カムは回転し、前記リンクストリップを駆動して前記ロック舌を前記ストライク板から後退させて、前記ドアを開けることを可能にする、ことを特徴とする請求項4に記載の装置。
【請求項7】
前記ロック舌機構は、ロック舌ばねと、ロック舌位置決め板と、ロック舌キャップとをさらに含み、前記ロック舌ばねは、前記ロック舌位置決め板と接触し、前記リンクストリップは、前記ロック舌の制御された移動のために、前記ロック舌位置決め板と前記ロック舌キャップとの間に位置する、ことを特徴とする請求項1に記載の装置。
【請求項8】
前記カムロック部材は、ばねと、位置決め片とをさらに含み、前記カムロック部材が補助ラッチである場合、前記ばねは前記パワーモジュールのより近くに位置し、前記ばねが伸張すると、前記カムは移動可能とされ、前記カムロック部材がブロッキングブロックである場合、前記ばねは前記カムのより近くに位置し、前記ばねが伸張すると、前記カムは移動不能となる、ことを特徴とする請求項1に記載の装置。
【請求項9】
電気ドアロック装置であって、
電気モジュール又は電磁気モジュールと、
カムであって、前記カムの中心の周りを移動可能であり、挿通するドアノブシャフトを受け入れるカムと、
前記モジュールと前記カムとの間に配置され、前記カムに係合するためのカムロック部材と、
前記カムの移動によって制御されるロック舌機構と、を含み、
前記ドア枠内のドアが閉じられると、ロック舌がドア枠ストライク板内に伸張し、前記カムの移動が防止され、前記ドアがロックされた状態に維持される、ことを特徴とする装置。
【請求項10】
複数の突起と、リンクストリップと、電子キーとをさらに含み、
前記複数の突起は前記カムの周りにあり、前記カムが回転すると方向性経路を移動し、且つ、水平に移動するか又は垂直に移動し、
前記リンクストリップは、前記複数の突起と接触し、リンクされたストラップの移動は、前記カムの前記複数の突起の移動によって制御され、前記リンクストリップは、前記ロック舌機構を駆動し、
前記ロック舌機構は、前記ロック舌を有するロック舌本体と、前記本体に配置されたロック舌ばねとをさらに含み、前記ロック舌本体は、前記リンクストリップと接触し、前記ロック舌は、ドア枠ストライク板内に後退及び伸張することが可能であり、
前記電子キーは、前記ドアを開けるためのものであり、前記カムロック部材は前記カムの溝から後退し、前記カムは回転し、前記ロック舌を前記ドア枠ストライク板から後退させて前記ドアをロック解除することが可能にされ、
前記カムロック部材は、拡張ブロックによって駆動される補助ラッチ部材であり、前記パワーモジュールは電気パワーモジュールであるか、又は前記カムロック部材は、電磁力によって駆動されるブロッキングブロックであり、前記パワーモジュールは電磁気パワーモジュールである、ことを特徴とする請求項9に記載の装置。
(【請求項11】以降は省略されています)
発明の詳細な説明
【技術分野】
【0001】
本開示は、電気ドアロックの分野に関し、特に、ドアロックの代わりにドア枠側から、又はドアから給電される電気ドアロック装置及び電気ドアロックに関する。
続きを表示(約 2,300 文字)
【背景技術】
【0002】
スマート電子ドアロックは、商業施設や住宅施設において長年使用され、ある程度の成功を収めてきている。物理的なキーに依存せずにドアを開ける能力は、広く受け入れられている。また、一部のスマート電子ドアロックは、ユーザの利便性のためにリモートロックとロック解除の能力を提供している。さらに、スマート電子ドアロックのキーコードは、ユーザが迅速かつ簡単に変更することができる。物理的なロックやキーの変更には、ハードウェアの変更などのより複雑なプロセスが含まれる。また、物理的なキーは紛失する可能性があるが、スマート電子ドアロックは物理的なキーではなくキーコードや指紋などの生体認証インジケーターを使用できる。
【0003】
しかしながら、これらの利点にもかかわらず、現状技術のスマート電子ドアロックにはまだいくつかの欠点がある。例えば、多くの電子ドアロックは電池により給電され、ドアロック内の電池を定期的に交換する必要がある。また、充電されていない電池による電力喪失により、ユーザが建物から締め出されてしまう可能性がある。
【0004】
現状技術の電子ドアロックのもう1つの欠点は、電子回路や機械的モーター部分などの部品がドア及び/又はドアハンドルに配置されていることである。ドア内部のこれらの部品は、開閉時にドアが勢いよく閉まる動きによって損傷したり、機能を停止したりする可能性がある。
【0005】
さらに、現状技術のスマートロックでは、ドアノブやロック用のハードウェアが限られている。スマート電子ドアロックには特定のスマートロックに特化した専用のドアノブが必要であるため、標準的なドアノブや様々なデザインのドアノブは、現状技術の電子ドアノブで使用することができない。スマートロックドアノブのこの限定された設計は、建物所有者にとってのデザインの選択肢と美感に対する要件を制限する。
【0006】
また、電源に有線で接続された多くのスマートロック装置では、ドアを貫通させて配線を通すためにドアに穴を開ける必要がある。ドアに配線するための通路を開けることは、特に特定の要件がある防火ドアの場合は困難であり、場合によっては穴を開けることができない。ドア内の電子ロックへの配線には、カスタムドア又はその他のドアのカスタマイズが必要となる場合がある。建物の電力源又はその他の電力源に配線され、カスタマイズを必要とせずに標準的なドアノブや標準的なドアの使用を可能にするスマートロックが望ましいと考えられる。
【0007】
そのため、電子ロックへの配線を収容するためにドアに穴を開ける必要がなく、標準的なドアノブや標準的なドアの使用を可能にする電子スマートドアロックに対する大きなニーズが依然として存在する。また、スマートロックを連続電力源に配線し、ドアの開閉時にドアへの衝撃による電子ロック部品の損傷を回避する必要がある。
【発明の概要】
【0008】
本開示は、現状技術に存在する技術的課題の少なくとも1つを解決することを目的とし、さらに多くの利点を提供する。それに応じて、本開示は、建物の電力、太陽光発電、充電式リチウム電池電源、建物からではない外部電源、ロック装置の内部で発生した電力、ロック装置の接触式充電又は非接触式充電による無線充電、あるいはその他の信頼性の高い電力源を含むがこれらに限定されない電力源40によって給電される電子ドアロック装置を提供する。それにより、電子スマートロックの使用の継続及び全体的なユーザ体験を向上させる。
【0009】
本開示はまた、電子部品又はその少なくとも一部の部品が、実際のドアの内部ではなくドア枠のストライク板側にある電子ドアロック装置及び/又は電子ドアロックを提供する。この配置は、本来であれば電子ドアロックでは使用されることのなかった標準的なドアノブを使用する際の柔軟性を提供する。本開示の電気配線接続は、ストライク板を介して行われ、ドア自体を関与させる必要はない。この領域に配線を有することで、変更したり、電線の通過のために穴を開けたりすることなく、任意のドアを使用する際の柔軟性の向上を可能にする。また、部品及び配線をドアの外側に配置することにより、ドアの開閉時のドア移動による電気配線の切断や電気部品の損傷を回避する。
【0010】
一態様では、拡張ブロックは、ドアのドアノブがロックされたときに回転するのを防止するために、カムをロックする補助ラッチを移動させる。カムは、ドアをロックするためにロック舌に係合するリンクストリップと接触している。電子ドアロックは、電子キーが装置に入力されるとロック解除される。電子キーは、指紋、パスワード、ユーザインタフェース入力、無線トークン、キーカード、網膜スキャン、生体認証読み取り、顔認識技術、Nfc、Rfid、無線周波数遠隔制御などを含むが、これらに限定されない。電子キーの入力後、電気モジュールは、拡張ブロックを駆動して後退させ、補助ラッチばねは補助ラッチを伸張させる。補助ラッチは、ユーザがドアノブシャフトを回動させると、カムの溝から離脱して、カムが回転することを可能にする。カムの回転はリンクストリップを駆動して移動させ、リンクストリップは、ロック舌を駆動してストライク板から後退させて、ドアをロック解除する。
(【0011】以降は省略されています)
この特許をJ-PlatPat(特許庁公式サイト)で参照する
関連特許
個人
物品保管箱
3か月前
個人
防犯用ドア装置
4か月前
個人
顔認証による入室システム
5か月前
個人
ポスト機能付き手提げ金庫
3か月前
株式会社ベスト
軸釣装置
1か月前
個人
二重ロック機能付小物入れ
4か月前
株式会社ソリック
ドア装置
1か月前
三協立山株式会社
開口部装置
3か月前
リョービ株式会社
ドアクローザ
4か月前
株式会社アルファ
電気錠
4か月前
個人
無人貸金庫システム
2か月前
リョービ株式会社
ドアクローザ
4か月前
株式会社セリュール
電子錠、電気錠装置
27日前
トヨタ自動車株式会社
車両
1か月前
株式会社ベスト
扉及び個室
2か月前
日本発條株式会社
リッド開閉装置
6日前
積水ハウス株式会社
引き戸
2か月前
株式会社榮伸
カバン蓋の係止装置
3か月前
有限会社シティング
引き戸
2か月前
株式会社ベスト
開き扉の開閉装置
3か月前
積水ハウス株式会社
引き戸
2か月前
株式会社セリュール
電子錠、電気錠装置
27日前
コイト電工株式会社
蝶番の取付構造
2か月前
ミネベアショウワ株式会社
ドア装置
3か月前
美和ロック株式会社
IDキー
4か月前
ミネベアショウワ株式会社
ドア装置
3か月前
スズキ株式会社
車両用乗員保護装置
3か月前
朝日電装株式会社
車両用ロック装置
19日前
株式会社ユニオン
ドアハンドル
2か月前
株式会社LIXIL
建具
4か月前
タキゲン製造株式会社
電動ステー装置
5日前
神田工業株式会社
解錠システム
5か月前
株式会社アイシン
操作検出装置
13日前
株式会社ベスト
軸釣装置の上吊り手段
27日前
株式会社LIXIL
建具
3か月前
株式会社LIXIL
建具
2か月前
続きを見る
他の特許を見る