TOP
|
特許
|
意匠
|
商標
特許ウォッチ
Twitter
他の特許を見る
10個以上の画像は省略されています。
公開番号
2025169096
公報種別
公開特許公報(A)
公開日
2025-11-12
出願番号
2024074113
出願日
2024-04-30
発明の名称
電子錠、電気錠装置
出願人
株式会社セリュール
代理人
主分類
E05B
65/10 20060101AFI20251105BHJP(錠;鍵;窓または戸の付属品;金庫)
要約
【課題】火災が発生時、避難や救援の為に、施錠された電子錠もしくは電気錠を解錠する必要性がある。
【解決手段】
デッドボルトが取り付けられているベースプレート・アセンブリは、火災時の高温で回転するのを抑えている形状記憶合金製プレートが変形することによりホルダーピンを軸に回動し、デッドボルトが、玄関ドア枠凸部から外れて解錠となる。
【選択図】図4
特許請求の範囲
【請求項1】
形状記憶合金製の部品を用い、火災時の高温で内部メカ構造の取り付けが回転し、施錠状態を解錠する機能を有する電子錠装置、もしくは電気錠装置。
続きを表示(約 96 文字)
【請求項2】
温度センサーなど高温検出部品を用い、火災時の高温で温度センサーが反応すると、デッドボルトを回転させ施錠状態を解錠する機能を有する電子錠装置、もしくは電気錠装置。
発明の詳細な説明
【技術分野】
【0001】
本発明は、電子錠もしくは電気錠の動作に関する。
続きを表示(約 1,100 文字)
【背景技術】
【0002】
玄関ドアに設置される電子錠もしくは電気錠に於いて、扉が閉まった際にオートで施錠されるのが基本であるが、火災などの緊急の場合においても鍵が施錠されているので、緊急避難もしくは救援の際に扉の施錠を解錠する必要がある。
【先行技術文献】
【特許文献】
【0003】
特開2021ー179140号公報。
特開2016ー145480号公報。
“REMOCK”、[online]、有限会社山本商事(YAMAMOTO SHOJI Corporation)、[令和2年5月1日検索]。
【発明の概要】
【発明が解決しようとする課題】
【0004】
火災が発生時、避難や救援の為に、施錠された電子錠もしくは電気錠を解錠する必要性がある。
【課題を解決するための手段】
【0005】
ドア枠にデッドボルトが引っかかりドアが施錠状態だったのが、火災時に玄関内温度が高温になると、ベースプレートが回転移動するのを抑えている形状記憶合金製のプレートが変形しベースプレートが回転し、解錠されることを特徴とする電子錠、もしくは電気錠装置。
【発明の効果】
【0006】
本発明の電子錠の設置で、扉に大掛かりな工事を必要とせず火災緊急時に対応できる。
【0007】
本発明の電気錠の設置で、扉に大掛かりな工事を必要とせず火災緊急時に対応できる。
【図面の簡単な説明】
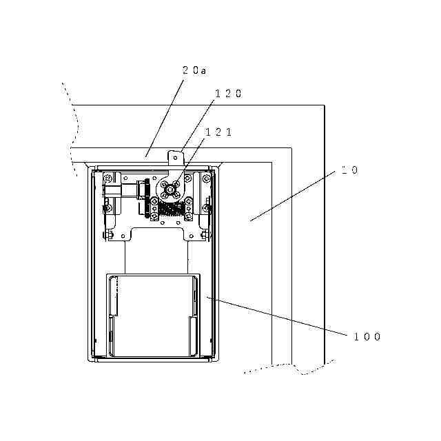
【0008】
本発明の実施形態に於ける電子錠の外観斜視図。
玄関ドアに設置された本発明の電子錠の室内側から見た正面図。
図2での本発明の電子錠周囲の拡大図。
図2での断面A-A図。
図4での詳細“B”の拡大図。
玄関ドアの外側から見た斜視図。
本発明の電子錠の施錠時の平面図。
本発明の電子錠の解錠時の平面図。
本発明の電子錠の上カバーと下ケースを外した時の斜視図。
フレームと保持プレートの関係斜視図。
火災時のデースプレート・アセンブリの回転による解錠構成斜視図。
【0009】
本説明において、電池を使って駆動する電子錠を、電子錠と定義し、電子錠と表記する。
【0010】
本説明における電子錠とは、扉に穴加工やネジ止め加工を行い簡易に取り外しや移設ができないものや、以下の構造説明で表示される扉に穴加工やネジ止め加工を不要とし簡易に取り外しや移設ができるもの、両方をいう。
(【0011】以降は省略されています)
この特許をJ-PlatPat(特許庁公式サイト)で参照する
関連特許
株式会社ベスト
軸釣装置
1か月前
株式会社ソリック
ドア装置
1か月前
個人
無人貸金庫システム
2か月前
株式会社ベスト
扉及び個室
2か月前
日本発條株式会社
リッド開閉装置
4日前
株式会社セリュール
電子錠、電気錠装置
25日前
株式会社セリュール
電子錠、電気錠装置
25日前
積水ハウス株式会社
引き戸
2か月前
トヨタ自動車株式会社
車両
1か月前
朝日電装株式会社
車両用ロック装置
17日前
コイト電工株式会社
蝶番の取付構造
1か月前
株式会社アイシン
ドア支持装置
1か月前
株式会社アイシン
操作検出装置
11日前
株式会社ベスト
軸釣装置の上吊り手段
25日前
タキゲン製造株式会社
電動ステー装置
3日前
株式会社LIXIL
建具
2か月前
株式会社アイシン
車両用ドア装置
1か月前
株式会社アイシン
車両用ドア装置
2か月前
スガツネ工業株式会社
上吊式引戸
1か月前
株式会社アイシン
車両用ドア装置
2か月前
芝浦電子工業株式会社
遠隔解錠システム
1か月前
株式会社LIXIL
シリンダ錠
2か月前
株式会社パイオラックス
回転アクチュエータ
9日前
株式会社アイシン
キックセンサ
1か月前
大和ハウス工業株式会社
間仕切り機構
2か月前
富士電機株式会社
制御装置、制御方法
1か月前
ミネベアショウワ株式会社
引戸用ストライク
1か月前
トヨタ自動車株式会社
方法
1か月前
ミネベアミツミ株式会社
ドアラッチ装置
1か月前
三和シヤッター工業株式会社
建具
1か月前
株式会社ノムラテック
錠装置
17日前
株式会社アイシン
車両用ドア装置
1か月前
株式会社大林組
障子および障子の組付構造
3日前
株式会社アルファ
ハンドル装置
1か月前
敷島金属工業株式会社
ダイヤル錠
1か月前
株式会社オカムラ
移動間仕切装置
2か月前
続きを見る
他の特許を見る