TOP
|
特許
|
意匠
|
商標
特許ウォッチ
Twitter
他の特許を見る
10個以上の画像は省略されています。
公開番号
2025168719
公報種別
公開特許公報(A)
公開日
2025-11-12
出願番号
2024073407
出願日
2024-04-30
発明の名称
軸釣装置の上吊り手段
出願人
株式会社ベスト
代理人
個人
主分類
E05D
7/081 20060101AFI20251105BHJP(錠;鍵;窓または戸の付属品;金庫)
要約
【課題】 施工性及び低コストを実現可能であるとともに、開き扉の落下を防止することが可能となる軸釣装置の上吊り手段を提供する。
【解決手段】
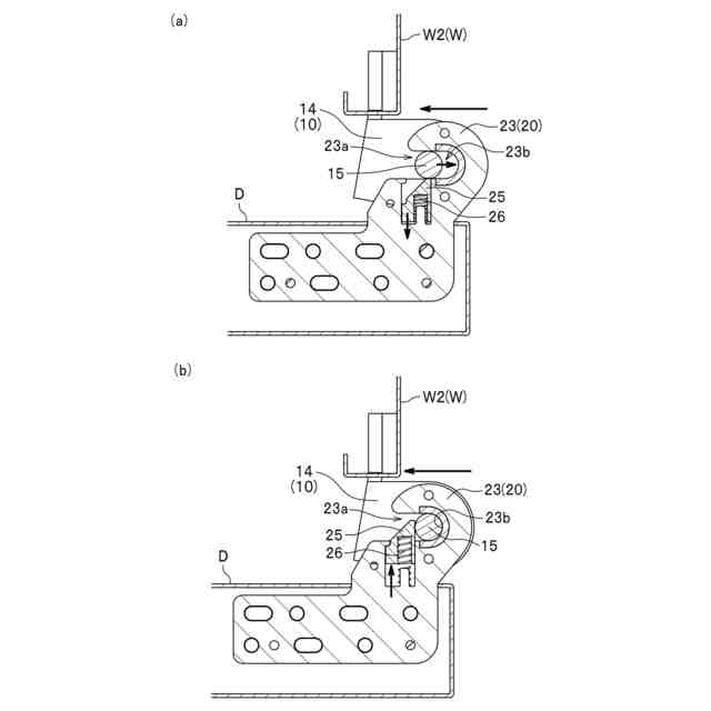
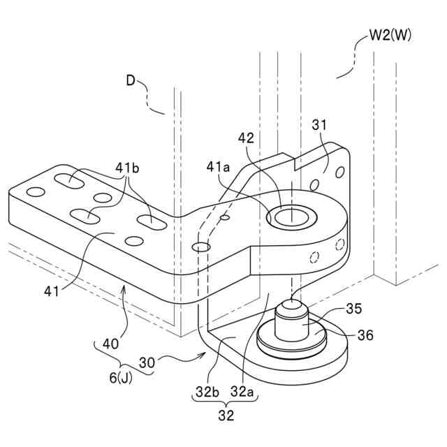
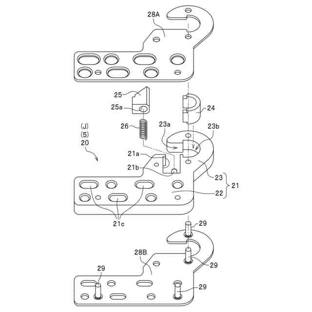
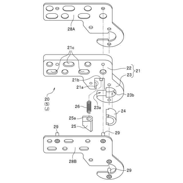
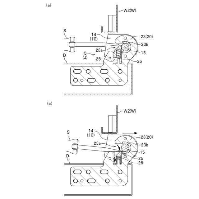
上側ピボット軸15と、下側ピボット軸35とを支軸として、開き扉Dを扉枠Wに回動可能に軸釣する軸釣装置Jにおいて、上側ピボット軸15が設けられている上側支持具10と、上側ピボット軸15の抜止具20とを備えている。抜止具20は、基体21と抜出防止体25とを有しており、基体21には上側ピボット軸15の保持部23bが形成されているとともに、保持部23bが開閉自在となるように、抜出防止体25が設けられている。上側ピボット軸15の抜止具20は、開き扉Dから突設されるとともに、上側支持具10の上方に設けられており、上側支持具10により抜止具20を下方から支持可能となっている。
【選択図】 図2
特許請求の範囲
【請求項1】
上側のヒンジ部を有する上吊り手段と、下側のヒンジ部を有する下吊り手段と、を備え、
前記上側のヒンジ部に設けられている上側ピボット軸と、前記下側のヒンジ部に設けられている下側ピボット軸と、を支軸として、少なくとも上枠、左縦枠及び右縦枠を有する扉枠に回動自在に軸釣する軸釣装置における、前記軸釣装置の構成要素である前記上吊り手段であって、
前記左縦枠又は前記右縦枠において、前記左縦枠又は前記右縦枠から突設され、先端が上向きとなるように前記上側ピボット軸が設けられている支持具と、
前記開き扉の上縁部に設けられている前記上側ピボット軸の抜止具と、を備え、
前記上側ピボット軸の抜止具は、
基体と、前記上側ピボット軸の抜出防止体とを有し、
前記基体には前記上側ピボット軸の保持部が形成されているとともに、
前記保持部が開閉自在となるように、前記抜出防止体が設けられているものであり、
前記上側ピボット軸の抜止具は、前記開き扉から突設されるとともに、前記支持具の上方に設けられており、前記支持具により、前記上側ピボット軸の抜止具を下方から支持可能とすることより、落扉防止機能を奏するように構成されていること、を特徴とする軸釣装置の上吊り手段。
続きを表示(約 180 文字)
【請求項2】
前記上側ピボット軸の抜出防止体は、
前記保持部を閉鎖する向きに付勢力を付与する付勢手段を備えており、
前記上側ピボット軸の前記保持部への侵入時に前記保持部を解放可能であり、
前記上側ピボット軸の前記保持部への侵入終了時に前記保持部を閉塞可能となるように構成されていること、を特徴とする請求項1に記載の軸釣装置の上吊り手段。
発明の詳細な説明
【技術分野】
【0001】
本発明は、上下ヒンジ部に設けられているピボット軸を支軸として開き扉を扉枠に回動可能に軸釣する軸釣装置において、上ヒンジ部を構成する上吊り手段に関する。
続きを表示(約 2,400 文字)
【背景技術】
【0002】
従来から、外観を考慮した開き扉用のヒンジ装置として、上下のヒンジ部に備えたピボット軸で開き扉を軸支して回動可能に扉枠の上下隅部に吊り込む、ピボットヒンジ型の軸釣装置が使用されている。
【0003】
上記軸釣装置に関し、出願人は、上側のヒンジ部を有する上吊り手段と、下側のヒンジ部を有する下吊り手段と、を備え、上側のヒンジ部に設けられている上側ピボット軸と、下側のヒンジ部に設けられている下側ピボット軸と、を支軸として、開き扉を扉枠に回動可能に軸釣する軸釣装置において、その構成要素である上吊り手段を提案している。この上吊り手段は、扉枠に取り付けられ、上側ピボット軸が設けられている支持具と、開き扉の上縁部に設けられている上側ピボット軸の抜止具と、を備えている。そして、抜止具は、基体と、上側ピボット軸の抜け出しを防止するための抜出防止体と、を有しており、基体には上側ピボット軸を挟持するための保持部が形成されているとともに、保持部の開口部が開閉自在となるように、抜出防止体が設けられていることを特徴としている(特許文献1)。
【0004】
また、上部扉側ピボットと上部枠側ピボットさらには下部扉側ピボットと下部枠側ピボットとからなり、各々のピボットを枠体と扉の吊元側上下に振り分けて配置しておき、下部枠側ピボットに下部扉側ピボットを嵌め込み、上部扉側ピボットと上部枠側ピボットを、上部軸を介して互いに嵌め込むことで扉を枠体に回動自在に吊り込むことができるピボットヒンジであって、枠側上プレートに先端側の大径部分と根元側の小径部分を有する段付き形状の上部軸を下向きに配置して上部枠側ピボットを形成し、内径が上下位置範囲にて小径部分と大径部分に設定された略U字溝とその開口部を塞ぐ方向に移動可能な蓋部材をあらかじめ連結させた軸受け部材を扉側上プレートに配置して上部扉側ピボットを形成し、上部軸と軸受け部材の略U字溝を嵌め込んだ後に蓋部材を垂直方向の面上にて回転移動させて開口部を塞ぐことで扉を吊り込み可能としたことを特徴とするピボットヒンジが存在している(特許文献2)
【先行技術文献】
【特許文献】
【0005】
特開2023-31905号公報
特開2016-211199号公報
【発明の概要】
【発明が解決しようとする課題】
【0006】
しかし、従来の上記軸釣装置の上吊り手段を屋外の開き扉に使用する場合には、軸釣装置の一部が腐食等をし、開き扉が落下するおそれがあった。
また、従来の上記ピボットヒンジは、枠側上プレートに上部軸を下向きに配置して上部枠側ピボットを形成し、軸受け部材を扉側上プレートに配置して上部扉側ピボットを形成していることから、開き扉の重量が重い場合には、効果的に落下を防止することができないおそれがあった。
【0007】
本発明は、上記問題点を解決するためになされたものであり、施工性及び低コストを実現可能であるとともに、開き扉の落下を防止することが可能となる軸釣装置の上吊り手段を提供することを課題としている。
【課題を解決するための手段】
【0008】
上記目的を達成するために、本発明は、上側のヒンジ部を有する上吊り手段と、下側のヒンジ部を有する下吊り手段と、を備え、上記上側のヒンジ部に設けられている上側ピボット軸(回動軸)と、上記下側のヒンジ部に設けられている下側ピボット軸(回動軸)と、を支軸として、少なくとも上枠、左縦枠及び右縦枠を有する扉枠(下枠を有していてもよい)に回動自在に軸釣する軸釣装置における、上記軸釣装置の構成要素である上記上吊り手段であって、上記左縦枠又は上記右縦枠において、上記左縦枠又は上記右縦枠から突設され、先端が上向きとなるように上記上側ピボット軸が設けられている支持具と、上記開き扉の上縁部に設けられている上記上側ピボット軸の抜止具と、を備え、上記上側ピボット軸の抜止具は、基体と、上記上側ピボット軸の抜け出しを防止するための抜出防止体とを有し、上記基体には上記上側ピボット軸の保持部が形成されているとともに、上記保持部(の入口部)が開閉自在となるように、上記抜出防止体が設けられているものであり、上記上側ピボット軸の抜止具は、上記開き扉から突設されるとともに、上記支持具の上方に設けられており、上記支持具により、上記上側ピボット軸の抜止具を下方から支持可能とすることより、落扉防止機能を奏するように構成されており、上記上側ピボット軸は、上記保持部に回動自在に保持され、上記抜出防止体は、上記下側ピボット軸の保持部への侵入時には保持部の内部に移動可能であり、上記下側ピボット軸が上記保持部から移動することを制限可能となるように設けられていること、を特徴とする上吊り手段(以下、本発明を「本上吊り手段」という場合がある。)を提供するものである。
【0009】
ここで、本上吊り手段は、軸釣装置の構成要素であり、軸釣装置は、上吊り手段と下吊り手段における上下のヒンジ部に設けられている上側及び下側のピボット軸を支軸として、開き扉を扉枠に回動可能に軸釣できる構造であれば、適宜の構造を採用することができる。
特に、下吊り手段は、ピボット軸を回動自在に軸支できる構造であればよく、縦孔、立体カム、軸受及び凹部並びに他の構成要素を組み合わせることにより構成することができる。
【0010】
また、扉及び扉枠の形状等についても制限はない。
また、上下のヒンジ部及び各ピボット軸の形態、並びに、本上吊り手段及び下吊り手段の開き扉及び扉枠への取り付け位置についても適切に定めることができる。
(【0011】以降は省略されています)
この特許をJ-PlatPat(特許庁公式サイト)で参照する
関連特許
株式会社ベスト
軸釣装置の上吊り手段
26日前
株式会社ベスト
軸釣装置の上吊り手段
3日前
個人
物品保管箱
3か月前
個人
防犯用ドア装置
4か月前
個人
二重ロック機能付小物入れ
4か月前
株式会社ベスト
軸釣装置
1か月前
個人
ポスト機能付き手提げ金庫
3か月前
株式会社ソリック
ドア装置
1か月前
三協立山株式会社
開口部装置
3か月前
個人
無人貸金庫システム
2か月前
株式会社アルファ
電気錠
4か月前
リョービ株式会社
ドアクローザ
4か月前
リョービ株式会社
ドアクローザ
4か月前
株式会社ベスト
扉及び個室
2か月前
積水ハウス株式会社
引き戸
2か月前
株式会社ベスト
開き扉の開閉装置
3か月前
株式会社セリュール
電子錠、電気錠装置
26日前
株式会社榮伸
カバン蓋の係止装置
3か月前
トヨタ自動車株式会社
車両
1か月前
株式会社セリュール
電子錠、電気錠装置
26日前
日本発條株式会社
リッド開閉装置
5日前
積水ハウス株式会社
引き戸
2か月前
有限会社シティング
引き戸
2か月前
スズキ株式会社
車両用乗員保護装置
3か月前
ミネベアショウワ株式会社
ドア装置
3か月前
美和ロック株式会社
IDキー
4か月前
ミネベアショウワ株式会社
ドア装置
3か月前
朝日電装株式会社
車両用ロック装置
18日前
コイト電工株式会社
蝶番の取付構造
1か月前
株式会社LIXIL
建具
3か月前
株式会社アイシン
操作検出装置
12日前
株式会社アイシン
ドア支持装置
1か月前
株式会社ユニオン
ドアハンドル
2か月前
タキゲン製造株式会社
電動ステー装置
4日前
株式会社LIXIL
建具
4か月前
株式会社LIXIL
建具
2か月前
続きを見る
他の特許を見る