TOP
|
特許
|
意匠
|
商標
特許ウォッチ
Twitter
他の特許を見る
10個以上の画像は省略されています。
公開番号
2025171148
公報種別
公開特許公報(A)
公開日
2025-11-20
出願番号
2024076190
出願日
2024-05-08
発明の名称
車両用ロック装置
出願人
朝日電装株式会社
代理人
個人
主分類
E05B
83/30 20140101AFI20251113BHJP(錠;鍵;窓または戸の付属品;金庫)
要約
【課題】操作手段の操作によりロックの解除及び蓋部材の開放を容易に行わせることができる車両用ロック装置を提供する。
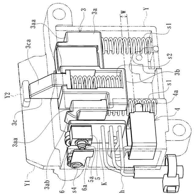
【解決手段】蓋部材Hに取り付けられて操作者によって操作可能とされた操作レバー2と、係止位置と許容位置との間で移動するスライド手段3と、スライド手段3をロックし、又はロックを解除し得るソレノイド4と、操作レバー2の操作に伴うスライド手段3の移動開始を検知可能な検知スイッチ5とを具備し、所定の条件に加え、検知スイッチ5がスライド手段3の移動開始を検知したことを条件として、ソレノイド4によるロックを解除させる車両用ロック装置1であって、スライド手段3を係止位置と許容位置との間で移動可能な状態で収容するユニットケースYを具備するとともに、ユニットケースYには、ソレノイド4及び検知スイッチ5が収容されたものである。
【選択図】図7
特許請求の範囲
【請求項1】
車両に形成された収容部の収容空間を塞いだ閉塞位置と前記収容空間を開放した開放位置との間で移動可能な蓋部材と、
操作者によって操作可能とされた操作手段と、
前記操作手段の操作に連動して移動可能とされるとともに、前記蓋部材が前記閉塞位置にある状態を保持する係止位置と、前記蓋部材が前記開放位置に移動するのを許容する許容位置との間で移動するスライド手段と、
前記スライド手段の前記係止位置から前記許容位置への動作をロックし、又は当該ロックを解除して前記スライド手段の前記係止位置から前記許容位置への動作を許容し得るロック手段と、
前記操作手段の操作に伴う前記スライド手段の移動開始を検知可能な検知スイッチと、
を具備し、所定の条件に加え、前記検知スイッチが前記スライド手段の移動開始を検知したことを条件として、前記ロック手段によるロックを解除させる車両用ロック装置であって、
前記スライド手段を前記係止位置と許容位置との間で移動可能な状態で収容するユニットケースを具備するとともに、当該ユニットケースには、前記ロック手段及び検知スイッチが収容されたことを特徴とする車両用ロック装置。
続きを表示(約 970 文字)
【請求項2】
前記ユニットケースは、前記蓋部材に取り付けられたことを特徴とする請求項1記載の車両用ロック装置。
【請求項3】
前記スライド手段は、前記操作手段の操作に連動して移動する第1スライド部と、前記第1スライド部と一体的に移動して前記ロック手段によるロック又はアンロックが可能とされた第2スライド部と、前記第2スライド部に取り付けられて前記蓋部材を係止する係止部とを有するとともに、前記係止部は、前記第1スライド部及び第2スライド部に対して独立して移動可能とされたことを特徴とする請求項1記載の車両用ロック装置。
【請求項4】
前記スライド手段は、前記第1スライド部で受けた操作力を前記第2スライド部に伝達して前記第1スライド部及び第2スライド部を一体的に移動可能とするとともに、所定以上の負荷が生じたとき、当該負荷を逃がして前記第1スライド部で受けた操作力を前記第2スライド部に伝達しない過負荷防止部を具備したことを特徴とする請求項3記載の車両用ロック装置。
【請求項5】
前記スライド手段は、前記検知スイッチにより移動開始が検知された後、前記ロック手段によるロック位置まで所定寸法移動する構成とされたことを特徴とする請求項1記載の車両用ロック装置。
【請求項6】
前記検知スイッチは、マイクロスイッチから成るとともに、一端部が前記マイクロスイッチの検出部に対峙し、且つ、他端部が前記スライド手段の所定部位に当接した伝達部材を有することを特徴とする請求項1記載の車両用ロック装置。
【請求項7】
運転者が携帯し得るとともに車両固有のIDコードを発信する発信手段と、
車両側に配設されて前記発信手段からのIDコードを受信し得る受信手段と、
前記受信手段で受信したIDコードが当該車両における正規のものであるか否かを判定する判定手段と、
を備えるとともに、前記判定手段により正規のIDコードを受信したと判定されたことを前記所定の条件とし、且つ、前記検知スイッチにより前記スライド手段の移動開始が検知されたことを条件として、前記ロック手段によるロックを解除させることを特徴とする請求項1~5の何れか1つに記載の車両用ロック装置。
発明の詳細な説明
【技術分野】
【0001】
本発明は、車両に形成された収容部の収容空間を開閉するための蓋部材をロック又はロック解除可能とされた車両用ロック装置に関するものである。
続きを表示(約 1,800 文字)
【背景技術】
【0002】
二輪車等の車両用ロック装置として、車両のフロント等の所定位置に荷物を収容可能な収容部(フロントボックス等)が形成され、その収容部の収容空間を塞ぐ蓋部材が取り付けられたものに適用されたものがある。かかる収容部の収容空間には、運転者の荷物を任意に収容可能とされており、例えば特許文献1にて開示されているように、蓋部材をメカキーにてロック(施錠)することにより、第三者による蓋部材の開放及び荷物の不正な持ち出しを防止していた。
【先行技術文献】
【特許文献】
【0003】
特開2003-285692号公報
【発明の概要】
【発明が解決しようとする課題】
【0004】
しかしながら、上記従来技術においては、収容空間に対する荷物の収容や取出しのためロックを解除して蓋部材を開放する場合、メカキーによる手動操作にてロックを解除した後、操作レバー等の操作手段を操作して蓋部材を開放する必要があり、蓋部材の開放操作が煩わしいという不具合がある。このため、本出願人は、メカキーを不要とするとともに、操作手段の操作によりロックの解除及び蓋部材の開放を可能とするロック装置を鋭意検討するに至った。
【0005】
本発明は、このような事情に鑑みてなされたもので、操作手段の操作によりロックの解除及び蓋部材の開放を容易に行わせることができる車両用ロック装置を提供することにある。
【課題を解決するための手段】
【0006】
請求項1記載の発明は、車両に形成された収容部の収容空間を塞いだ閉塞位置と前記収容空間を開放した開放位置との間で移動可能な蓋部材と、操作者によって操作可能とされた操作手段と、前記操作手段の操作に連動して移動可能とされるとともに、前記蓋部材が前記閉塞位置にある状態を保持する係止位置と、前記蓋部材が前記開放位置に移動するのを許容する許容位置との間で移動するスライド手段と、前記スライド手段の前記係止位置から前記許容位置への動作をロックし、又は当該ロックを解除して前記スライド手段の前記係止位置から前記許容位置への動作を許容し得るロック手段と、前記操作手段の操作に伴う前記スライド手段の移動開始を検知可能な検知スイッチとを具備し、所定の条件に加え、前記検知スイッチが前記スライド手段の移動開始を検知したことを条件として、前記ロック手段によるロックを解除させる車両用ロック装置であって、前記スライド手段を前記係止位置と許容位置との間で移動可能な状態で収容するユニットケースを具備するとともに、当該ユニットケースには、前記ロック手段及び検知スイッチが収容されたことを特徴とする。
【0007】
請求項2記載の発明は、請求項1記載の車両用ロック装置において、前記ユニットケースは、前記蓋部材に取り付けられたことを特徴とする。
【0008】
請求項3記載の発明は、請求項1記載の車両用ロック装置において、前記スライド手段は、前記操作手段の操作に連動して移動する第1スライド部と、前記第1スライド部と一体的に移動して前記ロック手段によるロック又はアンロックが可能とされた第2スライド部と、前記第2スライド部に取り付けられて前記蓋部材を係止する係止部とを有するとともに、前記係止部は、前記第1スライド部及び第2スライド部に対して独立して移動可能とされたことを特徴とする。
【0009】
請求項4記載の発明は、請求項3記載の車両用ロック装置において、前記スライド手段は、前記第1スライド部で受けた操作力を前記第2スライド部に伝達して前記第1スライド部及び第2スライド部を一体的に移動可能とするとともに、所定以上の負荷が生じたとき、当該負荷を逃がして前記第1スライド部で受けた操作力を前記第2スライド部に伝達しない過負荷防止部を具備したことを特徴とする。
【0010】
請求項5記載の発明は、請求項1記載の車両用ロック装置において、前記スライド手段は、前記検知スイッチにより移動開始が検知された後、前記ロック手段によるロック位置まで所定寸法移動する構成とされたことを特徴とする。
(【0011】以降は省略されています)
この特許をJ-PlatPat(特許庁公式サイト)で参照する
関連特許
株式会社ベスト
軸釣装置
17日前
株式会社ソリック
ドア装置
25日前
株式会社セリュール
電子錠、電気錠装置
9日前
トヨタ自動車株式会社
車両
28日前
株式会社セリュール
電子錠、電気錠装置
9日前
朝日電装株式会社
車両用ロック装置
1日前
コイト電工株式会社
蝶番の取付構造
1か月前
株式会社ベスト
軸釣装置の上吊り手段
9日前
株式会社アイシン
ドア支持装置
1か月前
スガツネ工業株式会社
上吊式引戸
14日前
芝浦電子工業株式会社
遠隔解錠システム
22日前
株式会社アイシン
車両用ドア装置
1か月前
富士電機株式会社
制御装置、制御方法
22日前
株式会社アイシン
キックセンサ
14日前
ミネベアショウワ株式会社
引戸用ストライク
24日前
株式会社LIXIL
シリンダ錠
1か月前
ミネベアミツミ株式会社
ドアラッチ装置
1か月前
トヨタ自動車株式会社
方法
28日前
株式会社ノムラテック
錠装置
1日前
株式会社アイシン
車両用ドア装置
14日前
三和シヤッター工業株式会社
建具
1か月前
株式会社アルファ
ハンドル装置
14日前
敷島金属工業株式会社
ダイヤル錠
1か月前
三和シヤッター工業株式会社
錠装置の取付構造
22日前
ショウタイム24株式会社
オートロック解除システム
22日前
日本自動ドア株式会社
自動ドア開閉装置
22日前
日立建機株式会社
作業機械
15日前
株式会社LIXIL
ドア開閉装置及びドア
1日前
有限会社ヒューマン日商電機
木製ドアストッパー
17日前
積水ハウス株式会社
ドア用解施錠装置及び建築物
1か月前
株式会社東海理化電機製作所
ロック装置
15日前
千蔵工業株式会社
自動ドア
7日前
ケージーパルテック株式会社
戸車走行床用レールおよび建具
1か月前
タキゲン製造株式会社
ロックアウトシステム用多重ロック装置
2日前
トヨタ自動車株式会社
制御装置及び車両
14日前
河村電器産業株式会社
収納箱の扉の係止構造
1か月前
続きを見る
他の特許を見る