TOP
|
特許
|
意匠
|
商標
特許ウォッチ
Twitter
他の特許を見る
10個以上の画像は省略されています。
公開番号
2025136564
公報種別
公開特許公報(A)
公開日
2025-09-19
出願番号
2024035227
出願日
2024-03-07
発明の名称
宅配ボックス用の錠装置
出願人
株式会社ナガエ
代理人
個人
主分類
E05B
65/00 20060101AFI20250911BHJP(錠;鍵;窓または戸の付属品;金庫)
要約
【課題】宅配業者等が操作を誤る可能性が低く、宅配業者等及び荷受人にとって使い勝手が良い宅配ボックス用の錠装置を提供する。
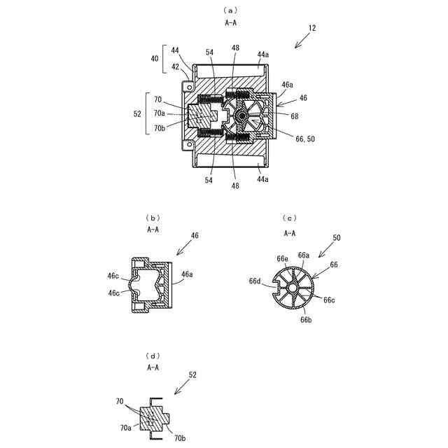
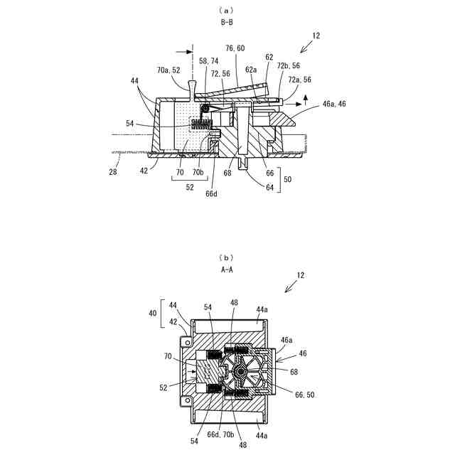
【解決手段】錠ユニット12は、閉扉位置と開扉位置との間を移動可能なラッチ46と、ラッチ46を閉扉位置の方向に付勢するラッチ付勢バネ48とを備える。摘み部64と摘み部64に連動して回動する可動部64とを有した第一の操作部材50を備え、第一の操作部材50は、ラッチ付勢バネ48により、初期位置に保持されるように付勢される。本体であるスライダ部70の表面にロック用係合部70bが突設されてロック位置とロック解除位置との間を移動可能な第二の操作部材52と、第二の操作部材52をロック解除位置の方向に付勢する第二の付勢バネ54とを備える。ロック位置に移動した第二の操作部材52がロック解除位置に戻れないようにロックするロック機構88を備える。
【選択図】図1
特許請求の範囲
【請求項1】
前面、側面、後面及び側面が順に連続する筒状体の上下の端部を閉鎖した構造のボックス本体と、前記前面に設けられ、前記ボックス本体の中に荷物等を入れる時に開閉される前扉と、前記後面に設けられ、前記ボックス本体の中から前記荷物等を取り出す時に開閉される後扉とを備えた宅配ボックスに取り付けて使用される錠装置であって、前記前扉を施解錠するために使用される宅配ボックス用の錠装置において、
前記前扉に取り付けられる錠ユニットと、前記ボックス本体の片方の前記側面の内面側に取り付けられるロック解除ユニットとを備え、
前記錠ユニットは、前記前扉が開かれるのを阻止する閉扉位置と前記前扉が開かれるのを阻止しない開扉位置との間を移動可能なラッチと、前記ラッチを前記閉扉位置の方向に付勢するラッチ付勢バネと、使用者に回転操作される摘み部と前記摘み部に連動して回動する可動部とを有した第一の操作部材と、前記第一の操作部材の前記摘み部及び前記可動部が初期位置に保持されるように前記可動部を付勢する第一の付勢バネと、本体であるスライダ部の表面にロック用係合部が突設された部材であって、使用者に操作されてロック位置とロック解除位置との間を移動可能な第二の操作部材と、前記第二の操作部材を前記ロック解除位置の方向に付勢する第二の付勢バネと、前記第二の操作部材が前記ロック解除位置から前記ロック位置に移動した時に、当該第二の操作部材が前記ロック解除位置に戻れないようにロックするロック機構とを備え、前記の各部材の中で、前記摘み部が前記前扉の外面側に配置され、その他の部材が前記前扉の内面側に配置されるように、前記前扉に取り付けて使用されるものであり、
前記ロック解除ユニットは、前記後扉の状態を検知し、前記後扉が開くと前記ロック機構によるロックを解除する機構を備えたユニットであり、
前記錠ユニット及び前記ロック解除ユニットが前記ボックス本体に取り付けられて前記前扉及び前記後扉が閉じられた状態であって、前記第二の操作部材が、前記第二の付勢バネの付勢により前記ロック解除位置に保持され、前記第一の操作部材の前記摘み部及び前記可動部が、前記第一の付勢バネの付勢により前記初期位置に保持され、前記ラッチが、前記ラッチ付勢バネの付勢により前記閉扉位置に保持されている状態を第一の閉鎖状態と定義し、
前記錠ユニット及び前記ロック解除ユニットが前記ボックス本体に取り付けられて前記前扉及び前記後扉が閉じられた状態であって、前記ロック機構が動作することによって、前記第二の操作部材が、前記第二の付勢バネの付勢に抗して前記ロック位置に保持され、前記可動部の特定部位に前記ロック用係合部が係合することにより、前記摘み部及び前記可動部が前記初期位置に保持され、前記ラッチが、前記ラッチ付勢バネの付勢により前記閉扉位置に保持されている状態を第二の閉鎖状態と定義したとき、
前記第一の閉鎖状態から前記摘み部が回転操作され、これに連動して前記可動部が前記初期位置から変位すると、前記可動部の特定部位が前記ラッチの特定部位に当接又は摺接し、前記ラッチが前記可動部に押されて前記開扉位置に移動して前記扉を開くことが可能になり、
前記扉が開かれた後、前記摘み部及び前記可動部が前記初期位置に戻った状態で、前記第二の操作部材を前記ロック位置に移動させるロック操作が行われると、前記ロック機構が動作することによって、前記第二の操作部材が前記ロック解除位置に戻らないようにロックされるとともに、前記ロック用係合部が前記可動部の特定部位に係合することによって、前記可動部及び前記摘み部が回動できないようにロックされ、
前記ロック操作が行われた後、前記前扉を閉じる操作が行われると、前記第二の閉鎖状態となり、
前記第二の閉鎖状態から前記後扉を開く操作が行われると、前記ロック解除ユニットが動作することによって、前記ロック機構による前記第二の操作部材のロックが解除され、
前記第二の付勢バネの付勢により前記第二の操作部材が前記ロック解除位置に移動することによって、前記摘み部及び前記可動部が回動可能になり、
前記後扉を開く操作が行われた後、前記後扉を閉じる操作が行われると、前記第一の閉鎖状態になることを特徴とする宅配ボックス用の錠装置。
続きを表示(約 3,400 文字)
【請求項2】
前面、側面、後面及び側面が順に連続する筒状体の上下の端部を閉鎖した構造のボックス本体と、前記前面に設けられ、前記ボックス本体の中に荷物等を入れる時に開閉される前扉と、前記後面に設けられ、前記ボックス本体の中から前記荷物等を取り出す時に開閉される後扉とを備えた宅配ボックスに取り付けて使用される錠装置であって、前記前扉を施解錠するために使用される宅配ボックス用の錠装置において、
前記前扉に取り付けられる錠ユニットと、前記ボックス本体の片方の前記側面の内面側に取り付けられるロック解除ユニットとを備え、
前記錠ユニットは、前記前扉が開かれるのを阻止する閉扉位置と前記前扉が開かれるのを阻止しない開扉位置との間を移動可能なラッチと、前記ラッチを前記閉扉位置の方向に付勢するラッチ付勢バネと、使用者に回転操作される摘み部と前記摘み部に連動して回動する可動部とを有した第一の操作部材と、前記第一の操作部材の前記摘み部及び前記可動部が初期位置に保持されるように前記可動部を付勢する第一の付勢バネと、本体であるスライダ部の表面にロック用係合部が突設された部材であって、使用者に操作されてロック位置とロック解除位置との間を移動可能な第二の操作部材と、前記第二の操作部材を前記ロック解除位置の方向に付勢する第二の付勢バネと、本体である板状揺動部の一端部に、前記板状揺動部の厚み方向に突出するロック用突起部が設けられた部材であって、前記板状揺動部の他端部が前記スライダ部に軸着されて前記板状揺動部の厚み方向に往復揺動可能なトリガと、前記トリガを前記ロック用突起部の突出方向に付勢するトリガ付勢バネと、前記トリガ付勢バネに付勢された前記トリガの前記板状揺動部の表面又は前記ロック用突起部の先端部分を係止する係止面に有したストッパ部材とを備え、前記の各部材の中で、前記摘み部が前記前扉の外面側に配置され、その他の部材が前記前扉の内面側に配置されるように、前記トリガが、前記板状揺動部が前後方向に揺動可能で前記ロック用突起部が後方向に突出するように、且つ、前記第二の操作部材が、前記前扉を閉じた時に、前記ロック位置が前記ロック解除ユニットを取り付けた前記側面の側に、前記ロック解除位置が反対側の前記側面の側に各々配置されるように、前記前扉に取り付けて使用されるものであり、
ロック解除ユニットは、第一及び第二の端部を有したロッドと、前記ロッドを長さ方向に移動可能に支持する部材であって、前記第一の端部の方向に移動した第一の位置と第二の端部の方向に移動した第二の位置との間を移動可能するロッド支持部材と、前記ロッドを前記第二の位置の方向に付勢するロッド付勢バネとを備え、前記ロッド支持部材が、前記第一の位置が前記前扉の側に配置され、前記第二の位置が前記後扉の側に配置されるように、前記ボックス本体の一方の前記側面の内面側に固定されて使用されるものであり、
前記錠ユニット及び前記ロック解除ユニットが前記ボックス本体に取り付けられて前記前扉及び前記後扉が閉じられた状態であって、前記ロッドの前記第二の端部が前記後扉の内面に係止されることにより、前記ロッドが前記ロッド付勢バネの付勢に抗して前記第一の位置に保持され、前記第二の操作部材が前記第二の付勢バネの付勢により前記ロック解除位置に保持され、前記トリガの前記ロック用突起部の先端部分が、前記トリガ付勢バネの付勢により前記ストッパ部材の前記係止面に係止されて、前記トリガが前記ロッドの前記第一の端部に接触しない位置に保持され、前記第一の操作部材の前記摘み部及び前記可動部が、前記第一の付勢バネの付勢により前記初期位置に保持され、前記ラッチが、前記ラッチ付勢バネの付勢により前記閉扉位置に保持されている状態を第一の閉鎖状態と定義し、
前記錠ユニット及び前記ロック解除ユニットが前記ボックス本体に取り付けられて前記前扉及び前記後扉が閉じられた状態であって、前記ロッドの前記第二の端部が前記後扉の内面に係止されて、前記ロッドが前記ロッド付勢バネの付勢に抗して前記第一の位置に保持され、前記トリガの前記板状揺動部の表面が、前記トリガ付勢バネの付勢により前記ロッドの前記第一の端部に係止されて、前記トリガが前記ストッパ部材に接触しない位置に保持され、前記板状揺動部と前記ロック用突起部とが交差する部分の内側の角部である係合角部に前記ロッドの前記第一の端部が係合することにより、前記第二の操作部材が、前記第二の付勢バネの付勢に抗して前記ロック位置に保持され、前記可動部の特定部位に前記ロック用係合部が係合することにより、前記摘み部及び前記可動部が前記初期位置に保持され、前記ラッチが、前記ラッチ付勢バネの付勢により前記閉扉位置に保持されている状態を第二の閉鎖状態と定義したとき、
前記第一の閉鎖状態から前記摘み部が回転操作され、これに連動して前記可動部が前記初期位置から変位すると、前記可動部の特定部位が前記ラッチの特定部位に当接又は摺接し、前記ラッチが前記可動部に押されて前記開扉位置に移動して前記扉を開くことが可能になり、
前記扉が開かれた後、前記摘み部及び前記可動部が前記初期位置に戻った状態で、前記第二の操作部材を前記ロック位置に移動させるロック操作が行われると、前記トリガの前記係合角部が前記ストッパ部材の特定部位に係合することによって、前記第二の操作部材が前記ロック解除位置に戻らないようにロックされるとともに、前記ロック用係合部が前記可動部の特定部位に係合することによって、前記可動部及び前記摘み部が回動できないようにロックされ、
前記ロック操作が行われた後、前記前扉を閉じる操作が行われると、前記板状揺動部の表面が前記ロッドの前記第一の端部に押されることによって、前記トリガが前記ストッパ部材に接触しない位置に移動し、前記トリガの前記係合角部と前記ストッパ部材との係合が解除して前記第二の閉鎖状態となり、
前記第二の閉鎖状態から前記後扉を開く操作が行われると、前記ロッドが前記ロッド付勢バネの付勢により前記第二の位置に移動することによって、前記トリガの前記係合角部と前記ロッドの前記第一の端部との係合が解除されるとともに、前記ロック用突起部の先端部分が前記ストッパ部材の前記係止面に係止された状態になり、前記第二の付勢バネの付勢により前記第二の操作部材が前記ロック解除位置に移動することによって、前記摘み部及び前記可動部が回動可能になり、
前記後扉を開く操作が行われた後、前記後扉を閉じる操作が行われると、前記ロッドの前記第二の端部が前記後扉の内面に押されることによって、前記ロッドが前記ロッド付勢バネの付勢に抗して前記第一の位置に移動して前記第一の閉鎖状態になることを特徴とする宅配ボックス用の錠装置。
【請求項3】
前記ラッチ付勢バネは、前記第一の付勢バネとして兼用され、前記摘み部及び前記可動部が前記初期位置から変位しているとき、前記ラッチの特定部位が前記可動部の特定部位に当接又は摺接し、前記ラッチ付勢バネの付勢が前記ラッチを介して前記可動部に伝達されて、前記摘み部及び前記可動部が前記初期位置に戻る方向に付勢される請求項1又は2記載の宅配ボックス用の錠装置。
【請求項4】
前記第一の操作部材は、前記摘み部及び前記可動部を一体に設けた部材である請求項1又は2記載の宅配ボックス用の錠装置。
【請求項5】
前記錠ユニットは、前記前扉に取り付けられた状態で前記前扉の内面側に配置される部材であって、使用者が前記前扉の内面に近づける方向に押圧した時に変位する押圧部と、前記押圧部に連動して変位する補助可動部とを有した脱出用操作部材を備え、前記第一又は第二の閉鎖状態から前記押圧部が前記前扉の内面に近づける方向に押圧されて変位し、これに連動して前記補助可動部が変位すると、前記補助可動部が前記ラッチの特定部位に当接又は摺接し、前記ラッチが前記補助可動部に押されて前記開扉位置に向かって移動し、前記扉を開くことが可能になる請求項1又は2記載の宅配ボックス用の錠装置。
【請求項6】
前記脱出用操作部材は、前記押圧部及び前記補助可動部を一体に設けた部材である請求項5記載の宅配ボックス用の錠装置。
発明の詳細な説明
【技術分野】
【0001】
本発明は、荷物等を入れる時に開閉される前扉と、荷物等を取り出す時に開閉される後扉とを備えた宅配ボックスに取り付けて使用される錠装置であって、前扉を施解錠するために使用される宅配ボックス用の錠装置に関する。
続きを表示(約 5,800 文字)
【背景技術】
【0002】
従来、例えば特許文献1に開示されているように、第1扉(前扉)と第2扉(後扉)とを備えた収容本体と、第1扉に取り付けられて宅配業者等により操作される第1施錠機構と、収容本体の側面の内面側に取り付けられて第1施錠機構によるロックを解除する動作を行う解錠機構と、第2扉に取り付けられて荷受人により操作される第2施錠機構とを備えた収容ボックスがあった。
【0003】
この収容ボックスの待機状態(荷受け可能な状態)は、第2の施錠機構がロックされ、第1施錠機構のロックは解除された状態であり、第1扉は誰でも開閉することができる。宅配業者等は、第1扉を開けて荷物等を収容本体に入れた後、荷受人以外の第三者が第1扉を開けて荷物等を取り出せないようにするため、第1扉が閉じられて施錠された状態にする操作を行う。具体的には、第1扉を閉じた後、第1扉の外側から第1施錠機構を操作してロックを掛ける。
【0004】
荷受人は、第2施錠機構を解錠し、第2扉を開いて中の荷物等を取り出す。この第2扉が開いた時、解錠機構が動作して、第一施錠機構によるロックが自動的に解除される。そして、再び第2扉を閉じて施錠すると、上記の待機状態に戻る。
【0005】
この収容ボックスは、第2扉が開かれると第1施錠機構のロックが自動的に解除される構造になっており、荷受人が「第2扉を開いて荷物等を取り出し、再び第2扉を閉じて施錠する」という通常の操作を行うだけで、自動的に待機状態に戻るという特徴がある。
【先行技術文献】
【特許文献】
【0006】
特開2014-169587号公報
【発明の概要】
【発明が解決しようとする課題】
【0007】
特許文献1の収容ボックスは、上述したように、宅配業者が、第1扉を開けて荷物等を収容本体に入れると、第1扉を閉じた後、第1扉の外側から第1施錠機構を操作してロックを掛ける操作を行うことが想定されている。しかし、宅配業者が、第1扉を開いた状態で誤って第1施錠機構を操作してロックを掛けてしまう可能性があり、そのような状況になると、第1扉を閉じようとしてもラッチ部材(550)が収容本体(20)のラッチ受け部(26)にぶつかって閉じることができなくなるという問題がある。
【0008】
本発明は、上記背景技術に鑑みて成されたものであり、宅配業者等が操作を誤る可能性が低く、宅配業者等及び荷受人にとって使い勝手が良い宅配ボックス用の錠装置を提供することを目的とする。
【課題を解決するための手段】
【0009】
請求項1記載の発明は、前面、側面、後面及び側面が順に連続する筒状体の上下の端部を閉鎖した構造のボックス本体と、前記前面に設けられ、前記ボックス本体の中に荷物等を入れる時に開閉される前扉と、前記後面に設けられ、前記ボックス本体の中から前記荷物等を取り出す時に開閉される後扉とを備えた宅配ボックスに取り付けて使用され、前記前扉を施解錠するために使用される宅配ボックス用の錠装置であって、
前記前扉に取り付けられる錠ユニットと、前記ボックス本体の片方の前記側面の内面側に取り付けられるロック解除ユニットとを備え、
前記錠ユニットは、前記前扉が開かれるのを阻止する閉扉位置と前記前扉が開かれるのを阻止しない開扉位置との間を移動可能なラッチと、前記ラッチを前記閉扉位置の方向に付勢するラッチ付勢バネと、使用者に回転操作される摘み部と前記摘み部に連動して回動する可動部とを有した第一の操作部材と、前記第一の操作部材の前記摘み部及び前記可動部が初期位置に保持されるように前記可動部を付勢する第一の付勢バネと、本体であるスライダ部の表面にロック用係合部が突設された部材であって、使用者に操作されてロック位置とロック解除位置との間を移動可能な第二の操作部材と、前記第二の操作部材を前記ロック解除位置の方向に付勢する第二の付勢バネと、前記第二の操作部材が前記ロック解除位置から前記ロック位置に移動した時に、当該第二の操作部材が前記ロック解除位置に戻れないようにロックするロック機構とを備え、前記の各部材の中で、前記摘み部が前記前扉の外面側に配置され、その他の部材が前記前扉の内面側に配置されるように、前記前扉に取り付けて使用されるものであり、前記ロック解除ユニットは、前記後扉の状態を検知し、前記後扉が開くと前記ロック機構によるロックを解除する機構を備えたユニットであり、
前記錠ユニット及び前記ロック解除ユニットが前記ボックス本体に取り付けられて前記前扉及び前記後扉が閉じられた状態であって、前記第二の操作部材が、前記第二の付勢バネの付勢により前記ロック解除位置に保持され、前記第一の操作部材の前記摘み部及び前記可動部が、前記第一の付勢バネの付勢により前記初期位置に保持され、前記ラッチが、前記ラッチ付勢バネの付勢により前記閉扉位置に保持されている状態を第一の閉鎖状態と定義し、
前記錠ユニット及び前記ロック解除ユニットが前記ボックス本体に取り付けられて前記前扉及び前記後扉が閉じられた状態であって、前記ロック機構が動作することによって、前記第二の操作部材が、前記第二の付勢バネの付勢に抗して前記ロック位置に保持され、前記可動部の特定部位に前記ロック用係合部が係合することにより、前記摘み部及び前記可動部が前記初期位置に保持され前記ラッチが、前記ラッチ付勢バネの付勢により前記閉扉位置に保持されている状態を第二の閉鎖状態と定義したとき、前記第一の閉鎖状態から前記摘み部が回転操作され、これに連動して前記可動部が前記初期位置から変位すると、前記可動部の特定部位が前記ラッチの特定部位に当接又は摺接し、前記ラッチが前記可動部に押されて前記開扉位置に移動して前記扉を開くことが可能になり、
前記扉が開かれた後、前記摘み部及び前記可動部が前記初期位置に戻った状態で、前記第二の操作部材を前記ロック位置に移動させるロック操作が行われると、前記ロック機構が動作することによって、前記第二の操作部材が前記ロック解除位置に戻らないようにロックされるとともに、前記ロック用係合部が前記可動部の特定部位に係合することによって、前記可動部及び前記摘み部が回動できないようにロックされ、
前記ロック操作が行われた後、前記前扉を閉じる操作が行われると、前記第二の閉鎖状態となり、
前記第二の閉鎖状態から前記後扉を開く操作が行われると、前記ロック解除ユニットが動作することによって、前記ロック機構による前記第二の操作部材のロックが解除され、前記第二の付勢バネの付勢により前記第二の操作部材が前記ロック解除位置に移動することによって、前記摘み部及び前記可動部が回動可能になり、
前記後扉を開く操作が行われた後、前記後扉を閉じる操作が行われると、前記第一の閉鎖状態になる宅配ボックス用の錠装置である。
【0010】
また請求項2記載の発明は、前面、側面、後面及び側面が順に連続する筒状体の上下の端部を閉鎖した構造のボックス本体と、前記前面に設けられ、前記ボックス本体の中に荷物等を入れる時に開閉される前扉と、前記後面に設けられ、前記ボックス本体の中から前記荷物等を取り出す時に開閉される後扉とを備えた宅配ボックスに取り付けて使用され、前記前扉を施解錠するために使用される宅配ボックス用の錠装置であって、
前記前扉に取り付けられる錠ユニットと、前記ボックス本体の片方の前記側面の内面側に取り付けられるロック解除ユニットとを備え、
前記錠ユニットは、前記前扉が開かれるのを阻止する閉扉位置と前記前扉が開かれるのを阻止しない開扉位置との間を移動可能なラッチと、前記ラッチを前記閉扉位置の方向に付勢するラッチ付勢バネと、使用者に回転操作される摘み部と前記摘み部に連動して回動する可動部とを有した第一の操作部材と、前記第一の操作部材の前記摘み部及び前記可動部が初期位置に保持されるように前記可動部を付勢する第一の付勢バネと、本体であるスライダ部の表面にロック用係合部が突設された部材であって、使用者に操作されてロック位置とロック解除位置との間を移動可能な第二の操作部材と、前記第二の操作部材を前記ロック解除位置の方向に付勢する第二の付勢バネと、本体である板状揺動部の一端部に、前記板状揺動部の厚み方向に突出するロック用突起部が設けられた部材であって、前記板状揺動部の他端部が前記スライダ部に軸着されて前記板状揺動部の厚み方向に往復揺動可能なトリガと、前記トリガを前記ロック用突起部の突出方向に付勢するトリガ付勢バネと、前記トリガ付勢バネに付勢された前記トリガの前記板状揺動部の表面又は前記ロック用突起部の先端部分を係止する係止面に有したストッパ部材とを備え、前記の各部材の中で、前記摘み部が前記前扉の外面側に配置され、その他の部材が前記前扉の内面側に配置されるように、前記トリガが、前記板状揺動部が前後方向に揺動可能で前記ロック用突起部が後方向に突出するように、且つ、前記第二の操作部材が、前記前扉を閉じた時に、前記ロック位置が前記ロック解除ユニットを取り付けた前記側面の側に、前記ロック解除位置が反対側の前記側面の側に各々配置されるように、前記前扉に取り付けて使用されるものであり、
ロック解除ユニットは、第一及び第二の端部を有したロッドと、前記ロッドを長さ方向に移動可能に支持する部材であって、前記第一の端部の方向に移動した第一の位置と第二の端部の方向に移動した第二の位置との間を移動可能するロッド支持部材と、前記ロッドを前記第二の位置の方向に付勢するロッド付勢バネとを備え、前記ロッド支持部材が、前記第一の位置が前記前扉の側に配置され、前記第二の位置が前記後扉の側に配置されるように、前記ボックス本体の一方の前記側面の内面側に固定されて使用されるものであり、
前記錠ユニット及び前記ロック解除ユニットが前記ボックス本体に取り付けられて前記前扉及び前記後扉が閉じられた状態であって、前記ロッドの前記第二の端部が前記後扉の内面に係止されることにより、前記ロッドが前記ロッド付勢バネの付勢に抗して前記第一の位置に保持され、前記第二の操作部材が前記第二の付勢バネの付勢により前記ロック解除位置に保持され、前記トリガの前記ロック用突起部の先端部分が、前記トリガ付勢バネの付勢により前記ストッパ部材の前記係止面に係止されて、前記トリガが前記ロッドの前記第一の端部に接触しない位置に保持され、前記第一の操作部材の前記摘み部及び前記可動部が、前記第一の付勢バネの付勢により前記初期位置に保持され、前記ラッチが、前記ラッチ付勢バネの付勢により前記閉扉位置に保持されている状態を第一の閉鎖状態と定義し、
前記錠ユニット及び前記ロック解除ユニットが前記ボックス本体に取り付けられて前記前扉及び前記後扉が閉じられた状態であって、前記ロッドの前記第二の端部が前記後扉の内面に係止されて、前記ロッドが前記ロッド付勢バネの付勢に抗して前記第一の位置に保持され、前記トリガの前記板状揺動部の表面が、前記トリガ付勢バネの付勢により前記ロッドの前記第一の端部に係止されて、前記トリガが前記ストッパ部材に接触しない位置に保持され、前記板状揺動部と前記ロック用突起部とが交差する部分の内側の角部である係合角部に前記ロッドの前記第一の端部が係合することにより、前記第二の操作部材が、前記第二の付勢バネの付勢に抗して前記ロック位置に保持され、前記可動部の特定部位に前記ロック用係合部が係合することにより、前記摘み部及び前記可動部が前記初期位置に保持され、前記ラッチが、前記ラッチ付勢バネの付勢により前記閉扉位置に保持されている状態を第二の閉鎖状態と定義したとき、
前記第一の閉鎖状態から前記摘み部が回転操作され、これに連動して前記可動部が前記初期位置から変位すると、前記可動部の特定部位が前記ラッチの特定部位に当接又は摺接し、前記ラッチが前記可動部に押されて前記開扉位置に移動して前記扉を開くことが可能になり、
前記扉が開かれた後、前記摘み部及び前記可動部が前記初期位置に戻った状態で、前記第二の操作部材を前記ロック位置に移動させるロック操作が行われると、前記トリガの前記係合角部が前記ストッパ部材の特定部位に係合することによって、前記第二の操作部材が前記ロック解除位置に戻らないようにロックされるとともに、前記ロック用係合部が前記可動部の特定部位に係合することによって、前記可動部及び前記摘み部が回動できないようにロックされ、
前記ロック操作が行われた後、前記前扉を閉じる操作が行われると、前記板状揺動部の表面が前記ロッドの前記第一の端部に押されることによって、前記トリガが前記ストッパ部材に接触しない位置に移動し、前記トリガの前記係合角部と前記ストッパ部材との係合が解除して前記第二の閉鎖状態となり、
前記第二の閉鎖状態から前記後扉を開く操作が行われると、前記ロッドが前記ロッド付勢バネの付勢により前記第二の位置に移動することによって、前記トリガの前記係合角部と前記ロッドの前記第一の端部との係合が解除されるとともに、前記ロック用突起部の先端部分が前記ストッパ部材の前記係止面に係止された状態になり、前記第二の付勢バネの付勢により前記第二の操作部材が前記ロック解除位置に移動することによって、前記摘み部及び前記可動部が回動可能になり、
前記後扉を開く操作が行われた後、前記後扉を閉じる操作が行われると、前記ロッドの前記第二の端部が前記後扉の内面に押されることによって、前記ロッドが前記ロッド付勢バネの付勢に抗して前記第一の位置に移動して前記第一の閉鎖状態になる宅配ボックス用の錠装置である。
(【0011】以降は省略されています)
この特許をJ-PlatPat(特許庁公式サイト)で参照する
関連特許
株式会社ナガエ
宅配ボックス用の錠装置
24日前
個人
物品保管箱
2か月前
個人
防犯用ドア装置
2か月前
個人
ピンシリンダー錠。
3か月前
個人
顔認証による入室システム
3か月前
個人
ポスト機能付き手提げ金庫
1か月前
個人
二重ロック機能付小物入れ
2か月前
株式会社ニシムラ
ラッチ錠
3か月前
ミサワホーム株式会社
錠受具
3か月前
三協立山株式会社
開口部装置
1か月前
リョービ株式会社
ドアクローザ
2か月前
株式会社アルファ
電気錠
2か月前
個人
無人貸金庫システム
17日前
リョービ株式会社
ドアクローザ
2か月前
株式会社榮伸
カバン蓋の係止装置
1か月前
美和ロック株式会社
ハンドル装置
4か月前
積水ハウス株式会社
引き戸
26日前
株式会社ベスト
扉及び個室
14日前
積水ハウス株式会社
引き戸
14日前
有限会社シティング
引き戸
24日前
株式会社ベスト
開き扉の開閉装置
1か月前
タキゲン製造株式会社
抜差し蝶番
4か月前
コイト電工株式会社
蝶番の取付構造
3日前
ミネベアショウワ株式会社
ドア装置
1か月前
美和ロック株式会社
IDキー
2か月前
ミネベアショウワ株式会社
ドア装置
1か月前
スズキ株式会社
車両用乗員保護装置
1か月前
株式会社LIXIL
建具
14日前
株式会社LIXIL
建具
1か月前
株式会社LIXIL
建具
2か月前
株式会社ユニオン
ドアハンドル
18日前
神田工業株式会社
解錠システム
3か月前
株式会社アイシン
ドア支持装置
3日前
株式会社WEST inx
引戸用引手
3か月前
ミネベアミツミ株式会社
電気錠
4か月前
日本プラスト株式会社
ロック装置
1か月前
続きを見る
他の特許を見る