TOP
|
特許
|
意匠
|
商標
特許ウォッチ
Twitter
他の特許を見る
10個以上の画像は省略されています。
公開番号
2025110648
公報種別
公開特許公報(A)
公開日
2025-07-29
出願番号
2024004596
出願日
2024-01-16
発明の名称
ドアクローザ
出願人
リョービ株式会社
代理人
個人
主分類
E05F
3/22 20060101AFI20250722BHJP(錠;鍵;窓または戸の付属品;金庫)
要約
【課題】ストップ角度を変更する際の作業性を向上させる。
【解決手段】ブラケット1と、ストップ部材32と、扉の開閉動作に伴ってブラケット1及びストップ部材32に対して軸線3まわりに回動するリンク2と、扉がストップ角度になったときにストップ部材32に対するリンク2の回動を停止させることにより扉をストップ角度に保持するストップ機構と、作業者により第1方向及び第2方向に操作され、第1方向に操作されるとストップ部材32を噛み合い位置に保持し、第2方向に操作されるとストップ部材32を噛み合い位置から噛み合い解除位置に移動可能とする操作部材7と、操作部材7が第2方向に操作されるときに操作部材7から力を受け、受けた力をストップ部材32に作用させることによりストップ部材32を噛み合い解除位置側に移動させる補助具4と、を備える。
【選択図】図1
特許請求の範囲
【請求項1】
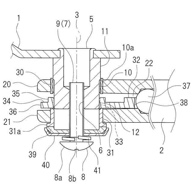
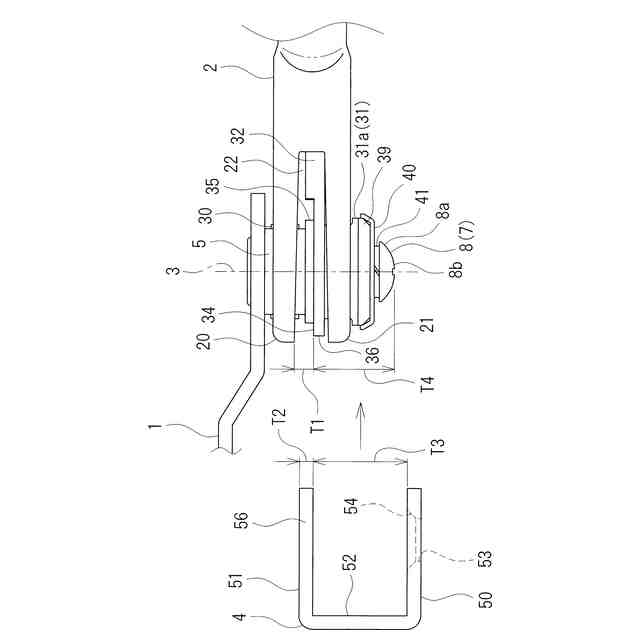
所定の軸線のまわりに第1セレーションが設けられたブラケットと、
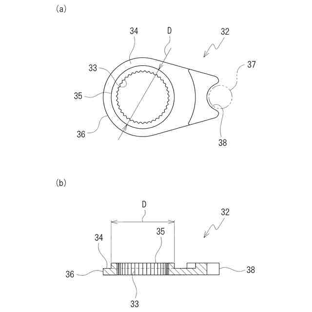
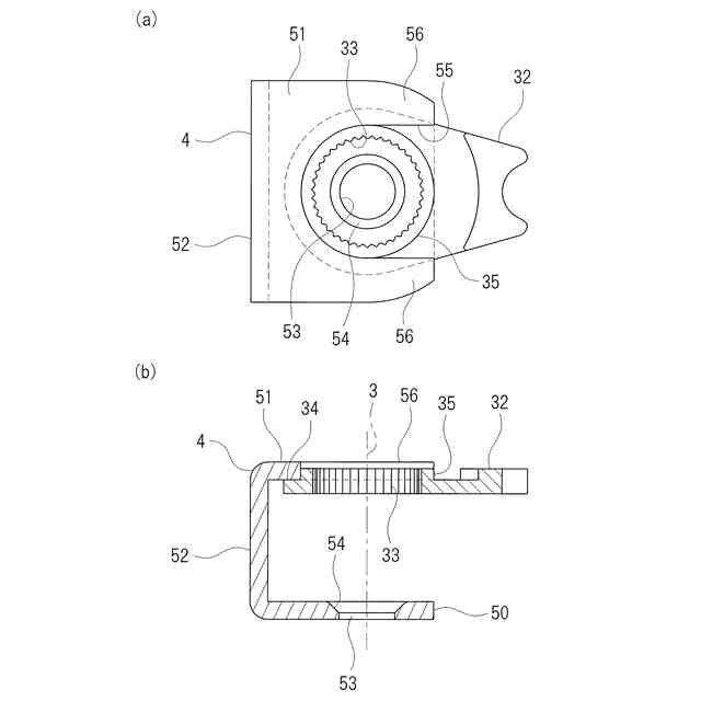
第1セレーションと噛み合う第2セレーションが設けられ、第2セレーションが第1セレーションに噛み合う噛み合い位置と、第2セレーションが第1セレーションから離れる噛み合い解除位置との間を前記軸線に沿って移動可能であって、噛み合い位置になると、ブラケットに対する回動が不可となって扉をストップ角度に保持可能な状態となり、噛み合い解除位置になると、ブラケットに対する回動が可能となってストップ角度が調整可能な状態となる、ストップ部材と、
扉の開閉動作に伴って、ブラケット及び噛み合い位置にあるストップ部材に対して、前記軸線まわりに回動するリンクと、
扉がストップ角度になったときに、噛み合い位置にあるストップ部材に対するリンクの回動を停止させることにより扉をストップ角度に保持するストップ機構と、
作業者により第1方向及び第2方向に操作され、第1方向に操作されるとストップ部材を噛み合い位置に保持し、第2方向に操作されるとストップ部材を噛み合い位置から噛み合い解除位置に移動可能とする操作部材と、
操作部材が第2方向に操作されるときに操作部材から力を受け、受けた力をストップ部材に作用させることによりストップ部材を噛み合い解除位置側に移動させる補助具と、
を備える、ドアクローザ。
続きを表示(約 310 文字)
【請求項2】
補助具は、操作部材から力を受ける受圧片と、ストップ部材とリンクのうち少なくとも一方に当接してストップ部材に直接あるいはリンクを介してストップ部材に噛み合い解除位置側への力を作用させる作用片と、受圧片と作用片を連結する連結片と、を有する、請求項1記載のドアクローザ。
【請求項3】
操作部材は、ボルトであり、受圧片には、ボルトの頭部を操作するための操作孔が設けられ、ボルトが第2方向に操作されると、ボルトの頭部が操作孔の周辺部分を押す、請求項2記載のドアクローザ。
【請求項4】
操作孔の周辺部分に、ボルトの頭部が係合する受け凹部が設けられている、請求項3記載のドアクローザ。
発明の詳細な説明
【技術分野】
【0001】
本発明は、扉を開いた状態に保持するストップ機構を備えたドアクローザに関する。
続きを表示(約 2,400 文字)
【背景技術】
【0002】
下記特許文献1所載のドアクローザは、扉を所定の開き角度、即ち、ストップ角度で保持するためのストップ機構を備えている。ストップ角度を変更する際には、板カムを噛み合い位置から噛み合い解除位置に下降させ、板カムをセレーション軸に対して回動させた後、再び板カムを噛み合い位置まで上昇させる。板カムが噛み合い位置から噛み合い解除位置に下降する際には、板カムの自重によって板カムを自然落下させる。しかしながら、各部の摩擦力等によって板カムが自重で落下しないことがある。そのため、作業者は手で板カムを下降させる必要がある。
【0003】
また、下記特許文献2所載のドアクローザは、セレーションを有する上ブッシュを噛み合い解除位置側に付勢するバネを備えている。ストップ角度の変更時には、上ブッシュにバネの付勢力が作用しているため、上ブッシュが落下しやすくなる。しかしながら、バネの付勢力が上ブッシュに作用していても、ストップ角度の変更時に上ブッシュが確実に落下するとは限らず、その場合にはやはり作業者の作業が増えることになる。また、上ブッシュを噛み合い解除位置から噛み合い位置に上昇させる際には、バネの付勢力に抗して上ブッシュを上昇させなければならず、作業性が低下する。上ブッシュを確実に落下させるために強いバネを使用すると、上ブッシュを噛み合い位置まで上昇させる際の作業性が更に低下する。
【先行技術文献】
【特許文献】
【0004】
特許第3811360号公報
特許第3564113号公報
【発明の概要】
【発明が解決しようとする課題】
【0005】
本発明は、ストップ角度を変更する際の作業性を向上させることを課題とする。
【課題を解決するための手段】
【0006】
本発明に係るドアクローザは、所定の軸線のまわりに第1セレーションが設けられたブラケットと、第1セレーションと噛み合う第2セレーションが設けられ、第2セレーションが第1セレーションに噛み合う噛み合い位置と、第2セレーションが第1セレーションから離れる噛み合い解除位置との間を前記軸線に沿って移動可能であって、噛み合い位置になると、ブラケットに対する回動が不可となって扉をストップ角度に保持可能な状態となり、噛み合い解除位置になると、ブラケットに対する回動が可能となってストップ角度が調整可能な状態となる、ストップ部材と、扉の開閉動作に伴って、ブラケット及び噛み合い位置にあるストップ部材に対して、前記軸線まわりに回動するリンクと、扉がストップ角度になったときに、噛み合い位置にあるストップ部材に対するリンクの回動を停止させることにより扉をストップ角度に保持するストップ機構と、作業者により第1方向及び第2方向に操作され、第1方向に操作されるとストップ部材を噛み合い位置に保持し、第2方向に操作されるとストップ部材を噛み合い位置から噛み合い解除位置に移動可能とする操作部材と、操作部材が第2方向に操作されるときに操作部材から力を受け、受けた力をストップ部材に作用させることによりストップ部材を噛み合い解除位置側に移動させる補助具と、を備える。
【0007】
この構成によれば、ストップ角度を変更する際には、作業者は操作部材を第2方向に操作する。操作部材が第2方向に操作されると、ストップ部材は噛み合い位置から噛み合い解除位置側に移動することができる。そして、操作部材が第2方向に操作されることにより補助具は操作部材から力を受ける。補助具は、操作部材から受けた力をストップ部材に作用させ、ストップ部材を噛み合い解除位置側に移動させる。このように補助具がストップ部材を噛み合い位置側に移動させるので、作業者は操作部材を第2方向に操作すれば足り、ストップ部材を噛み合い解除位置側に移動させるための別途の操作が不要になる。
【0008】
特に、補助具は、操作部材から力を受ける受圧片と、ストップ部材とリンクのうち少なくとも一方に当接してストップ部材に直接あるいはリンクを介してストップ部材に噛み合い解除位置側への力を作用させる作用片と、受圧片と作用片を連結する連結片と、を有することが好ましい。この構成によれば、操作部材が第2方向に操作されると、操作部材から補助具の受圧片に力が作用する。受圧片が補助具から受けた力は、連結片を介して作用片へと伝達される。作用片は、ストップ部材あるいはリンクに当接しているので、作用片に伝達された力は、ストップ部材に直接作用する、あるいは、リンクを介してストップ部材に作用する。作用片からの力によってストップ部材が噛み合い解除位置へと移動する。
【0009】
更に、操作部材は、ボルトであり、受圧片には、ボルトの頭部を操作するための操作孔が設けられ、ボルトが第2方向に操作されると、ボルトの頭部が操作孔の周辺部分を押すことが好ましい。この構成によれば、受圧片に操作孔が設けられているので、受圧片を介してボルトの頭部を工具によって容易に操作することができる。そして、ボルトを第2方向に操作すると、ボルトの頭部が受圧片における操作孔の周辺部分を押すので、ボルトから受圧片に確実に力が作用することになる。
【0010】
また、操作孔の周辺部分に、ボルトの頭部が係合する受け凹部が設けられていることが好ましい。この構成によれば、ボルトを第2方向に操作した際にボルトの頭部が受圧片の受け凹部に係合するので、ボルトからの力が受圧片に確実に作用する。
【発明の効果】
(【0011】以降は省略されています)
この特許をJ-PlatPat(特許庁公式サイト)で参照する
関連特許
リョービ株式会社
ダイカスト品のガス量推定方法
25日前
リョービ株式会社
機械的特性予測方法および機械的特性予測装置
6日前
株式会社ベスト
軸釣装置
今日
個人
ポスト機能付き手提げ金庫
2か月前
株式会社ソリック
ドア装置
8日前
三協立山株式会社
開口部装置
2か月前
個人
無人貸金庫システム
1か月前
トヨタ自動車株式会社
車両
11日前
有限会社シティング
引き戸
1か月前
積水ハウス株式会社
引き戸
1か月前
積水ハウス株式会社
引き戸
1か月前
株式会社ベスト
扉及び個室
1か月前
コイト電工株式会社
蝶番の取付構造
25日前
スズキ株式会社
車両用乗員保護装置
2か月前
株式会社アイシン
ドア支持装置
25日前
株式会社ユニオン
ドアハンドル
1か月前
株式会社LIXIL
建具
1か月前
株式会社ナガエ
宅配ボックス用の錠装置
1か月前
株式会社アイシン
車両用ドア装置
25日前
株式会社アイシン
車両用ドア装置
1か月前
株式会社アイシン
車両用ドア装置
1か月前
日本プラスト株式会社
ロック装置
2か月前
芝浦電子工業株式会社
遠隔解錠システム
5日前
トヨタ自動車株式会社
警報制御装置
1か月前
富士電機株式会社
制御装置、制御方法
5日前
トヨタ自動車株式会社
車両の制御装置
2か月前
株式会社LIXIL
シリンダ錠
28日前
大和ハウス工業株式会社
間仕切り機構
1か月前
ミネベアショウワ株式会社
引戸用ストライク
7日前
株式会社アイシン
車両用開閉体制御装置
2か月前
三和シヤッター工業株式会社
建具
25日前
ミネベアミツミ株式会社
ドアラッチ装置
25日前
三和シヤッター工業株式会社
開閉制御システム
1か月前
三和シヤッター工業株式会社
開閉制御システム
1か月前
トヨタ自動車株式会社
方法
11日前
三和シヤッター工業株式会社
開閉制御システム
1か月前
続きを見る
他の特許を見る