TOP
|
特許
|
意匠
|
商標
特許ウォッチ
Twitter
他の特許を見る
公開番号
2025113550
公報種別
公開特許公報(A)
公開日
2025-08-04
出願番号
2024007766
出願日
2024-01-23
発明の名称
電気錠
出願人
株式会社アルファ
代理人
個人
,
個人
主分類
E05B
47/00 20060101AFI20250728BHJP(錠;鍵;窓または戸の付属品;金庫)
要約
【課題】電池の液漏れが発生した際の補修に要するコストを低減できる電気錠を提供する。
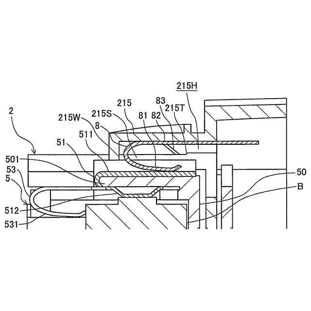
【解決手段】電気錠1は、電池から供給される電力で駆動される駆動機構と、駆動機構を収容する本体ケース21と、電池を収容し、本体ケース21に着脱可能に取り付けられた電池ボックス5とを有し、電池ボックス5は、収容される電池と接触して電池の電力を電池ボックス5の外部に導通させる第1端子51及び第5端子55を有し、本体ケース21は、第1端子51又は第5端子55と接触して電池の電力を駆動機構に供給する第1接続端子8及び第2接続端子9を有し、第1接続端子8及び第2接続端子9は、第1端子51又は第5端子55と接触する接点部分が電池よりも上側で本体ケース21に設けられる。
【選択図】図4
特許請求の範囲
【請求項1】
電池から供給される電力で駆動される駆動機構と、
前記駆動機構を収容する本体ケースと、
前記電池を収容し、前記本体ケースに着脱可能に取り付けられた電池ボックスと、を有し、
前記電池ボックスは、収容される前記電池と接触して前記電池の電力を前記電池ボックスの外部に導通させる電池ボックス側端子を有し、
前記本体ケースは、前記電池ボックス側端子と接触して前記電池の電力を前記駆動機構に供給する本体ケース側端子を有し、
前記本体ケース側端子は、前記電池ボックス側端子と接触する接点部分が前記電池よりも上側で前記本体ケースに設けられる電気錠。
続きを表示(約 330 文字)
【請求項2】
前記本体ケースは、前記電池ボックスより下側に配されて前記駆動機構を収容する駆動機構収容部を備える請求項1に記載の電気錠。
【請求項3】
前記駆動機構収容部は水平な上面を備え、前記上面には、液体が溜まる凹部が形成されている請求項2に記載の電気錠。
【請求項4】
前記本体ケースは、前記電池ボックスが取り付けられる電池ボックス収容部を備え、前記電池ボックス収容部の一部は前記上面によって形成される、請求項3に記載の電気錠。
【請求項5】
前記電池ボックスより背面側において前記本体ケースに収容され、前記駆動機構と前記電池ボックス側端子とに接続された配線基板を備える請求項1又は2に記載の電気錠。
発明の詳細な説明
【技術分野】
【0001】
本発明は、電気錠に関する。
続きを表示(約 1,800 文字)
【背景技術】
【0002】
玄関ドアに設置される電気錠として、電池を収容する電池収容部と、モーター等の電気部品を収容する電気部品収容部とが上下に並べて本体ケースに設けられているものが知られている(例えば、特許文献1~3参照)。特許文献1に記載の電気錠では、電池収容部から電気部品収容部への露や雨水等の侵入を防止するために、電池収容部と電気部品収容部とが隔絶され電気部品収容部が液密に形成されている。また、特許文献2に記載の電気錠では、電池を収容するカートリッジが、本体ケースにネジ止めされている。また、特許文献3に記載の電気錠では、電池に液漏れが発生した場合に電池から漏れた液が電気錠の制御回路に付着することを防止するために、電池と制御回路との間に壁部が形成されている。
【先行技術文献】
【特許文献】
【0003】
特開2014-234656号公報
特開2015-68007号公報
特開2019-108684号公報
【発明の概要】
【発明が解決しようとする課題】
【0004】
電池の液漏れが発生して電池から漏れた液が端子に付着した状態が続くと、端子に付着した液が糊着したり、液によって端子が錆びたりして、電気錠の作動不良を引き起こす虞がある。その場合、ユーザーが電気錠を分解して端子のみを交換することは困難なため、電池から漏れた液の付着が一部であったとしてもユニット全体を交換する必要があり、補修コストが高くなっていた。
【0005】
本発明は、上記事情に鑑み、電池の液漏れが発生した際の補修に要するコストを低減できる電気錠を提供することを目的とする。
【課題を解決するための手段】
【0006】
本発明の電気錠は、電池から供給される電力で駆動される駆動機構と、前記駆動機構を収容する本体ケースと、前記電池を収容し、前記本体ケースに着脱可能に取り付けられた電池ボックスと、を有し、前記電池ボックスは、収容される前記電池と接触して前記電池の電力を前記電池ボックスの外部に導通させる電池ボックス側端子を有し、前記本体ケースは、前記電池ボックス側端子と接触して前記電池の電力を前記駆動機構に供給する本体ケース側端子を有し、前記本体ケース側端子は、前記電池ボックス側端子と接触する接点部分が前記電池よりも上側で前記本体ケースに設けられる。
【発明の効果】
【0007】
本発明によれば、電池ボックスを交換するだけでユニット全体を交換する必要がなくなるため、電池の液漏れが発生した際の補修に要するコストを低減できる。
【図面の簡単な説明】
【0008】
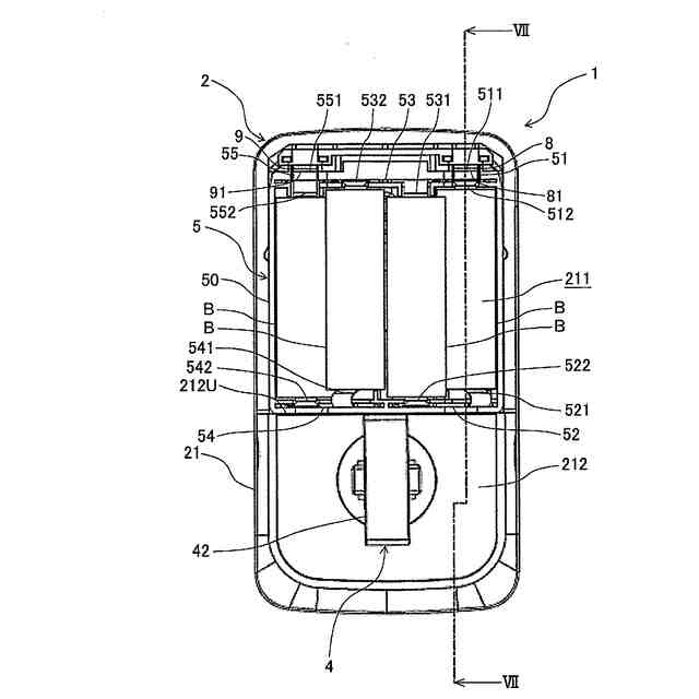
図1は、本発明の一実施形態に係る電気錠を示す正面図である。
図2は、図1の電気錠を示す側面図である。
図3は、図1のIII-III断面図である。
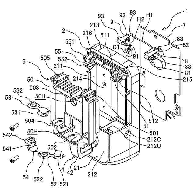
図4は、図1~図3の電気錠の電池カバーと背面カバーとを本体ケースから外した状態を示す分解斜視図である。
図5は、図1~図3の電気錠の電池カバーと背面カバーとを本体ケースから外した状態を示す正面図である。
図6は、図1~図3の電気錠の背面カバーを本体ケースから外した状態を示す背面図である。
図7は、図5のVII-VII断面図である。
図8は、図7のA部を拡大して示す断面図である。
【発明を実施するための形態】
【0009】
以下、本発明を好適な実施形態に沿って説明する。なお、本発明は以下に示す実施形態に限られるものではなく、本発明の趣旨を逸脱しない範囲において適宜変更可能である。また、以下に示す実施形態においては、一部構成の図示や説明を省略している箇所があるが、省略された技術の詳細については、以下に説明する内容と矛盾点が発生しない範囲内において、適宜公知又は周知の技術が適用される。
【0010】
図1は、本発明の一実施形態に係る電気錠1を示す正面図である。図2は、図1の電気錠1を示す側面図である。これらの図に示す電気錠1は、玄関ドアの室内側に設置される電池式の電気錠であり、図示しない室外側操作部での認証操作、またはスマートフォンなどを介した遠隔での認証操作に応じて、玄関ドアに設置される錠装置を作動させる。
(【0011】以降は省略されています)
この特許をJ-PlatPat(特許庁公式サイト)で参照する
関連特許
個人
物品保管箱
2か月前
個人
防犯用ドア装置
2か月前
個人
ピンシリンダー錠。
3か月前
リョービ株式会社
ヒンジ装置
4か月前
個人
ポスト機能付き手提げ金庫
1か月前
個人
二重ロック機能付小物入れ
2か月前
個人
顔認証による入室システム
3か月前
株式会社ニシムラ
ラッチ錠
3か月前
三協立山株式会社
開口部装置
1か月前
ミサワホーム株式会社
錠受具
3か月前
リョービ株式会社
ドアクローザ
2か月前
個人
無人貸金庫システム
17日前
株式会社アルファ
電気錠
2か月前
リョービ株式会社
ドアクローザ
2か月前
株式会社榮伸
カバン蓋の係止装置
1か月前
マツ六株式会社
引戸用鎌錠
4か月前
有限会社シティング
引き戸
24日前
積水ハウス株式会社
引き戸
26日前
美和ロック株式会社
ハンドル装置
4か月前
株式会社ベスト
開き扉の開閉装置
1か月前
積水ハウス株式会社
引き戸
14日前
株式会社ベスト
扉及び個室
14日前
タキゲン製造株式会社
抜差し蝶番
4か月前
ミネベアショウワ株式会社
ドア装置
1か月前
ミネベアショウワ株式会社
ドア装置
1か月前
コイト電工株式会社
蝶番の取付構造
3日前
スズキ株式会社
車両用乗員保護装置
1か月前
美和ロック株式会社
IDキー
2か月前
神田工業株式会社
解錠システム
3か月前
株式会社WEST inx
引戸用引手
3か月前
ミネベアミツミ株式会社
電気錠
4か月前
株式会社LIXIL
建具
2か月前
株式会社ユニオン
ドアハンドル
18日前
株式会社LIXIL
建具
14日前
株式会社LIXIL
建具
1か月前
株式会社アイシン
ドア支持装置
3日前
続きを見る
他の特許を見る