TOP
|
特許
|
意匠
|
商標
特許ウォッチ
Twitter
他の特許を見る
10個以上の画像は省略されています。
公開番号
2025144298
公報種別
公開特許公報(A)
公開日
2025-10-02
出願番号
2024044013
出願日
2024-03-19
発明の名称
車両用ドア装置
出願人
株式会社アイシン
代理人
個人
,
個人
主分類
E05F
15/662 20150101AFI20250925BHJP(錠;鍵;窓または戸の付属品;金庫)
要約
【課題】優れた車両搭載性及び高い信頼性を確保する。
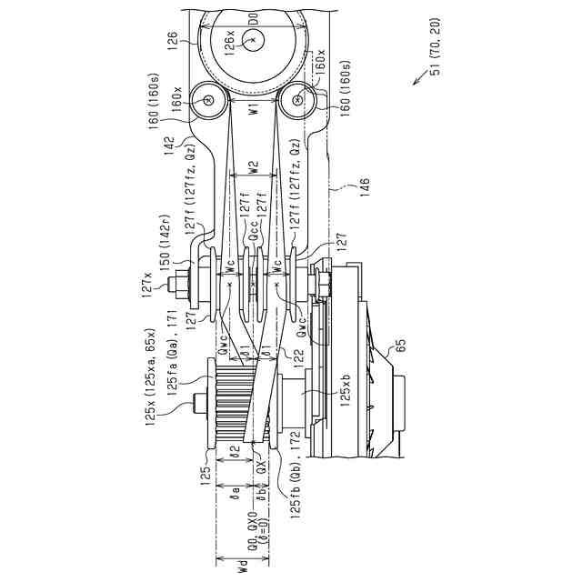
【解決手段】駆動装置51は、駆動プーリー125の駆動軸125xに並行する回転軸を有して、互いにねじれの位置関係にある駆動プーリー125と従動プーリー126との間の中間位置に同軸配置された一対の中間プーリー127,127を備える。また、この駆動装置51においては、両中間プーリー127,127間の軸方向中央位置Qccを各中間プーリー127,127及び駆動プーリー125における軸方向の基準位置Q0とする。更に、この基準位置Q0と各中間プーリー127,127におけるプーリー幅Wcの中央位置Qwcとの間の離間距離δを第1離間距離δ1とする。そして、この第1離間距離δ1以上、その基準位置から離間した軸方向位置Qaに、駆動プーリー125のフランジ部125faが配置される。
【選択図】図16
特許請求の範囲
【請求項1】
車体に対する第1の回動連結点と車両のドアに対する第2の回動連結点とを有する第1及び第2のリンクアームを備え、
前記第1及び第2のリンクアームにより構成されるリンク機構の動作に基づき前記ドアが開閉動作するとともに、
前記第1及び第2のリンクアームの少なくとも一方を駆動リンクとして該駆動リンクにアクチュエータの駆動トルクを伝達することにより前記駆動リンクを回動させる駆動装置を備え、
前記駆動装置は、
前記アクチュエータに回転駆動される駆動プーリーと、
前記駆動プーリーに対してねじれの位置関係を有する従動プーリーと、
前記駆動プーリーの駆動軸に並行する回転軸を有して該駆動プーリーと前記従動プーリーとの間の中間位置に同軸配置された一対の中間プーリーと、
前記駆動プーリー及び前記従動プーリーに巻き掛けられるとともに前記各中間プーリーに対して同一方向から巻き掛けられる駆動ベルトと、を備え、
前記一対の中間プーリー間の軸方向中央位置を前記各中間プーリー及び前記駆動プーリーにおける軸方向の基準位置とするとともに、
前記基準位置と前記各中間プーリーにおけるプーリー幅の中央位置との間の離間距離を第1離間距離として、
前記第1離間距離以上、前記基準位置から離間した軸方向位置に前記駆動プーリーのフランジ部が配置されている車両用ドア装置。
続きを表示(約 580 文字)
【請求項2】
前記各中間プーリーにおける前記プーリー幅の中央位置よりも前記基準位置から離間した軸方向位置に配置された前記各中間プーリーのフランジ部と前記基準位置との間の離間距離を第2離間距離として、
前記第2離間距離以上、前記基準位置から離間した軸方向位置に前記駆動プーリーのフランジ部が配置されている請求項1に記載の車両用ドア装置。
【請求項3】
前記ドアの閉動作時に前記駆動プーリーに対する前記駆動ベルトの巻き掛け位置が変位する方向に位置する前記駆動プーリーのフランジ部を閉側フランジ部とし、
前記ドアの開動作時に前記巻き掛け位置が変位する方向に位置する前記駆動プーリーのフランジ部を開側フランジ部として、
前記閉側フランジ部の方が、前記開側フランジ部よりも、前記基準位置からの離間距離が大きい請求項1又は請求項2に記載の車両用ドア装置。
【請求項4】
前記従動プーリーの径方向外側において該従動プーリーの支軸よりも前記駆動プーリーに近い位置に設けられた一対の抑えプーリーを備え、
前記一対の抑えプーリー間の離間幅が、前記従動プーリーの直径よりも狭く、且つ、前記一対の中間プーリーにおける前記プーリー幅の中央位置間の離間幅よりも広い
請求項1又は請求項2に記載の車両用ドア装置。
発明の詳細な説明
【技術分野】
【0001】
本発明は、車両用ドア装置に関するものである。
続きを表示(約 2,000 文字)
【背景技術】
【0002】
従来、車体に対する第1の回動連結点と車両のドアに対する第2の回動連結点とを有した第1及び第2のリンクアームを備える車両用のドア装置がある。また、例えば、特許文献1に記載のドア装置は、第1のリンクアームを駆動リンクとして、この駆動リンクにアクチュエータの駆動トルクを伝達する駆動装置を備えている。そして、これにより、第1及び第2のリンクアームにより構成されるリンク機構の動作に基づいて、そのドア開口部に設けられたドアを自動で開閉動作することが可能になっている。
【先行技術文献】
【特許文献】
【0003】
特開2022-92327号公報
【発明の概要】
【発明が解決しようとする課題】
【0004】
しかしながら、上記のような構成を有するドア装置においては、その車両搭載性及び信頼性の確保が重要な課題となる。
【課題を解決するための手段】
【0005】
本発明に係る車両用ドア装置は、車体に対する第1の回動連結点と車両のドアに対する第2の回動連結点とを有する第1及び第2のリンクアームを備え、前記第1及び第2のリンクアームにより構成されるリンク機構の動作に基づき前記ドアが開閉動作するとともに、前記第1及び第2のリンクアームの少なくとも一方を駆動リンクとして該駆動リンクにアクチュエータの駆動トルクを伝達することにより前記駆動リンクを回動させる駆動装置を備え、前記駆動装置は、前記アクチュエータに回転駆動される駆動プーリーと、前記駆動プーリーに対してねじれの位置関係を有する従動プーリーと、前記駆動プーリーの駆動軸に並行する回転軸を有して該駆動プーリーと前記従動プーリーとの間の中間位置に同軸配置された一対の中間プーリーと、前記駆動プーリー及び前記従動プーリーに巻き掛けられるとともに前記各中間プーリーに対して同一方向から巻き掛けられる駆動ベルトと、を備え、前記一対の中間プーリー間の軸方向中央位置を前記各中間プーリー及び前記駆動プーリーにおける軸方向の基準位置とするとともに、前記基準位置と前記各中間プーリーにおけるプーリー幅の中央位置との間の離間距離を第1離間距離として、前記第1離間距離以上、前記基準位置から離間した軸方向位置に前記駆動プーリーのフランジ部が配置されている。
【0006】
上記構成によれば、アクチュエータが出力する駆動トルクの伝達経路を自在に設定することができる。その結果、高い信頼性を担保しつつ、簡素な構成にて、アクチュエータの配置自由度を高めることができる。
【0007】
また、駆動プーリーと従動プーリーとの間の「ねじれの位置関係」に基づき、駆動プーリーに巻き掛けられた駆動ベルトに所謂「進入角」が形成される。そして、この「進入角」の存在により、駆動プーリーに入力されるアクチュエータの駆動トルクに基づいて、この駆動プーリーに対する駆動ベルトの巻き掛け位置が軸方向に変位しやすくなる。
【0008】
しかしながら、上記構成によれば、基準位置からの離間距離に基づき、その駆動トルクの入力により駆動ベルトの巻き掛け位置を軸方向に変位させる力が低下する軸方向位置に、駆動プーリーのフランジ部が配置される。その結果、このフランジ部に駆動ベルトが押し当たる力を小さくすることができる。そして、これにより、駆動ベルトに加わる負荷を低減することで、より高い信頼性を確保することができる。
【発明の効果】
【0009】
本発明によれば、優れた車両搭載性及び高い信頼性を確保することができる。
【図面の簡単な説明】
【0010】
図1は、ドア装置の斜視図である。
図2は、ドア装置の斜視図である。
図3は、リンク機構を構成する第1及び第2のリンクアームの平面図である。
図4は、リンク機構を構成する第1及び第2のリンクアームの平面図である。
図5は、リンク機構を構成する第1及び第2のリンクアームの平面図である。
図6は、リンク機構を構成する第1及び第2のリンクアームの平面図である。
図7は、ドア側係合部及び車体側係合部の概略構成図である。
図8は、ドア側係合部及び車体側係合部、並びにドア及びドア開口部の斜視図である。
図9は、ドア装置のシステム構成図である。
図10は、ドア装置が設けられたドアの斜視図である。
図11は、駆動装置の正面図である。
図12は、駆動装置の背面図である。
図13は、駆動装置の分解斜視図である。
図14は、駆動装置の上面図である。
図15は、駆動装置の上面図である。
図16は、駆動装置の下面図である。
【発明を実施するための形態】
(【0011】以降は省略されています)
この特許をJ-PlatPat(特許庁公式サイト)で参照する
関連特許
株式会社アイシン
ロータ
16日前
株式会社アイシン
ロータ
12日前
株式会社アイシン
歯車機構
12日前
株式会社アイシン
折り畳み装置
16日前
株式会社アイシン
ガス検出装置
16日前
株式会社アイシン
折り畳み装置
16日前
株式会社アイシン
走行制御装置
16日前
株式会社アイシン
サンルーフ装置
12日前
株式会社アイシン
ドアロック装置
10日前
株式会社アイシン
燃料電池システム
12日前
株式会社アイシン
露光制御システム
16日前
株式会社アイシン
燃料電池システム
12日前
株式会社アイシン
燃料電池システム
12日前
株式会社アイシン
被牽引車両用マークおよびマーク検出装置
16日前
株式会社豊田中央研究所
非接触給電可能な回転電機
10日前
株式会社アイシン
ペロブスカイト太陽電池及びペロブスカイト太陽電池の製造方法
2日前
株式会社豊田中央研究所
体重推定装置、体重推定方法、及び体重推定プログラム
11日前
個人
物品保管箱
2か月前
個人
防犯用ドア装置
2か月前
個人
ピンシリンダー錠。
3か月前
個人
顔認証による入室システム
3か月前
個人
ポスト機能付き手提げ金庫
1か月前
個人
二重ロック機能付小物入れ
2か月前
三協立山株式会社
開口部装置
2か月前
ミサワホーム株式会社
錠受具
3か月前
リョービ株式会社
ドアクローザ
2か月前
リョービ株式会社
ドアクローザ
2か月前
株式会社アルファ
電気錠
2か月前
個人
無人貸金庫システム
1か月前
積水ハウス株式会社
引き戸
1か月前
トヨタ自動車株式会社
車両
2日前
積水ハウス株式会社
引き戸
27日前
有限会社シティング
引き戸
1か月前
株式会社榮伸
カバン蓋の係止装置
2か月前
株式会社ベスト
扉及び個室
27日前
株式会社ベスト
開き扉の開閉装置
2か月前
続きを見る
他の特許を見る