TOP
|
特許
|
意匠
|
商標
特許ウォッチ
Twitter
他の特許を見る
10個以上の画像は省略されています。
公開番号
2025171147
公報種別
公開特許公報(A)
公開日
2025-11-20
出願番号
2024076189
出願日
2024-05-08
発明の名称
スロットルグリップ装置
出願人
朝日電装株式会社
代理人
個人
主分類
B62K
23/04 20060101AFI20251113BHJP(鉄道以外の路面車両)
要約
【課題】スロットルグリップを逆回転したとき、スロットルグリップの加温部から延びるリード線の屈曲を抑制して耐久性を向上することができる。
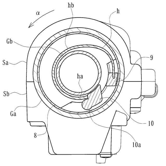
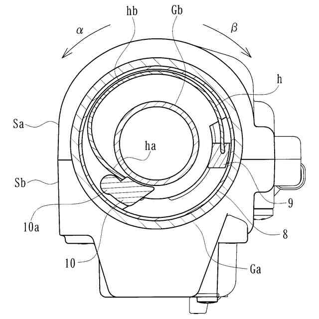
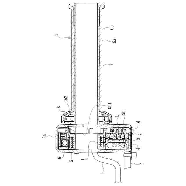
【解決手段】電流が流れることにより発熱してスロットルグリップGの把持部を加温可能な加温部7と、車両が搭載したバッテリから加温部7に電流を供給するリード線hと、リード線hを支持するとともに、スロットルグリップGの回転に連動して回転する回転側支持部10、及びスロットルグリップGの回転に連動せず固定された固定側支持部9を有したリード線支持手段とを具備し、スロットルグリップGが逆回転したとき車両の所定の機能を作動又は非作動とし得るスロットルグリップ装置であって、固定側支持部9と回転側支持部10との間に設けられ、スロットルグリップGの逆回転時、固定側支持部9と回転側支持部10との間に位置するリード線hと当接して屈曲を抑制する屈曲抑制部10aを有するものである。
【選択図】図1
特許請求の範囲
【請求項1】
車両のハンドルバーの先端側に取り付けられ、運転者による回転操作が可能とされるとともに、初期位置から所定方向に正回転及び当該所定方向とは逆方向の逆回転が可能とされたスロットルグリップと、
前記スロットルグリップに取り付けられるとともに、電流が流れることにより発熱して前記スロットルグリップの把持部を加温可能な加温部と、
前記加温部に接続され、車両が搭載したバッテリから前記加温部に電流を供給するリード線と、
前記リード線を支持するとともに、前記スロットルグリップの回転に連動して回転する回転側支持部、及び前記スロットルグリップの回転に連動せず固定された固定側支持部を有したリード線支持手段と、
を具備し、前記スロットルグリップの正回転時の回転角度に応じて車両の駆動源を制御可能とされるとともに、前記スロットルグリップが逆回転したとき車両の所定の機能を作動又は非作動とし得るスロットルグリップ装置であって、
前記固定側支持部と前記回転側支持部との間に設けられ、前記スロットルグリップの逆回転時、前記固定側支持部と前記回転側支持部との間に位置する前記リード線と当接して屈曲を抑制する屈曲抑制部を有することを特徴とするスロットルグリップ装置。
続きを表示(約 640 文字)
【請求項2】
前記屈曲抑制部は、前記回転側支持部から円弧形状を有して突出形成された突出部から成り、前記スロットルグリップの逆回転時、前記回転側支持部で支持された前記リード線の支持部近傍を前記突出部の円弧形状に沿って変形させることを特徴とする請求項1記載のスロットルグリップ装置。
【請求項3】
前記突出部の円弧形状は、前記リード線の直径の2倍以上の曲率とされたことを特徴とする請求項2記載のスロットルグリップ装置。
【請求項4】
前記屈曲抑制部は、前記回転側支持部から突出形成されて弾性変形可能な突出壁部から成り、前記スロットルグリップの逆回転時、前記回転側支持部で支持された前記リード線の支持部近傍が前記突出壁部に当接して弾性変形させることを特徴とする請求項1記載のスロットルグリップ装置。
【請求項5】
前記リード線支持手段で支持されたリード線を覆うカバー部を具備するとともに、前記屈曲抑制部は、前記カバー部から前記リード線に向かって突出した円弧形状を有して突出形成された膨出部から成り、前記スロットルグリップの逆回転時、前記固定側支持部及び前記回転側支持部の間の前記リード線を前記膨出部の円弧形状に沿って変形させることを特徴とする請求項1記載のスロットルグリップ装置。
【請求項6】
前記膨出部の円弧形状は、前記リード線の直径の2倍以上の曲率とされたことを特徴とする請求項5記載のスロットルグリップ装置。
発明の詳細な説明
【技術分野】
【0001】
本発明は、スロットルグリップの把持部を加温可能な加温部を有したスロットルグリップ装置に関するものである。
続きを表示(約 1,900 文字)
【背景技術】
【0002】
二輪車などのハンドルバーを具備した車両は、当該ハンドルバーの左右それぞれの先端部にハンドルグリップが取り付けられている。かかるハンドルグリップは、運転者が把持する把持部が形成されており、従来、その把持部を加温するための加温部を具備したハンドルグリップについて提案されている。従来の加温部は、例えば特許文献1にて開示されているように、車両に搭載されたバッテリから電流を流し得る電熱線パターンが形成されたフレキシブル基板から成り、バッテリから延びたリード線を介して電流が流れることにより発熱してハンドルグリップの把持部を加温するものが挙げられる。
【先行技術文献】
【特許文献】
【0003】
特開2016-215966号公報
【発明の概要】
【発明が解決しようとする課題】
【0004】
上記従来技術においては、加温部を車両の駆動源を制御可能なスロットルグリップ装置に適用した場合、スロットルグリップの回転操作(正回転操作)に応じてリード線が引っ張られて過度な負荷が付与されるのを回避するため、リード線の引っ張り力による変形を許容すべく長さ寸法に余裕を持たせていた。しかし、正回転操作に加えて逆回転操作が可能とされたスロットルグリップに加温部を適用した場合、スロットルグリップが逆回転すると、リード線が屈曲することがあり、逆回転操作に対するリード線の耐久性に課題があった。
【0005】
本発明は、このような事情に鑑みてなされたもので、スロットルグリップを逆回転したとき、スロットルグリップの加温部から延びるリード線の屈曲を抑制して耐久性を向上することができるスロットルグリップ装置を提供することにある。
【課題を解決するための手段】
【0006】
請求項1記載の発明は、車両のハンドルバーの先端側に取り付けられ、運転者による回転操作が可能とされるとともに、初期位置から所定方向に正回転及び当該所定方向とは逆方向の逆回転が可能とされたスロットルグリップと、前記スロットルグリップに取り付けられるとともに、電流が流れることにより発熱して前記スロットルグリップの把持部を加温可能な加温部と、前記加温部に接続され、車両が搭載したバッテリから前記加温部に電流を供給するリード線と、前記リード線を支持するとともに、前記スロットルグリップの回転に連動して回転する回転側支持部、及び前記スロットルグリップの回転に連動せず固定された固定側支持部を有したリード線支持手段とを具備し、前記スロットルグリップの正回転時の回転角度に応じて車両の駆動源を制御可能とされるとともに、前記スロットルグリップが逆回転したとき車両の所定の機能を作動又は非作動とし得るスロットルグリップ装置であって、前記固定側支持部と前記回転側支持部との間に設けられ、前記スロットルグリップの逆回転時、前記固定側支持部と前記回転側支持部との間に位置する前記リード線と当接して屈曲を抑制する屈曲抑制部を有することを特徴とする。
【0007】
請求項2記載の発明は、請求項1記載のスロットルグリップ装置において、前記屈曲抑制部は、前記回転側支持部から円弧形状を有して突出形成された突出部から成り、前記スロットルグリップの逆回転時、前記回転側支持部で支持された前記リード線の支持部近傍を前記突出部の円弧形状に沿って変形させることを特徴とする。
【0008】
請求項3記載の発明は、請求項2記載のスロットルグリップ装置において、前記突出部の円弧形状は、前記リード線の直径の2倍以上の曲率とされたことを特徴とする。
【0009】
請求項4記載の発明は、請求項1記載のスロットルグリップ装置において、前記屈曲抑制部は、前記回転側支持部から突出形成されて弾性変形可能な突出壁部から成り、前記スロットルグリップの逆回転時、前記回転側支持部で支持された前記リード線の支持部近傍が前記突出壁部に当接して弾性変形させることを特徴とする。
【0010】
請求項5記載の発明は、請求項1記載のスロットルグリップ装置において、前記リード線支持手段で支持されたリード線を覆うカバー部を具備するとともに、前記屈曲抑制部は、前記カバー部から前記リード線に向かって突出した円弧形状を有して突出形成された膨出部から成り、前記スロットルグリップの逆回転時、前記固定側支持部及び前記回転側支持部の間の前記リード線を前記膨出部の円弧形状に沿って変形させることを特徴とする。
(【0011】以降は省略されています)
この特許をJ-PlatPat(特許庁公式サイト)で参照する
関連特許
朝日電装株式会社
車両用ロック装置
1日前
朝日電装株式会社
スロットルグリップ装置
1日前
朝日電装株式会社
スロットルグリップ装置
1か月前
朝日電装株式会社
電動車両用無線通信システム
2か月前
朝日電装株式会社
スロットル操作装置
2か月前
朝日電装株式会社
スロットル操作装置
2か月前
朝日電装株式会社
スロットル操作装置
2か月前
個人
カート
4か月前
個人
走行装置
5か月前
個人
三輪バイク
29日前
個人
台車
1日前
個人
乗り物
6か月前
個人
電動走行車両
5か月前
個人
折り畳み自転車
11か月前
個人
電動モビリティ
8か月前
個人
発音装置
8か月前
個人
駐輪設備
2か月前
個人
閂式ハンドル錠
5か月前
個人
自転車用歩数計
1か月前
個人
ボギー・フレーム
3か月前
個人
三輪電動車両
1か月前
個人
自由方向乗車自転車
8か月前
個人
ルーフ付きトライク
4か月前
個人
ルーフ付きトライク
2か月前
個人
“zen-go.”
3か月前
個人
車の室内高温防止屋根
15日前
個人
パワーアシスト自転車
3か月前
井関農機株式会社
作業車両
22日前
個人
キャンピングトライク
10か月前
個人
ステアリングの操向部材
10か月前
株式会社三五
リアサブフレーム
11か月前
個人
フロントフットブレーキ。
5か月前
株式会社豊田自動織機
産業車両
5か月前
個人
乗用自動車のディフューザー
1か月前
学校法人千葉工業大学
車両
11か月前
個人
ホイールハブ駆動構造
5か月前
続きを見る
他の特許を見る