TOP
|
特許
|
意匠
|
商標
特許ウォッチ
Twitter
他の特許を見る
公開番号
2025176689
公報種別
公開特許公報(A)
公開日
2025-12-04
出願番号
2025080539
出願日
2025-05-13
発明の名称
スマートロッカーのアクセスシステム及びそのアクセス方法
出願人
個人
代理人
個人
,
個人
,
個人
主分類
E05B
47/00 20060101AFI20251127BHJP(錠;鍵;窓または戸の付属品;金庫)
要約
【課題】スマートロッカーのアクセスシステム及びそのアクセス方法を提供する。
【解決手段】本発明に係るスマートロッカーのアクセスシステム及びそのアクセス方法は、携帯機器により、ロッカーの固有識別コードを読み取ると共に、自身の識別情報と共にリモートホストに送信する。リモートホストは、ユーザーIDが、指定されたロッカーにマッチしているかどうかを確認し、マッチしている場合、リモートホストがトリガー信号を生成して、携帯機器に送信し、携帯機器が、ロック状態からロック解除状態に切り替えるように、ロッカーの電子ドアロックをトリガーする。スマートロッカーのコストを削減し、設置の制限を緩和する技術的効果を達成するために用いられている。
【選択図】図1
特許請求の範囲
【請求項1】
複数のロッカーと、
リモートホストと、を備え、
各前記ロッカーは、
開閉を許可するドアパネルを有し、前記ドアパネルには、電子ドアロックが設置され、前記電子ドアロックは、未給電且つ前記ドアパネルが閉鎖されている場合、ロック状態となるキャビネットと、
前記キャビネット中に設置され、固有識別コードを有し、且つ導線を介して前記電子ドアロックに電気的に接続されているマザーボードと、
送電線であって、前記マザーボードに電気的に接続され、携帯機器との電気的接続が許可され、電気的に接続されている場合、前記携帯機器が、前記固有識別コードを読み取ると共に、ネットワークを介して送信し、前記送電線が、前記携帯機器からのトリガー信号を受信することで、前記電子ドアロックを、前記ロック状態からロック解除状態に切り替えるように駆動する送電線と、を含み、
前記リモートホストは、
複数のコンピュータ可読命令を保存するための非一時的なコンピュータ可読メディアと、
前記非一時的なコンピュータ可読メディアに電気的に接続され、前記コンピュータ可読命令を実行するために用いられているハードウェアプロセッサであって、
前記携帯機器に指定ロッカー位置情報を送信し、
前記携帯機器が前記ロッカーに電気的に接続されている場合、前記リモートホストが、ネットワークを介して前記携帯機器により送信された前記固有識別コード及び識別情報を受信し、
前記固有識別コード及び前記識別情報に基づいて、ユーザーIDを確認し、ユーザーIDが有効である場合、前記トリガー信号を生成して前記携帯機器に送信し、前記携帯機器が、前記トリガー信号に基づいて、前記ロッカーを開けるように前記電子ドアロックをトリガーするように配置されているハードウェアプロセッサと、を含むように構成されていることを特徴とするスマートロッカーのアクセスシステム。
続きを表示(約 2,100 文字)
【請求項2】
前記ドアパネルと前記キャビネットとの間には、前記ドアパネルが力を付勢されていない状態において、前記キャビネットを自動的に閉鎖するための1組の自動回帰ヒンジが設置されていることを特徴とする請求項1に記載のスマートロッカーのアクセスシステム。
【請求項3】
前記リモートホストは、前記指定ロッカー位置情報及び前記携帯機器の携帯電話番号に基づいて、認証情報を生成すると共に、前記携帯機器に前記認証情報を送信し、前記認証情報が、前記携帯機器及び前記携帯機器に電気的に接続されている前記ロッカーにマッチする場合、読み取った前記固有識別コードと前記識別情報とを共に、前記携帯機器がネットワークを通して前記リモートホストに送信することを認証することを特徴とする請求項1に記載のスマートロッカーのアクセスシステム。
【請求項4】
前記識別情報は、身分証明書番号、携帯電話番号、電子メールアドレス、及び一意性及び識別性を有している他の情報のうちの少なくとも1つを含み、前記リモートホストが同じ前記携帯機器を検出し、所定の時間区間に、同じ前記固有識別コード及び前記識別情報が重複して送信された場合、前記リモートホストが前記トリガー信号の再生成を許可し、前記時間区間を超過した後は、前記ロッカーが他の前記携帯機器により開けられるまで、前記リモートホストが前記トリガー信号の再生成を禁止することを特徴とする請求項1に記載のスマートロッカーのアクセスシステム。
【請求項5】
前記携帯機器は、読み取った前記固有識別コード及び自身の前記識別情報のベクトル化及び四則演算を行って、計算値を生成し、前記計算値に基づいてユーザーIDが有効であるかどうかを確認するために、前記リモートホストに前記計算値を提供することを特徴とする請求項1に記載のスマートロッカーのアクセスシステム。
【請求項6】
キャビネットと、マザーボードと、送電線と、を各々備えている複数のロッカーを提供し、前記キャビネットは、開閉を許可するドアパネルを有し、前記ドアパネルには、電子ドアロックが設置され、前記電子ドアロックは、未給電且つ前記ドアパネルが閉鎖されている場合、ロック状態となり、前記マザーボードは、固有識別コードを有し、且つ導線を介して前記電子ドアロックに電気的に接続されているステップと、
リモートホストが、携帯機器に指定ロッカー位置情報を送信するステップと、
前記携帯機器が、前記送電線を介して前記ロッカーに電気的に接続されると、接続されている前記携帯機器により、前記ロッカーから前記固有識別コードを読み取り、読み取った前記固有識別コードと識別情報とを共に、ネットワークを通して前記リモートホストに送信するステップと、
受信した前記固有識別コード及び前記識別情報に基づいて、前記リモートホストがユーザーIDを確認し、ユーザーIDが有効である場合、トリガー信号を生成し、前記携帯機器に送信するステップと、
前記携帯機器が、受信した前記トリガー信号に基づいて、前記ロック状態からロック解除状態に切り替えるように前記電子ドアロックをトリガーするステップと、を含むことを特徴とするスマートロッカーのアクセス方法。
【請求項7】
前記ドアパネルと前記キャビネットとの間には、前記ドアパネルが力を付勢されていない状態において、前記キャビネットを自動的に閉鎖するための1組の自動回帰ヒンジが設置されていることを特徴とする請求項6に記載のスマートロッカーのアクセス方法。
【請求項8】
前記リモートホストは、前記指定ロッカー位置情報及び前記携帯機器の携帯電話番号に基づいて、認証情報を生成すると共に、前記携帯機器に前記認証情報を送信し、前記認証情報が、前記携帯機器及び前記携帯機器に電気的に接続されている前記ロッカーにマッチする場合、読み取った前記固有識別コードと前記識別情報とを共に、前記携帯機器がネットワークを通して前記リモートホストに送信することを認証することを特徴とする請求項6に記載のスマートロッカーのアクセス方法。
【請求項9】
前記識別情報は、身分証明書番号、携帯電話番号、電子メールアドレス、及び一意性及び識別性を有している他の情報のうちの少なくとも1つを含み、前記リモートホストが、同じ前記携帯機器を検出し、所定の時間区間に、同じ前記固有識別コード及び前記識別情報が重複して送信された場合、前記リモートホストが前記トリガー信号の再生成を許可し、前記時間区間を超過した後は、前記ロッカーが他の前記携帯機器により開けられるまで、前記リモートホストが前記トリガー信号の再生成を禁止することを特徴とする請求項6に記載のスマートロッカーのアクセス方法。
【請求項10】
前記携帯機器は、読み取った前記固有識別コード及び自身の前記識別情報のベクトル化及び四則演算を行って、計算値を生成し、前記計算値に基づいてユーザーIDが有効であるかどうかを確認するために、前記リモートホストに前記計算値を提供することを特徴とする請求項6に記載のスマートロッカーのアクセス方法。
発明の詳細な説明
【技術分野】
【0001】
本発明は、アクセスシステム及びそのアクセス方法に関し、更に詳しくは、スマートロッカーのアクセスシステム及びそのアクセス方法(An access system for a smart locker and an access method thereof)に関するものである。
続きを表示(約 3,400 文字)
【背景技術】
【0002】
近年、ネットショッピングの普及と勃興、発展に伴って、郵便局、コンビニ、各物流業者等が、便利な置き配/受け取りサービスを続々と打ち出しており、なかでもロッカーが最もよく利用されている。
【発明の概要】
【発明が解決しようとする課題】
【0003】
一般的に、従来のロッカーは、キーロックまたはパスワードロックのみ提供しており、キーまたはパスワードを所有している人間にしか開けられないようになっている。しかしながら、この方式は、置く人物と受け取る人物とが同一である場合にしか適用できず、キー及びパスワードを他人と便利に共有することができないため、ネットショッピングには適用できなかった。また、単純にキーまたはパスワードを使用することは、複製や窃盗のリスクがあり、従来のロッカーは、可用性が高くなく、安全性に問題があった。
【0004】
上記問題点に鑑みて、メーカーではスマートロッカーの技術的手段を提供している。ユーザーIDを検証するためにサーバー端と接続することで、ユーザーに自動置き配/受け取りサービスを提供している。しかしながら、この方式のロッカーは、コストが極めて高かった。一例を挙げると、ロッカーが、ネットワーク機能、安定した電源、強力な演算ソース等を有する必要があり、スマートロッカーのコストが高止まりした。また、設置が制限されているという問題もあった。上記問題を解決するために、従来の特許文献では、例えば、下記特許文献1には、モバイルデバイスにより給電すると共に、パスワードを識別してスマートロッカーを開けるシステム及びその方法が開示されている。特許文献1は、サーバーにより使用するスマートロッカーを選択すると共に、暗号化アルゴリズムを実行し、選択されたスマートロッカーのロッカー位置識別コードに基づいて、第1検証コードを生成し、ユーザーのモバイルデバイスに第1検証コードを送信する。スマートロッカーの給電に電源装置またはモバイルデバイスを選択した場合、スマートロッカーが同じ暗号化アルゴリズムを実行し、自身のロッカー位置識別コードに基づいて第2検証コードを生成し、且つ第1検証コードと第2検証コードとが同じである場合、ロック解除状態になるように電子ロックを制御し、スマートロッカーの可用性及び設置の利便性を高める技術的効果を達成している。換言すれば、この方式のスマートロッカー(即ち、スマートロッカー)自体には、ネットワーク及び電源を設置しなくともよく、モバイルデバイスによりネットワーク接続及び給電を行っている。次に、スマートロッカーが、検証コードを生成するように暗号化アルゴリズムを実行し、受信した検証コードと相互に比較し、比較結果に基づいてロックを解除するかどうかを判断する。しかしながら、この方式の各スマートロッカーは、暗号化アルゴリズムを実行する演算能力を有している必要があるため、施工コストを効果的に低下させることができなかった。また、スマートロッカー及びサーバーが実行する暗号化アルゴリズムが同じである必要があるため、管理の手間とコストが上昇した。一例を挙げると、サーバーが暗号化アルゴリズムを更新した場合、全てのスマートロッカーも一緒に更新する必要があるが、スマートロッカー自体がネットワーク機能及び電源を有していない場合、その更新方式は、遠隔から更新できず、スマートロッカーの実際の設置地点に人員を派遣して更新せねばならず、大量の人的コストが掛かった。
【0005】
そこで、本発明者は上記の欠点が改善可能と考え、鋭意検討を重ねた結果、合理的設計で上記の課題を効果的に改善する本発明の提案に至った。
【0006】
本発明は、上記問題点に鑑みて本発明者の鋭意研究により成されたものであり、その目的は、スマートロッカーのアクセスシステム及びそのアクセス方法を提供することにある。
【課題を解決するための手段】
【0007】
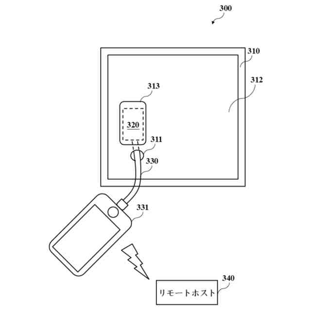
上記目的を達成するために、本発明の一態様であるスマートロッカーのアクセスシステムは、ロッカー及びリモートホストを備え、各ロッカーは、キャビネットと、マザーボードと、送電線と、を含む。キャビネットは、開閉を許可するドアパネルを有し、このドアパネルには電子ドアロックが設置され、前記電子ドアロックは、未給電且つドアパネルが閉鎖されている場合、ロック状態となる。マザーボードは、キャビネット中に設置され、固有識別コードを有し、且つ導線を介して電子ドアロックに電気的に接続されている。送電線は、マザーボードに電気的に接続されていると共に、携帯機器との電気的接続が許可され、電気的に接続されている場合、携帯機器が、固有識別コードを読み取ると共に、ネットワークを介して送信し、送電線が携帯機器からのトリガー信号を受信し、ロック状態からロック解除状態に切り替えるように電子ドアロックを駆動する。次に、リモートホストは、非一時的なコンピュータ可読メディア及びハードウェアプロセッサを含む。非一時的なコンピュータ可読メディアは、複数のコンピュータ可読命令を保存するために用いられ、ハードウェアプロセッサは、非一時的なコンピュータ可読メディアに電気的に接続され、コンピュータ可読命令を実行するために用いられている。ハードウェアプロセッサは、次のように配置されている。携帯機器に指定ロッカー位置メッセージを送信し、携帯機器がロッカーに電気的に接続されている場合、リモートホストが、ネットワークを介して携帯機器から送信された固有識別コード及び識別メッセージを受信し、固有識別コード及び識別メッセージに基づいて、ユーザーIDを確認し、ユーザーIDが有効である場合、トリガー信号を生成して携帯機器に送信し、携帯機器が、受信したトリガー信号に基づいて、ロッカーを開けるように電子ドアロックをトリガーする。
【0008】
上述した課題を解決し、目的を達成するために、本発明の別の態様であるスマートロッカーのアクセス方法は、キャビネットと、マザーボードと、送電線と、を各々備えている複数のロッカーを提供し、キャビネットは、開閉を許可するドアパネルを有し、このドアパネルには電子ドアロックが設置され、前記電子ドアロックは、未給電且つドアパネルが閉鎖されている場合、ロック状態となり、前記マザーボードは、固有識別コードを有し、且つ導線を介して電子ドアロックに電気的に接続されているステップと、リモートホストが、携帯機器に指定ロッカー位置メッセージを送信するステップと、携帯機器が、送電線を介してロッカーに電気的に接続されると、接続されている携帯機器により、ロッカーから固有識別コードを読み取り、読み取った固有識別コードと識別メッセージとを共に、ネットワークを通してリモートホストに送信するステップと、リモートホストが、受信した固有識別コード及び識別メッセージに基づいてユーザーIDを確認し、ユーザーIDが有効である場合、トリガー信号を生成すると共に、携帯機器に送信するステップと、携帯機器が、受信したトリガー信号に基づいて、ロック状態からロック解除状態に切り替えるように、電子ドアロックをトリガーするステップと、を含む。
【発明の効果】
【0009】
本発明に係るシステム及び方法は、上述したように、本発明は、携帯機器によりロッカーの固有識別コードを読み取ると共に、自身の識別メッセージと共にリモートホストに送信し、リモートホストは、ユーザーIDが、指定したロッカーにマッチしているかどうか確認し、マッチしている場合、リモートホストが、トリガー信号を生成して携帯機器に送信し、携帯機器が、ロック状態からロック解除状態に切り替えるように、ロッカーの電子ドアロックをトリガーする点において先行技術と相違する。
【0010】
また、上述の技術的手段により、本発明は、スマートロッカーのコスト削減、及び設置制限の緩和という技術的効果を達成している。
(【0011】以降は省略されています)
この特許をJ-PlatPat(特許庁公式サイト)で参照する
関連特許
個人
ポスト機能付き手提げ金庫
3か月前
株式会社ベスト
軸釣装置
1か月前
株式会社ソリック
ドア装置
1か月前
三協立山株式会社
開口部装置
3か月前
個人
無人貸金庫システム
2か月前
積水ハウス株式会社
引き戸
2か月前
トヨタ自動車株式会社
車両
1か月前
株式会社ベスト
扉及び個室
2か月前
積水ハウス株式会社
引き戸
2か月前
有限会社シティング
引き戸
2か月前
株式会社セリュール
電子錠、電気錠装置
27日前
株式会社セリュール
電子錠、電気錠装置
27日前
日本発條株式会社
リッド開閉装置
6日前
スズキ株式会社
車両用乗員保護装置
3か月前
コイト電工株式会社
蝶番の取付構造
2か月前
朝日電装株式会社
車両用ロック装置
19日前
株式会社ユニオン
ドアハンドル
2か月前
株式会社アイシン
ドア支持装置
2か月前
タキゲン製造株式会社
電動ステー装置
5日前
株式会社アイシン
操作検出装置
13日前
株式会社ベスト
軸釣装置の上吊り手段
27日前
株式会社LIXIL
建具
2か月前
芝浦電子工業株式会社
遠隔解錠システム
1か月前
スガツネ工業株式会社
上吊式引戸
1か月前
株式会社ナガエ
宅配ボックス用の錠装置
2か月前
日本プラスト株式会社
ロック装置
3か月前
株式会社アイシン
車両用ドア装置
2か月前
株式会社アイシン
車両用ドア装置
2か月前
株式会社アイシン
車両用ドア装置
2か月前
トヨタ自動車株式会社
警報制御装置
3か月前
株式会社ガードロック
補助施錠装置
今日
富士電機株式会社
制御装置、制御方法
1か月前
大和ハウス工業株式会社
間仕切り機構
2か月前
株式会社パイオラックス
回転アクチュエータ
11日前
ミネベアショウワ株式会社
引戸用ストライク
1か月前
株式会社アイシン
キックセンサ
1か月前
続きを見る
他の特許を見る