TOP
|
特許
|
意匠
|
商標
特許ウォッチ
Twitter
他の特許を見る
公開番号
2025173963
公報種別
公開特許公報(A)
公開日
2025-11-28
出願番号
2024079871
出願日
2024-05-16
発明の名称
制御装置および制御方法
出願人
株式会社東海理化電機製作所
代理人
個人
,
個人
主分類
E05F
15/73 20150101AFI20251120BHJP(錠;鍵;窓または戸の付属品;金庫)
要約
【課題】移動体に備えられる被制御装置による規定の動作の実行をより効率的に実現する。
【解決手段】移動体に備えられる被制御装置による規定の動作を制御する制御部、を備え、前記制御部は、前記移動体に備えられる無線通信装置とポータブル機器との間における規定の通信規格に準拠した無線通信に基づく認証において前記ポータブル機器の真正性が認められた場合、所定エリアにおける物体の検出処理を開始させ、前記所定エリアにおいて物体が検出された場合、前記被制御装置による規定の動作が実行されるよう制御する、制御装置が提供される。
【選択図】図2
特許請求の範囲
【請求項1】
移動体に備えられる被制御装置による規定の動作を制御する制御部、
を備え、
前記制御部は、前記移動体に備えられる無線通信装置とポータブル機器との間における規定の通信規格に準拠した無線通信に基づく認証において前記ポータブル機器の真正性が認められた場合、所定エリアにおける物体の検出処理を開始させ、前記所定エリアにおいて物体が検出された場合、前記被制御装置による規定の動作が実行されるよう制御する、
制御装置。
続きを表示(約 820 文字)
【請求項2】
前記被制御装置は、前記移動体に備えられるドアを含み、
前記制御装置は、前記所定エリアにおいて物体が検出された場合、前記ドアの開扉が実行されるよう制御する、
請求項1に記載の制御装置。
【請求項3】
前記制御部は、前記所定エリアにおいて物体が検出された場合、かつ前記ポータブル機器を携帯するユーザによる開扉指示が検出された場合、前記ドアの開扉が実行されるよう制御する、
請求項2に記載の制御装置。
【請求項4】
前記制御部は、前記所定エリアにおいて物体が検出された場合、複数の前記ドアのうち前記所定エリアに対応する前記ドアの開扉が実行されるよう制御する、
請求項2に記載の制御装置。
【請求項5】
前記制御部は、前記所定エリアにおいて動体が検出された場合、前記ドアの開扉が実行されるよう制御する、
請求項2に記載の制御装置。
【請求項6】
前記規定の通信規格は、超広帯域無線通信であり、前記検出処理は、超広帯域に属する無線信号を用いた処理である、
請求項2に記載の制御装置。
【請求項7】
前記ドアは、スライドドアである、
請求項2から請求項6までのうちいずれか一項に記載の制御装置。
【請求項8】
移動体に備えられる被制御装置による規定の動作を制御すること、
を含み、
前記制御することは、前記移動体に備えられる無線通信装置とポータブル機器との間における規定の通信規格に準拠した無線通信に基づく認証において前記ポータブル機器の真正性が認められた場合、所定エリアにおける物体の検出処理を開始させ、前記所定エリアにおいて物体が検出された場合、前記被制御装置による規定の動作が実行されるよう制御すること、
をさらに含む、
制御方法。
発明の詳細な説明
【技術分野】
【0001】
本発明は、制御装置および制御方法に関する。
続きを表示(約 1,400 文字)
【背景技術】
【0002】
特許文献1に開示されるように、車載器とポータブル機器との間における無線通信に基づき車両に搭載される被制御装置による規定の動作の実行を制御する技術が開発されている。上記被制御装置には、例えば、ドアが含まれる。
【先行技術文献】
【特許文献】
【0003】
特開平11-208419号公報
【発明の概要】
【発明が解決しようとする課題】
【0004】
しかし、従来における被制御装置による規定の動作の実行には、乗員による操作が求められる場合がある。
【0005】
そこで、本発明は、上記問題に鑑みてなされたものであり、本発明の目的とするところは、移動体に備えられる被制御装置による規定の動作の実行をより効率的に実現することにある。
【課題を解決するための手段】
【0006】
上記課題を解決するために、本発明のある観点によれば、移動体に備えられる被制御装置による規定の動作を制御する制御部、を備え、前記制御部は、前記移動体に備えられる無線通信装置とポータブル機器との間における規定の通信規格に準拠した無線通信に基づく認証において前記ポータブル機器の真正性が認められた場合、所定エリアにおける物体の検出処理を開始させ、前記所定エリアにおいて物体が検出された場合、前記被制御装置による規定の動作が実行されるよう制御する、制御装置が提供される。
【0007】
また、上記課題を解決するために、本発明の別の観点によれば、移動体に備えられる被制御装置による規定の動作を制御すること、を含み、前記制御することは、前記移動体に備えられる無線通信装置とポータブル機器との間における規定の通信規格に準拠した無線通信に基づく認証において前記ポータブル機器の真正性が認められた場合、所定エリアにおける物体の検出処理を開始させ、前記所定エリアにおいて物体が検出された場合、前記被制御装置による規定の動作が実行されるよう制御すること、をさらに含む、制御方法が提供される。
【発明の効果】
【0008】
以上説明したように本発明によれば、移動体に備えられる被制御装置による規定の動作の実行をより効率的に実現することが可能となる。
【図面の簡単な説明】
【0009】
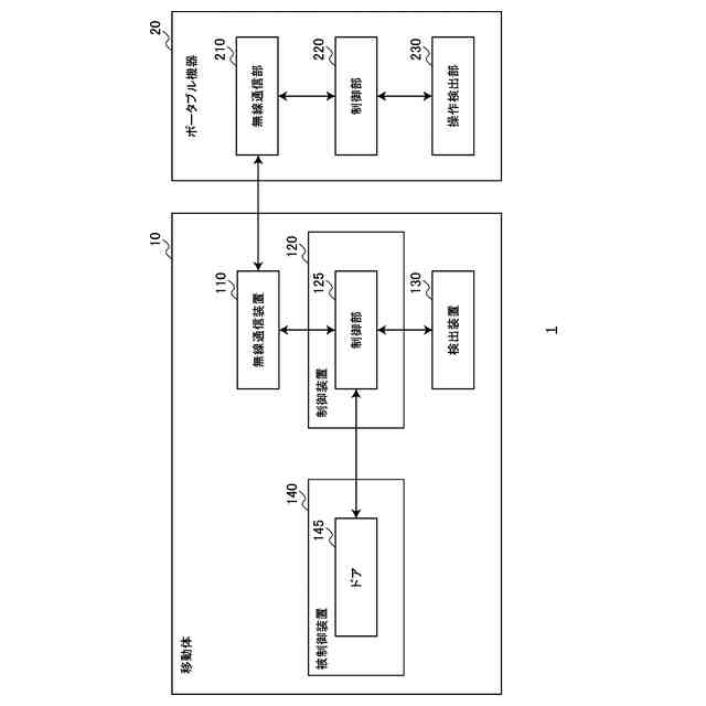
本発明の一実施形態に係る制御システム1の構成例を示すブロック図である。
同実施形態に係る制御装置120による制御の概要を示すフローチャートである。
同実施形態に係る制御システム1がRKEを採用する場合のタイミングャートの一例を示す図である。
同実施形態に係る制御システム1がトリガタイプのSMTを採用する場合のタイミングャートの一例を示す図である。
同実施形態に係るトリガ操作の態様に基づくスライドドアの開扉制御に関するタイミングチャートの一例を示す図である。
【発明を実施するための形態】
【0010】
以下に添付図面を参照しながら、本発明の好適な実施の形態について詳細に説明する。なお、本明細書及び図面において、実質的に同一の機能構成を有する構成要素については、同一の符号を付することにより重複説明を省略する。
(【0011】以降は省略されています)
この特許をJ-PlatPat(特許庁公式サイト)で参照する
関連特許
株式会社ベスト
軸釣装置
1か月前
株式会社ソリック
ドア装置
1か月前
個人
無人貸金庫システム
2か月前
有限会社シティング
引き戸
2か月前
株式会社ベスト
扉及び個室
2か月前
積水ハウス株式会社
引き戸
2か月前
株式会社セリュール
電子錠、電気錠装置
27日前
株式会社セリュール
電子錠、電気錠装置
27日前
トヨタ自動車株式会社
車両
1か月前
日本発條株式会社
リッド開閉装置
6日前
コイト電工株式会社
蝶番の取付構造
2か月前
朝日電装株式会社
車両用ロック装置
19日前
株式会社アイシン
操作検出装置
13日前
株式会社LIXIL
建具
2か月前
タキゲン製造株式会社
電動ステー装置
5日前
株式会社アイシン
ドア支持装置
2か月前
株式会社ユニオン
ドアハンドル
2か月前
株式会社ベスト
軸釣装置の上吊り手段
27日前
株式会社アイシン
車両用ドア装置
2か月前
スガツネ工業株式会社
上吊式引戸
1か月前
株式会社アイシン
車両用ドア装置
2か月前
株式会社アイシン
車両用ドア装置
2か月前
株式会社ナガエ
宅配ボックス用の錠装置
2か月前
芝浦電子工業株式会社
遠隔解錠システム
1か月前
株式会社ガードロック
補助施錠装置
今日
株式会社アイシン
キックセンサ
1か月前
富士電機株式会社
制御装置、制御方法
1か月前
大和ハウス工業株式会社
間仕切り機構
2か月前
株式会社LIXIL
シリンダ錠
2か月前
株式会社パイオラックス
回転アクチュエータ
11日前
ミネベアショウワ株式会社
引戸用ストライク
1か月前
株式会社ノムラテック
錠装置
19日前
トヨタ自動車株式会社
方法
1か月前
三和シヤッター工業株式会社
建具
2か月前
ミネベアミツミ株式会社
ドアラッチ装置
2か月前
株式会社アイシン
車両用ドア装置
1か月前
続きを見る
他の特許を見る