TOP
|
特許
|
意匠
|
商標
特許ウォッチ
Twitter
他の特許を見る
10個以上の画像は省略されています。
公開番号
2025177025
公報種別
公開特許公報(A)
公開日
2025-12-05
出願番号
2024083504
出願日
2024-05-22
発明の名称
引戸用引手
出願人
株式会社久力製作所
代理人
弁理士法人平和国際特許事務所
主分類
E05B
1/06 20060101AFI20251128BHJP(錠;鍵;窓または戸の付属品;金庫)
要約
【課題】 被取付手段の構造を単純化できるようにするとともに、調整幅も比較的大きくとることができるようにして汎用性の向上を図る。
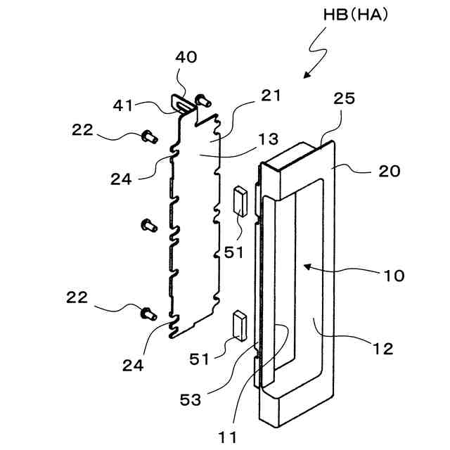
【解決手段】 引戸1の凹部6に設けられる指掛部10を有した一方引手部材HAと他方引手部材HBとを備え、これらの裏面側にこれらの厚さ方向Rの間隔を調整可能に凹部6の底壁面3に1つのビスBにより取付けられる被取付手段Tを設け、一方引手部材HA及び他方引手部材HBを、夫々、指掛部10の前側掛部11及び後側掛部12を有した枠状の手掛本体20と、手掛本体20の裏面側に取付けられ指掛部10の底面部13を構成する底板21とを備えて構成し、被取付手段Tを、第1取付凸部30とこれに重畳する第2取付凸部40とを備えて構成し、この第2取付凸部40を、底板21に設けた。
【選択図】 図1
特許請求の範囲
【請求項1】
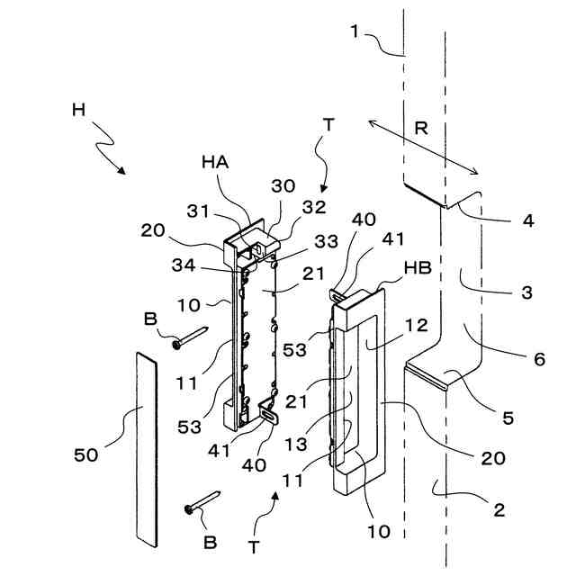
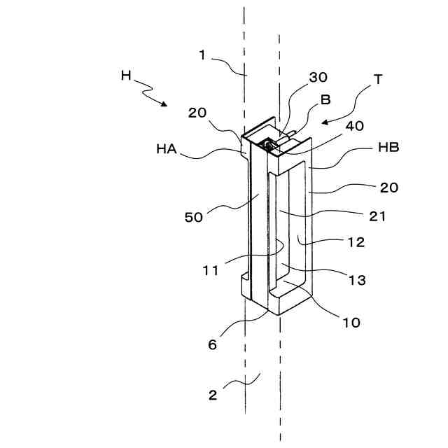
引戸の開閉方向の木口端面に開放して形成され底壁面,上壁面及び下壁面を有した略矩形状の凹部に装着される引戸用引手において、
上記凹部の引戸の厚さ方向一方面側に設けられ該一方面側に指を掛けるための指掛部を有した一方引手部材と、上記凹部の引戸の厚さ方向他方面側に設けられるとともに該他方面側に指を掛けるための指掛部を有した他方引手部材とを備え、
上記指掛部を、上記凹部の木口端面側の前側掛部,上記凹部の底壁面側の後側掛部及び底面部を有して凹状に形成し、
上記一方引手部材及び他方引手部材の互いに対向する裏面側に、該一方引手部材及び他方引手部材がこれらの上記引戸の厚さ方向の間隔を調整可能に上記凹部の底壁面に1つのビスにより取付けられる被取付手段を設け、
上記一方引手部材及び他方引手部材を、夫々、上記前側掛部及び後側掛部を有した枠状の手掛本体と、該手掛本体の裏面側に取付けられ上記底面部を構成する底板とを備えて構成し、
上記被取付手段の全部もしくは一部を、上記底板に設けたことを特徴とする引戸用引手。
続きを表示(約 1,300 文字)
【請求項2】
上記被取付手段を、上記一方引手部材または他方引手部材の裏面側に突設され上記凹部の底壁面に当接するとともに上記ビスが挿通される第1挿通孔が形成された第1取付凸部と、該第1取付凸部が突設された方とは反対側の上記一方引手部材または他方引手部材の裏面側に突設され上記第1取付凸部の上記引戸の木口端面側に重畳するとともに上記ビスが挿通される第2挿通孔が形成された第2取付凸部とを備えて構成し、
上記第1取付凸部及び第2取付凸部の少なくともいずれか一方を、上記底板に設け、
該底板に設けられる上記第1取付凸部の第1挿通孔及び/または上記第2取付凸部の第2挿通孔を、上記引戸の厚さ方向に長い長孔で構成したことを特徴とする請求項1記載の引戸用引手。
【請求項3】
上記被取付手段を、上下に一対設け、
上記上側の被取付手段において、上記第1取付凸部を、上記一方引手部材及び他方引手部材のいずれか一方の上記手掛本体の裏面側に設け、上記第2取付凸部を、上記一方引手部材及び他方引手部材のいずれか他方の上記底板の裏面側に設け、
上記下側の被取付手段において、上記第1取付凸部を、上記一方引手部材及び他方引手部材のいずれか他方の上記手掛本体の裏面側に設け、上記第2取付凸部を、上記一方引手部材及び他方引手部材のいずれか一方の上記底板の裏面側に設けたことを特徴とする請求項2記載の引戸用引手。
【請求項4】
上記一方引手部材及び他方引手部材を、同じ大きさで同じ形状に形成し、互いに上下逆の関係でこれらの底板同士が向き合うように配置することを特徴とする請求項3記載の引戸用引手。
【請求項5】
上記第1取付凸部を、上記凹部の底壁面に接合する接合外面と、上記第2取付凸部が接合する接合内面とを有したブロック状に形成し、上記第2取付凸部を、上記第1取付凸部の接合内面に接合するように上記底板の一部を折曲して一体形成したことを特徴とする請求項4記載の引戸用引手。
【請求項6】
上記手掛本体に、上記第2取付凸部の先端側が上記引戸の厚さ方向に進退動可能に没入可能な穴部を形成したことを特徴とする請求項5記載の引戸用引手。
【請求項7】
上記手掛本体を金属製の鋳物で形成し、上記底板を金属製板で形成し、該底板を、上記手掛本体に小ネジで止着することを特徴とする請求項1乃至6何れかに記載の引戸用引手。
【請求項8】
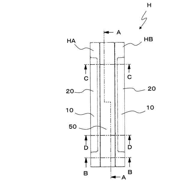
上記一方引手部材及び他方引手部材の上記引戸の木口端面側の木口側表面に、該一方引手部材及び他方引手部材に跨って設けられ該一方引手部材及び他方引手部材の間を覆う板状のカバーを備え、
該カバーを磁着材料で形成し、
上記一方引手部材及び他方引手部材に、夫々、上記カバーを磁着するマグネットを内装したことを特徴とする請求項1乃至6何れかに記載の引戸用引手。
【請求項9】
上記手掛本体に、上記底板で覆われ上記マグネットを収容する収容穴を形成したことを特徴とする請求項8記載の引戸用引手。
発明の詳細な説明
【技術分野】
【0001】
本発明は、引戸の木口に形成した凹部に装着され引戸の開閉操作を行うための引戸用引手に係り、特に、指掛部を有した引手部材を引戸の厚さ方向両面に夫々備えた引戸用引手に関する。
続きを表示(約 3,000 文字)
【背景技術】
【0002】
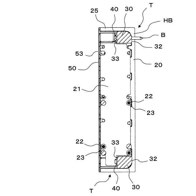
従来、この種の引戸用引手としては、例えば、特許文献1(特開2019-70251号公報)に記載されたものが知られている。図10に示すように、この引戸用引手Haは、引戸1の開閉方向の木口端面2に開放して形成され底壁面3,上壁面(図示せず)及び下壁面(図示せず)を有した略矩形状の凹部6に装着され、この凹部6の引戸1の厚さ方向Rの一方面側に設けられるとともに一方面側に指を掛けるための指掛部100を有した一方引手部材110aと、凹部6の引戸1の厚さ方向Rの他方面側に設けられるとともに他方面側に一方引手部材110aと同じ指掛部100を有した他方引手部材110bとを備えて構成されている。指掛部100は、凹部6の木口端面2側の前側掛部101,凹部6の底壁面3側の後側掛部102及び底面部103を有して凹状に形成されている。一方引手部材110a及び他方引手部材110bは、例えば、亜鉛ダイカスト製のものである。
【0003】
この従来の引戸用引手Haにおいては、引戸1としては厚さの異なるものが種々あることから、これに対応するために、一方引手部材110a及び他方引手部材110bの互いに対向する裏面側には、一方引手部材110a及び他方引手部材110bがこれらの凹部6の引戸の厚さ方向Rの間隔を調整可能に凹部6の底壁面3に1つのビスBにより取付けられる被取付手段120が設けられている。被取付手段120は、上下に一対設けられている。この被取付手段120は、一方引手部材110a及び他方引手部材110bの互いに対向する裏面に夫々設けられビスBの通る溝が形成された断面半円錐台状に形成された部分を有する一体成形された後側凸部121及び別体の前側凸部122と、これらの後側凸部121及び前側凸部122に夫々係合しビスBのねじ込みによって、一方引手部材110a及び他方引手部材110bをビスB側に引き寄せる断面傘型の一対の金具123,124とから構成されており、金具の引き寄せ程度によって、一方引手部材110a及び他方引手部材110bの間隔を調整して引戸の厚さに対応するようにしている。符号125は、一方引手部材110a及び他方引手部材110bの表面側でこれらに跨って設けられ、一方引手部材110a及び他方引手部材110bの間を覆う板状のカバーである。
【先行技術文献】
【特許文献】
【0004】
特開2019-70251号公報
【発明の概要】
【発明が解決しようとする課題】
【0005】
ところで、この従来の引戸用引手Haにおいて、被取付手段120は、一体成形された後側凸部121及び別体の前側凸部122を備えるとともにこれらに係合する断面傘型の一対の金具123,124を備えて構成されているので、その構造が複雑になっている。また、後側凸部121及び前側凸部122に対する金具123,124の係合が浅くなることがあるので、調整幅が比較的小さく、係合が浅くなるとその保持も不安定になる。そのため、汎用性に劣るという問題があった。
本発明は上記の問題点に鑑みて為されたもので、被取付手段の構造を単純化できるようにするとともに、調整幅も比較的大きくとることができるようにして汎用性の向上を図った引戸用引手を提供することを目的とする。
【課題を解決するための手段】
【0006】
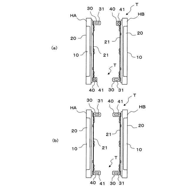
このような目的を達成するための本発明の引戸用引手は、引戸の開閉方向の木口端面に開放して形成され底壁面,上壁面及び下壁面を有した略矩形状の凹部に装着される引戸用引手において、
上記凹部の引戸の厚さ方向一方面側に設けられ該一方面側に指を掛けるための指掛部を有した一方引手部材と、上記凹部の引戸の厚さ方向他方面側に設けられるとともに該他方面側に指を掛けるための指掛部を有した他方引手部材とを備え、
上記指掛部を、上記凹部の木口端面側の前側掛部,上記凹部の底壁面側の後側掛部及び底面部を有して凹状に形成し、
上記一方引手部材及び他方引手部材の互いに対向する裏面側に、該一方引手部材及び他方引手部材がこれらの上記引戸の厚さ方向の間隔を調整可能に上記凹部の底壁面に1つのビスにより取付けられる被取付手段を設け、
上記一方引手部材及び他方引手部材を、夫々、上記前側掛部及び後側掛部を有した枠状の手掛本体と、該手掛本体の裏面側に取付けられ上記底面部を構成する底板とを備えて構成し、
上記被取付手段の全部もしくは一部を、上記底板に設けた構成としている。
【0007】
これにより、一方引手部材及び他方引手部材を作成するときは、予め、手掛本体と、底板とを所要の形状に作成する。例えば、手掛本体を、亜鉛等からなる金属製のダイカスト製品等の鋳物で形成し、底板を金属製板で形成する。この場合、底板は板状なので、被取付手段を、例えば、底板の一部を折曲して形成することができることから、被取付手段を形成し易くすることができる。また、被取付手段の全部もしくは一部を底板に設けたので、ビスで取付けられる部分を長く形成し易くなる。即ち、一方引手部材及び他方引手部材においては、手掛本体と底板とを別々に作成するので、特に底板に形成する被取付手段を形成し易くなり、それだけ、被取付手段の構造を単純化できるようにすることができる。
【0008】
そして、一方引手部材及び他方引手部材においては、手掛本体に、底板を取付けることにより、これらを完成させる。この底板の取付けは、例えば、接着やネジ手段等の適宜の手段で行うことができる。
【0009】
また、本引戸用引手を、引戸の凹部に装着するときは、凹部の引戸の厚さ方向一方面側に一方引手部材を配置し、凹部の引戸の厚さ方向他方面側に他方引手部材を配置し、被取付手段を、ビスを凹部の底壁面にねじ込むことによりこの底壁面に取付ける。この際には、一方引手部材と他方引手部材との間隔を、引戸の厚さに合わせて調整し、適正な間隔になった位置で、ビスをねじ込む。この場合、被取付手段の全部もしくは一部を底板に設けたので、ビスで取付けられる部分を長く形成し易くなり、それだけ、一方引手部材と他方引手部材との間隔の調整幅を比較的大きくとることができるようになる。その結果、種々の厚さの引戸に対応でき易くなり、汎用性を向上させることができる。
【0010】
より具体的には、本発明は、必要に応じ、上記被取付手段を、上記一方引手部材または他方引手部材の裏面側に突設され上記凹部の底壁面に当接するとともに上記ビスが挿通される第1挿通孔が形成された第1取付凸部と、該第1取付凸部が突設された方とは反対側の上記一方引手部材または他方引手部材の裏面側に突設され上記第1取付凸部の上記引戸の木口端面側に重畳するとともに上記ビスが挿通される第2挿通孔が形成された第2取付凸部とを備えて構成し、
上記第1取付凸部及び第2取付凸部の少なくともいずれか一方を、上記底板に設け、
該底板に設けられる上記第1取付凸部の第1挿通孔及び/または上記第2取付凸部の第2挿通孔を、上記引戸の厚さ方向に長い長孔で構成している。
(【0011】以降は省略されています)
この特許をJ-PlatPat(特許庁公式サイト)で参照する
関連特許
株式会社ベスト
軸釣装置
1か月前
株式会社ソリック
ドア装置
1か月前
個人
無人貸金庫システム
2か月前
株式会社ベスト
扉及び個室
2か月前
日本発條株式会社
リッド開閉装置
6日前
株式会社セリュール
電子錠、電気錠装置
27日前
株式会社セリュール
電子錠、電気錠装置
27日前
積水ハウス株式会社
引き戸
2か月前
トヨタ自動車株式会社
車両
1か月前
朝日電装株式会社
車両用ロック装置
19日前
コイト電工株式会社
蝶番の取付構造
2か月前
株式会社アイシン
ドア支持装置
2か月前
株式会社アイシン
操作検出装置
13日前
株式会社ベスト
軸釣装置の上吊り手段
27日前
タキゲン製造株式会社
電動ステー装置
5日前
株式会社LIXIL
建具
2か月前
株式会社アイシン
車両用ドア装置
2か月前
株式会社アイシン
車両用ドア装置
2か月前
スガツネ工業株式会社
上吊式引戸
1か月前
株式会社アイシン
車両用ドア装置
2か月前
芝浦電子工業株式会社
遠隔解錠システム
1か月前
株式会社LIXIL
シリンダ錠
2か月前
株式会社パイオラックス
回転アクチュエータ
11日前
株式会社アイシン
キックセンサ
1か月前
大和ハウス工業株式会社
間仕切り機構
2か月前
富士電機株式会社
制御装置、制御方法
1か月前
ミネベアショウワ株式会社
引戸用ストライク
1か月前
トヨタ自動車株式会社
方法
1か月前
ミネベアミツミ株式会社
ドアラッチ装置
2か月前
三和シヤッター工業株式会社
建具
2か月前
株式会社ノムラテック
錠装置
19日前
株式会社アイシン
車両用ドア装置
1か月前
株式会社大林組
障子および障子の組付構造
5日前
株式会社アルファ
ハンドル装置
1か月前
敷島金属工業株式会社
ダイヤル錠
1か月前
株式会社オカムラ
移動間仕切装置
2か月前
続きを見る
他の特許を見る