TOP
|
特許
|
意匠
|
商標
特許ウォッチ
Twitter
他の特許を見る
公開番号
2025171314
公報種別
公開特許公報(A)
公開日
2025-11-20
出願番号
2024076519
出願日
2024-05-09
発明の名称
錠装置
出願人
株式会社ノムラテック
代理人
名古屋国際弁理士法人
主分類
E05B
65/08 20060101AFI20251113BHJP(錠;鍵;窓または戸の付属品;金庫)
要約
【課題】 閉じる位置に引き戸を保持するための錠装置の一例を開示する。
【解決手段】 第1閂部5A及び第2閂部5Bを有して略J字状に構成された連結部材5にてプレート3と係止ブロック4とを連結する。これにより、第1閂部5Aが挿入された状態において、利用者が第1挿入穴4Aから離脱させようとしても、連結部材5と第2ドアSD2とが干渉するため、第1閂部5Aを離脱させることができない。一方、第2閂部5Bが挿入された状態において、利用者が第2閂部5Bを離脱させようとした場合、第2閂部5Bの延び方向の長さが第1閂部5Aの延び方向の長さより短いので、連結部材5と第2ドアSD2とが干渉する前に、第2閂部5Bが第1挿入穴4Aから離脱する。
【選択図】 図9
特許請求の範囲
【請求項1】
開口を閉じる位置と当該開口を開放する位置との間で変位可能な引き戸、及び前記引き戸と対向する部材であって施錠時に不動となり得る部材を有する構造物に適用され、前記引き戸を当該閉じる位置に保持するための錠装置において、
前記「不動となり得る部材」に引っ掛かって係止される係止部、及び前記引き戸の変位方向一端側に引っ掛かって係止される係止部を備え、それら2つの係止部のうちいずれか一方の係止部を第1係止部とし、他方の係止部を第2係止部としたとき、
前記引き戸と前記「不動となり得る部材」との隙間に挿入可能な厚み寸法を有するプレートであって、凹凸状の係合部を有するプレートと、
前記係合部と係合する状態と当該係合が解除された状態とを切り替えることが可能な錠本体であって、前記第1係止部を成す錠本体と、
前記プレートと前記第2係止部とを連結する連結部材であって、第1閂部及び第2閂部を有して略J字状に構成された連結部材とを備え、
前記第1閂部は、前記プレート及び前記第2係止部に対して着脱自在に挿入可能であり、
前記第2閂部は、前記プレート及び前記第2係止部に対して着脱自在に挿入可能であって、前記第1閂部から離間した位置にて当該第1閂部と平行に延びるとともに、その延び方向の長さが前記第1閂部より短く、
前記プレートの長手方向端部側には、前記第1閂部又は前記第2閂部が当該プレートの厚み方向に着脱自在に挿入可能な連結穴が設けられ、
前記第2係止部には、前記連結穴を貫通した前記第1閂部又は前記第2閂部が着脱自在に挿入可能な挿入穴が設けられ、
さらに、前記連結穴を通して前記挿入穴に前記第1閂部が挿入された状態では、前記第2閂部が前記プレートの長手方向端部に接触又は当該端部から離間した状態となり、かつ、
前記連結穴を通して前記挿入穴に前記第2閂部が挿入された状態では、前記第1閂部が前記プレートの長手方向端部に接触又は当該端部から離間した状態となる錠装置。
続きを表示(約 550 文字)
【請求項2】
前記挿入穴の内壁面には、当該第2係止部を固定するためのネジが挿入されるネジ穴が設けられており、
さらに、前記挿入穴に前記第1閂部が挿入された状態においては、前記ネジ穴に当該第1閂部が対向した状態となる請求項1に記載の錠装置。
【請求項3】
前記挿入穴を第1挿入穴としたとき、
前記第2係止部には、前記第1閂部又は前記第2閂部が着脱自在に挿入可能な第2挿入穴が設けられており、
前記第1挿入穴に前記第1閂部が挿入された状態では、前記第2挿入穴に前記第2閂部が挿入された状態となり、
さらに、前記第1挿入穴に前記第2閂部が挿入された状態では、前記第2挿入穴に前記第1閂部が挿入された状態となる請求項1又は2に記載の錠装置。
【請求項4】
前記連結部材が前記第2係止部から外れることを防止する外れ止めを備える請求項3に記載の錠装置。
【請求項5】
前記外れ止めは、雄ねじ部を有する雄ねじ棒であり、
さらに、前記第1挿入穴及び前記第2挿入穴を構成する壁部には、前記雄ねじ棒とネジ結合可能なネジ穴は設けられ、かつ、前記第1閂部には、前記雄ねじ棒が貫通する貫通穴が設けられている請求項4に記載の錠装置。
発明の詳細な説明
【技術分野】
【0001】
本開示は、閉じる位置に引き戸を保持するための錠装置に関する。
続きを表示(約 1,600 文字)
【背景技術】
【0002】
例えば、特許文献1に記載の錠装置では、係止(掛止)用主板の一端側がビスにて引き戸に固定され、錠本体が係止用主板に係止可能な構成となっている。そして、錠本体が係止用主板に係止されると、他方の引き戸の移動が当該錠本体により阻害されるため、2つの引き戸が施錠された状態となる。
【先行技術文献】
【特許文献】
【0003】
登録実用新案第3007975号公報
特許第3848103号公報
【発明の概要】
【発明が解決しようとする課題】
【0004】
例えば、鍵が無い場合に緊急に解錠する必要がある場合(以下、緊急解錠ともいう。)、特許文献1に記載の錠装置では、係止用主板を固定しているビスを外す必要がある。このため、特許文献1に記載の錠装置では、緊急解錠をすることが難しい。
【0005】
これに対して、特許文献2に記載の錠装置では、係止用主板に相当するロックバーが、他方の引き戸にビスにて固定された戸当板に連結ピンを介して連結されている。このため、緊急解錠を行う者は、当該連結ピンを上下方向に引き抜くことにより、容易に引き戸を緊急解錠することができる。
【0006】
しかし、特許文献2に記載の錠装置では、常時、連結ピンを引き抜くことが可能であるので、錠装置としての本来的な機能(例えば、施錠による防犯機能)を十分に発揮することができないおそれが高い。本開示は、上記点に鑑み、錠装置の一例を開示する。
【課題を解決するための手段】
【0007】
開口を閉じる位置と当該開口を開放する位置との間で変位可能な引き戸(SD1)、及び引き戸(SD1)と対向する部材(SD2)であって施錠時に不動となり得る部材(SD2)を有する構造物に適用され、引き戸(SD1)を当該閉じる位置に保持するための錠装置は、例えば、以下の構成要件を備えることが望ましい。
【0008】
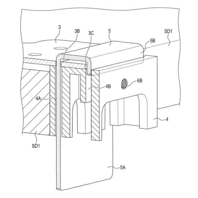
すなわち、当該構成要件は、「不動となり得る部材(SD2)」に引っ掛かって係止される係止部(2)、及び引き戸(SD1)の変位方向一端側に引っ掛かって係止される係止部(4)を備え、それら2つの係止部(2、4)のうちいずれか一方の係止部を第1係止部(2)とし、他方の係止部(4)を第2係止部(4)としたとき、引き戸(SD1)と「不動となり得る部材(SD2)」との隙間に挿入可能な厚み寸法を有するプレート(3)であって、凹凸状の係合部(3A)を有するプレート(3)と、係合部(3A)と係合する状態と当該係合が解除された状態とを切り替えることが可能な錠本体(2)であって、第1係止部(2)を成す錠本体(2)と、プレート(3)と第2係止部(4)とを連結する連結部材(5)であって、第1閂部(5A)及び第2閂部(5B)を有して略J字状に構成された連結部材(5)とである。
【0009】
そして、第1閂部(5A)は、プレート(3)及び第2係止部(4)に対して着脱自在に挿入可能であり、第2閂部(5B)は、プレート(3)及び第2係止部(4)に対して着脱自在に挿入可能であって、第1閂部(5A)から離間した位置にて当該第1閂部(5A)と平行に延びるとともに、その延び方向の長さが第1閂部(5A)より短い。
【0010】
プレート(3)の長手方向端部側には、第1閂部(5A)又は第2閂部(5B)が当該プレート(3)の厚み方向に着脱自在に挿入可能な連結穴(3B)が設けられ、第2係止部(4)には、連結穴(3B)を貫通した第1閂部(5A)又は第2閂部(5B)が着脱自在に挿入可能な挿入穴(4A)が設けられている。
(【0011】以降は省略されています)
この特許をJ-PlatPat(特許庁公式サイト)で参照する
関連特許
株式会社ベスト
軸釣装置
1か月前
個人
ポスト機能付き手提げ金庫
3か月前
株式会社ソリック
ドア装置
1か月前
三協立山株式会社
開口部装置
3か月前
個人
無人貸金庫システム
2か月前
日本発條株式会社
リッド開閉装置
9日前
有限会社シティング
引き戸
2か月前
積水ハウス株式会社
引き戸
2か月前
株式会社ベスト
扉及び個室
2か月前
トヨタ自動車株式会社
車両
1か月前
株式会社セリュール
電子錠、電気錠装置
1か月前
株式会社セリュール
電子錠、電気錠装置
1か月前
積水ハウス株式会社
引き戸
2か月前
スズキ株式会社
車両用乗員保護装置
3か月前
コイト電工株式会社
蝶番の取付構造
2か月前
朝日電装株式会社
車両用ロック装置
22日前
株式会社アイシン
ドア支持装置
2か月前
タキゲン製造株式会社
電動ステー装置
8日前
株式会社ベスト
軸釣装置の上吊り手段
1か月前
株式会社LIXIL
建具
2か月前
株式会社アイシン
操作検出装置
16日前
株式会社ユニオン
ドアハンドル
2か月前
株式会社アイシン
車両用ドア装置
2か月前
日本プラスト株式会社
ロック装置
3か月前
株式会社アイシン
車両用ドア装置
2か月前
スガツネ工業株式会社
上吊式引戸
1か月前
株式会社ナガエ
宅配ボックス用の錠装置
2か月前
芝浦電子工業株式会社
遠隔解錠システム
1か月前
株式会社アイシン
車両用ドア装置
2か月前
トヨタ自動車株式会社
警報制御装置
3か月前
株式会社ガードロック
補助施錠装置
3日前
株式会社アイシン
キックセンサ
1か月前
株式会社LIXIL
シリンダ錠
2か月前
富士電機株式会社
制御装置、制御方法
1か月前
大和ハウス工業株式会社
間仕切り機構
2か月前
ミネベアショウワ株式会社
引戸用ストライク
1か月前
続きを見る
他の特許を見る