TOP
|
特許
|
意匠
|
商標
特許ウォッチ
Twitter
他の特許を見る
10個以上の画像は省略されています。
公開番号
2025140695
公報種別
公開特許公報(A)
公開日
2025-09-29
出願番号
2024040240
出願日
2024-03-14
発明の名称
間仕切り機構
出願人
大和ハウス工業株式会社
代理人
個人
,
個人
主分類
E05D
15/00 20060101AFI20250919BHJP(錠;鍵;窓または戸の付属品;金庫)
要約
【課題】傾斜した天井の下で移動可能な間仕切り本体を安定して保持することができる間仕切り機構を提供する。
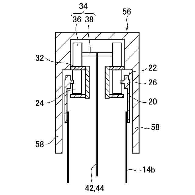
【解決手段】本発明の一つの実施形態に係る間仕切り機構10は、勾配天井Kの下にて移動可能な間仕切り本体12と、勾配天井Kの傾斜方向に沿って延出したレール20と、間仕切り本体12が移動する際にレール20上を転動する転動体22と、転動体22の外周面に当接する当接部材32と、第1位置と第2位置との間を移動可能な移動体34と、移動体34を移動させる際に操作される操作部52と、を備える。そして、移動体34が第1位置から第2位置に至ることで、転動体22の外周面に対する当接部材32の当接力が増加する。
【選択図】図2
特許請求の範囲
【請求項1】
傾斜した天井の下にて移動可能な間仕切り本体と、
前記天井の傾斜方向に沿って延出したレールと、
前記間仕切り本体が移動する際に前記レール上を転動する転動体と、
前記転動体の外周面に当接する当接部材と、
第1位置と第2位置との間を移動可能であり、前記第1位置から前記第2位置に至ることで、前記転動体の外周面に対する前記当接部材の当接力を増加させる移動体と、
前記移動体を移動させる際に操作される操作部と、を備える間仕切り機構。
続きを表示(約 1,400 文字)
【請求項2】
前記当接部材は、ゴム製の帯体によって構成され、前記移動体の移動に応じて変形し、
前記移動体が前記第2位置にあるときの前記当接部材と前記外周面との接触面積が、前記移動体が前記第1位置にあるときの前記接触面積よりも大きい、請求項1に記載の間仕切り機構。
【請求項3】
前記転動体は、前記当接部材の下面と前記レールとの間に配置された下方ホイールを含み、
前記移動体は、前記当接部材の上面に載置された上方ホイールであり、前記第1位置から前記第2位置に至ることで、前記当接部材のうち、前記上方ホイールが載置された部分を、前記上方ホイールの外周面に沿って湾曲させる、請求項2に記載の間仕切り機構。
【請求項4】
前記転動体は、前記傾斜方向において間隔を空けて並んだ2つの前記下方ホイールを含み、
前記上方ホイールが前記第2位置にある状態では、前記上方ホイールのうち、前記当接部材と接している部分が、前記傾斜方向において2つの前記下方ホイールの間に入り込んでいる、請求項3に記載の間仕切り機構。
【請求項5】
前記当接部材を構成する前記ゴム製の帯体は、前記傾斜方向に沿って延びており、前記転動体が転動可能な範囲の全域に亘って設けられている、請求項2に記載の間仕切り機構。
【請求項6】
前記操作部の動きを前記移動体に伝達する伝達機構と、
前記移動体が前記第2位置にある状態で前記操作部の動きをロックするロック部と、をさらに有する、請求項1に記載の間仕切り機構。
【請求項7】
前記間仕切り本体には、前記移動体の移動方向に沿う第1孔と、前記移動方向と交差する第2孔が設けられ、
前記操作部は、前記第1孔及び前記第2孔のそれぞれに係合可能なピン部を有し、
前記ロック部は、前記第2孔によって構成され、前記ピン部が前記第2孔に係合することで、前記移動方向における前記操作部の動きをロックする、請求項6に記載の間仕切り機構。
【請求項8】
前記傾斜方向における前記間仕切り機構の一端部及び他端部のそれぞれに、前記転動体及び前記移動体が設けられており、
前記操作部は、前記一端部及び前記他端部のうちの少なくとも一方に設けられており、
前記伝達機構は、前記操作部の動きを、前記一端部側の前記移動体、及び、前記他端部側の前記移動体に伝達する、請求項6に記載の間仕切り機構。
【請求項9】
前記伝達機構は、
前記一端部に設けられ、前記操作部に接続されており、且つ、前記一端部側の前記移動体を移動させるために動作する第1動作体と、
前記他端部に設けられ、前記他端部側の前記移動体を移動させるために動作する第2動作体と、
前記第1動作体と前記第2動作体とを連結する連結部と、を備える、請求項8に記載の間仕切り機構。
【請求項10】
前記第1動作体における前記操作部との接続箇所は、前記傾斜方向において前記一端部側の前記移動体よりも前記他端部に近い位置にあり、
前記第2動作体における前記連結部との接続箇所は、前記傾斜方向において前記他端部側の前記移動体よりも前記一端部に近い位置にある、請求項9に記載の間仕切り機構。
(【請求項11】以降は省略されています)
発明の詳細な説明
【技術分野】
【0001】
本発明は、間仕切り機構に係り、特に、傾斜した天井の下で利用される間仕切り機構に関する。
続きを表示(約 1,900 文字)
【背景技術】
【0002】
いわゆる勾配天井のように傾斜した天井が設けられた建物において、その天井の下方位置で可動型の間仕切りが利用される場合がある(例えば、特許文献1参照)。勾配天井では、床から天井までの距離、すなわち天井の高さが天井の傾斜方向に沿って漸次的に変化するため、可動型の間仕切りは、天井高さの変化に追従するように構成されている必要がある。そのような状況では、例えば、天井の傾斜方向に沿って延出したレールを設置し、このレールに沿って転動する車輪等の転動体によって、間仕切りの本体部分を支持させることで、天井の傾斜方向に沿って高さが変えられる間仕切りが利用可能である。
【先行技術文献】
【特許文献】
【0003】
特開2020-151460号公報
【発明の概要】
【発明が解決しようとする課題】
【0004】
しかしながら、上記の構成では、レール上の移動体が意図せずにレールに沿って滑り落ちてしまう虞があり、その場合、間仕切りの使用状態及び配置位置等を安定させることが困難となる。
【0005】
そこで、本発明は、上記の課題に鑑みてなされたものであり、その目的とするところは、傾斜した天井の下で移動可能な間仕切り本体を安定して保持することができる間仕切り機構を提供することである。
【課題を解決するための手段】
【0006】
上記の課題は、本発明の間仕切り機構によれば、傾斜した天井の下にて移動可能な間仕切り本体と、天井の傾斜方向に沿って延出したレールと、間仕切り本体が移動する際にレール上を転動する転動体と、転動体の外周面に当接する当接部材と、第1位置と第2位置との間を移動可能であり、第1位置から第2位置に至ることで、転動体の外周面に対する当接部材の当接力を増加させる移動体と、移動体を移動させる際に操作される操作部と、を備えることにより解決される。
上記のように構成された本発明の間仕切り機構では、操作部の操作に応じて、移動体が移動することで、当接部材から転動体の外周面に作用する当接力を変化させることができる。これにより、転動体がレール上を転動可能な状態と、転動体の転動が規制される状態とを容易に切り替えることができ、また、転動体の転動が規制される状態を維持することで、間仕切り本体をその時点での配置位置にて安定させることができる。
【0007】
また、本発明の間仕切り機構において、当接部材は、ゴム製の帯体によって構成され、移動体の移動に応じて変形してもよい。この場合、移動体が第2位置にあるときの当接部材と外周面との接触面積が、移動体が第1位置にあるときの接触面積よりも大きいとよい。
上記の構成によれば、より簡単な構造によって、移動体が第2位置にあるときの、当接部材から転動体の外周面に作用する当接力をより大きくすることができる。
【0008】
また、本発明の間仕切り機構において、転動体は、当接部材の下面とレールとの間に配置された下方ホイールを含んでもよい。また、移動体は、当接部材の上面に載置された上方ホイールであり、第1位置から第2位置に至ることで、当接部材のうち、上方ホイールが載置された部分を、上方ホイールの外周面に沿って湾曲させてもよい。
上記の構成によれば、移動体が第2位置にあるときの、当接部材から転動体の外周面に作用する当接力をより大きくするための構造が、より一層シンプルなものとなる。
【0009】
また、本発明の間仕切り機構において、転動体は、傾斜方向において間隔を空けて並んだ2つの下方ホイールを含んでもよい。この場合、上方ホイールが第2位置にある状態では、上方ホイールのうち、当接部材と接している部分が、傾斜方向において2つの下方ホイールの間に入り込んでいるとよい。
上記の構成によれば、移動体が第2位置にあるときの、当接部材から転動体の外周面に作用する当接力をより大きくするための構造が、一段とシンプルなものとなる。
【0010】
また、本発明の間仕切り機構において、当接部材を構成するゴム製の帯体は、傾斜方向に沿って延びており、転動体が転動可能な範囲の全域に亘って設けられているとよい。
上記の構成によれば、間仕切り本体の移動範囲における各位置にて、間仕切り本体を安定して保持することができる。
(【0011】以降は省略されています)
この特許をJ-PlatPat(特許庁公式サイト)で参照する
関連特許
大和ハウス工業株式会社
換気設備
8日前
大和ハウス工業株式会社
座屈拘束ブレース
2日前
大和ハウス工業株式会社
天井構造及び短尺の金物
2日前
大和ハウス工業株式会社
木鋼耐火柱とその施工方法
1日前
個人
物品保管箱
2か月前
個人
防犯用ドア装置
3か月前
個人
ピンシリンダー錠。
4か月前
個人
二重ロック機能付小物入れ
3か月前
個人
顔認証による入室システム
3か月前
個人
ポスト機能付き手提げ金庫
2か月前
株式会社ベスト
軸釣装置
2日前
株式会社ソリック
ドア装置
10日前
株式会社ニシムラ
ラッチ錠
4か月前
ミサワホーム株式会社
錠受具
4か月前
三協立山株式会社
開口部装置
2か月前
株式会社アルファ
電気錠
3か月前
リョービ株式会社
ドアクローザ
3か月前
リョービ株式会社
ドアクローザ
3か月前
個人
無人貸金庫システム
1か月前
トヨタ自動車株式会社
車両
13日前
株式会社ベスト
開き扉の開閉装置
2か月前
株式会社ベスト
扉及び個室
1か月前
積水ハウス株式会社
引き戸
1か月前
有限会社シティング
引き戸
1か月前
株式会社榮伸
カバン蓋の係止装置
2か月前
積水ハウス株式会社
引き戸
1か月前
美和ロック株式会社
ハンドル装置
4か月前
タキゲン製造株式会社
抜差し蝶番
4か月前
ミネベアショウワ株式会社
ドア装置
2か月前
ミネベアショウワ株式会社
ドア装置
2か月前
スズキ株式会社
車両用乗員保護装置
2か月前
美和ロック株式会社
IDキー
3か月前
コイト電工株式会社
蝶番の取付構造
27日前
ミネベアミツミ株式会社
電気錠
5か月前
株式会社WEST inx
引戸用引手
4か月前
株式会社LIXIL
建具
1か月前
続きを見る
他の特許を見る