TOP
|
特許
|
意匠
|
商標
特許ウォッチ
Twitter
他の特許を見る
公開番号
2025139483
公報種別
公開特許公報(A)
公開日
2025-09-26
出願番号
2024038444
出願日
2024-03-12
発明の名称
移動間仕切装置
出願人
株式会社オカムラ
代理人
個人
,
個人
,
個人
,
個人
主分類
E05D
15/00 20060101AFI20250918BHJP(錠;鍵;窓または戸の付属品;金庫)
要約
【課題】設置場所での作業が簡便な移動間仕切装置を提供する。
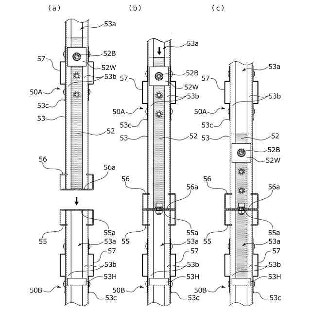
【解決手段】走行レール3に沿って移動可能に吊支された間仕切パネル2と、間仕切パネル2を収納するための格納庫4と、間仕切パネル2が通過する開口部Eを開閉する扉5と、を備えた移動間仕切装置1であって、扉5は、上下方向に配置される複数の分割体50A~50Cと、上下に隣接する一対の分割体50A,50Bにおける中空の縦杆53,53に挿入されこれらの接続部分を補強する芯材52と、を有している。
【選択図】図6
特許請求の範囲
【請求項1】
走行レールに沿って移動可能に吊支された間仕切パネルと、前記間仕切パネルを収納するための格納庫と、前記間仕切パネルが通過する開口部を開閉する扉と、を備えた移動間仕切装置であって、
前記扉は、上下方向に配置される複数の分割体と、上下に隣接する一対の分割体における中空の縦杆に挿入されこれらの接続部分を補強する芯材と、を有している移動間仕切装置。
続きを表示(約 680 文字)
【請求項2】
前記芯材は左右両側端の前記縦杆に設けられている請求項1に記載の移動間仕切装置。
【請求項3】
前記芯材は、少なくとも一方の前記縦杆に収容可能となっている請求項1に記載の移動間仕切装置。
【請求項4】
前記上下に隣接する一対の分割体は、上側の分割体における下端に設けられたコ字状の横杆と、下側の分割体における上端に設けられたコ字状の横杆の背面同士が連結されている請求項1に記載の移動間仕切装置。
【請求項5】
前記上下に隣接する一対の分割体は、上側の分割体における前記縦杆が当該分割体の下端に設けられた横杆の背面と面一またはより上側に設けられ、下側の分割体における前記縦杆が当該分割体の上端に設けられた横杆の背面と面一またはより下側に設けられている請求項1ないし4のいずれかに記載の移動間仕切装置。
【請求項6】
前記移動間仕切装置は、前記扉の上部を垂直軸回りに回動可能に吊支する吊支手段と、前記扉の下部を軸支する軸支手段と、を有している請求項1に記載の移動間仕切装置。
【請求項7】
前記吊持手段は、天井側に設けられた支持部材と、前記支持部材に支持可能かつ回動可能に貫通されて前記扉の上部に取り付けられた吊りボルトと、を有している請求項6に記載の移動間仕切装置。
【請求項8】
前記軸支手段は、床側に設けられた軸受部材と、前記軸受部材に回動可能に挿入されて前記扉の下部に取り付けられた軸部材と、を有している請求項6または7に記載の移動間仕切装置。
発明の詳細な説明
【技術分野】
【0001】
本発明は、オフィス、展示ホール、会議場等を所定の区画に仕切って使用するための移動間仕切装置に関する。
続きを表示(約 1,500 文字)
【背景技術】
【0002】
移動間仕切装置は、例えば天井に設けられる走行レールに吊支され、該走行レールに沿って移動可能な間仕切パネルを幅方向に直列に連接して壁面を形成し、オフィス、展示ホール、会議場等の室内空間を所定の区画に仕切る用途で利用されている。このような移動間仕切装置には、間仕切りとして使用しない間仕切パネルを収納するための格納庫が構成されているものも知られている。
【0003】
例えば、特許文献1に示される移動間仕切装置は、天井レールと、移動壁(間仕切パネル)と、収納部と、扉を備えている。移動壁は、天井レールに沿って移動可能に天井レールに吊支されている。収納部は、使用されない移動壁を収容するための空間であり、室内壁に設けられた開口部を通じて室内空間と繋がっている。また、移動壁は、室内空間から収容部内に引き込まれた天井レールに沿って移動可能となっている。扉は、蝶持機構により室内壁に垂直軸回りに回動可能に室内壁に固定されており、開口部を開閉可能となっている。
【先行技術文献】
【特許文献】
【0004】
特許第2871569号(第3頁、第2図)
【発明の概要】
【発明が解決しようとする課題】
【0005】
特許文献1のような移動間仕切装置にあっては、蝶持機構の回動軸回りに扉を回動させることができるため、開口部を閉塞している状態において扉と室内壁を面一に配置することができる
【0006】
ところで、移動間仕切装置は大型な面状構造であるため、扉を組み立てた状態で搬送することは車両、運搬経路、建物の間口などの観点から困難である。そこで、設置場所に各資材を搬入して組み立てることが行われているが、設置場所への資材や器材の搬入・養生などが必要となるため、設置場所での作業が煩雑となっていた。
【0007】
本発明は、このような問題点に着目してなされたもので、設置場所での作業が簡便な移動間仕切装置を提供することを目的とする。
【課題を解決するための手段】
【0008】
前記課題を解決するために、本発明の移動間仕切装置は、
走行レールに沿って移動可能に吊支された間仕切パネルと、前記間仕切パネルを収納するための格納庫と、前記間仕切パネルが通過する開口部を開閉する扉と、を備えた移動間仕切装置であって、
前記扉は、上下方向に配置される複数の分割体と、上下に隣接する一対の分割体における中空の縦杆に挿入されこれらの接続部分を補強する芯材と、を有していることを特徴としている。
この特徴によれば、扉の製造、搬送、組立が容易となり、設置場所での作業が簡便である。また、上下に隣接する一対の分割体における中空の縦杆同士の接続部分を芯材によって補強することができるため、一つの分割体を操作する力を他の分割体にも効率よく伝達することができる。
【0009】
前記芯材は左右両側端の前記縦杆に設けられていることを特徴としている。
この特徴によれば、上下に隣接する一対の分割体における中空の縦杆同士の接続部分における構造強度を確保しつつ、上下に連結された分割体の連結部分により上側の分割体と下側の分割体との捩れ方向に作用する力や扉の厚み方向に作用する力を逃がすことが可能となる。
【0010】
前記芯材は、少なくとも一方の前記縦杆に収容可能となっていることを特徴としている。
この特徴によれば、扉の組み立てに必要なスペースを狭くすることができる。
(【0011】以降は省略されています)
この特許をJ-PlatPat(特許庁公式サイト)で参照する
関連特許
コクヨ株式会社
ブース
6日前
個人
物品保管箱
2か月前
個人
防犯用ドア装置
2か月前
個人
二重ロック機能付小物入れ
2か月前
個人
ポスト機能付き手提げ金庫
1か月前
三協立山株式会社
開口部装置
1か月前
株式会社アルファ
電気錠
2か月前
個人
無人貸金庫システム
25日前
積水ハウス株式会社
引き戸
22日前
株式会社榮伸
カバン蓋の係止装置
2か月前
有限会社シティング
引き戸
1か月前
積水ハウス株式会社
引き戸
1か月前
株式会社ベスト
扉及び個室
22日前
株式会社ベスト
開き扉の開閉装置
2か月前
ミネベアショウワ株式会社
ドア装置
2か月前
ミネベアショウワ株式会社
ドア装置
2か月前
スズキ株式会社
車両用乗員保護装置
1か月前
コイト電工株式会社
蝶番の取付構造
11日前
株式会社LIXIL
建具
2か月前
株式会社LIXIL
建具
22日前
株式会社ユニオン
ドアハンドル
26日前
株式会社LIXIL
建具
2か月前
株式会社アイシン
ドア支持装置
11日前
日本プラスト株式会社
ロック装置
1か月前
株式会社アイシン
車両用ドア装置
19日前
株式会社ナガエ
宅配ボックス用の錠装置
1か月前
株式会社アイシン
車両用ドア装置
19日前
株式会社アイシン
車両用ドア装置
11日前
トヨタ自動車株式会社
警報制御装置
1か月前
東亜建硝株式会社
建物の入退室管理システム
2か月前
株式会社LIXIL
シリンダ錠
14日前
トヨタ自動車株式会社
車両の制御装置
1か月前
大和ハウス工業株式会社
間仕切り機構
22日前
トヨタ自動車株式会社
車両の制御装置
1か月前
株式会社アイシン
車両用開閉体制御装置
1か月前
鹿島建設株式会社
グレーチング用ドアストッパ
2か月前
続きを見る
他の特許を見る